WC Wood
Chest Freezer

Model #C05WA Official WC Wood tool chest

Here are the diagrams and repair parts for WC Wood C05WA tool chest, as well as links to manuals and error code tables, if available.

There are a couple of ways to find the part or diagram you need:

  • Click a diagram to see the parts shown on that diagram.
  • In the search box below, enter all or part of the part number or the part’s name.

Not all parts are shown on the diagrams—those parts are labeled NI, for “not illustrated”.

We encourage you to save the model to your profile, so it’s easy to access parts and manuals for your appliance whenever you log in.

For DIY troubleshooting advice and repair guides, visit our repair help section.

Owner’s manualError Codes

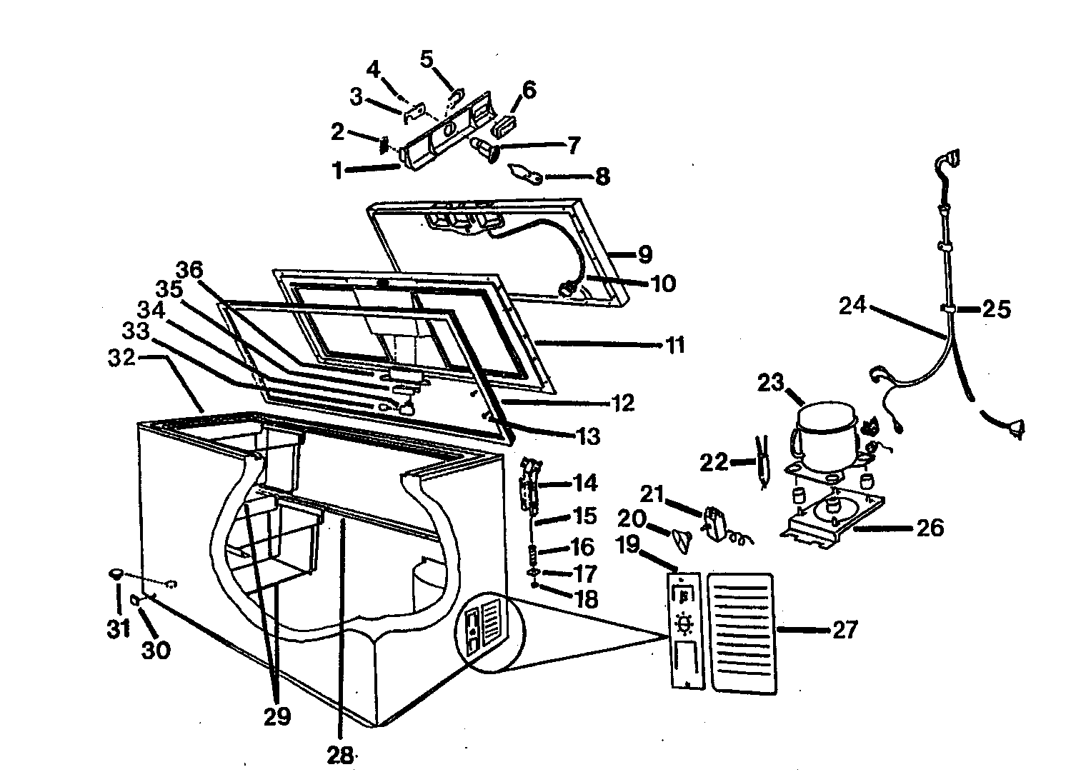
Showing 10 of 34 parts

Drier#22

Cabinet parts Diagram

Drier

Part #3-34960-001

The manufacturer no longer makes this part, and there's no substitute part

Cover#23D

Cabinet parts Diagram

Cover

Part #3-35171-001

The manufacturer no longer makes this part, and there's no substitute part

Clamp#25

Cabinet parts Diagram

Clamp

Part #3-25095-021

The manufacturer no longer makes this part, and there's no substitute part

Clip#2

Cabinet parts Diagram

Clip

Part #3-24059-024

The manufacturer no longer makes this part, and there's no substitute part

Thermostat#21

Cabinet parts Diagram

Thermostat

Part #4-35626-001

The manufacturer no longer makes this part, and there's no substitute part

Protector#23B

Cabinet parts Diagram

Protector

Part #2-34286-020

The manufacturer no longer makes this part, and there's no substitute part

Hinge Kit#14

Cabinet parts Diagram

Hinge kit

Part #0-90008-007

The manufacturer no longer makes this part, and there's no substitute part

Access Pan#27

Cabinet parts Diagram

Access pan

Part #4-35099-001

The manufacturer no longer makes this part, and there's no substitute part

Compressor#23

Cabinet parts Diagram

Compressor

Part #0-90006-062

The manufacturer no longer makes this part, and there's no substitute part

Bracket#26A

Cabinet parts Diagram

Bracket

Part #3-81556-001

The manufacturer no longer makes this part, and there's no substitute part

Symptoms common to all freestanding freezers

Choose a symptom to see related freezer repairs.

Main causes: burned out light bulb, bad door or lid switch, faulty LED light board, wiring failure, control system failure
Main causes: lack of power, bad compressor, refrigerant leak, bad thermistor, defrost system failure, dirty condenser coils, control failure
Main causes: leaky door or lid gasket, broken defrost heater, bad defrost bi-metal thermostat, defrost control failure, faulty compressor
Main causes: compressor failure, no refrigerant, faulty sensor, control failure, broken defrost heater, bad defrost bi-metal thermostat
Main causes: excessive frost, bad defrost heater, bad defrost bi-metal, control system failure, low refrigerant charge, compressor problems
Main causes: damaged door or lid gasket, cracked cabinet liner, bad defrost bi-metal thermostat, broken defrost heater, bad defrost timer
Main causes: lack of power, control system failure, broken compressor start relay, locked up compressor, compressor motor failure
Main causes: dirty condenser coils, condenser fan failure, dirty bottom front grill, leaky door or lid gasket

Repair guides for chest freezers

February 20, 2015
Lyle Weischwill
How to replace a freezer compressor start relay

The compressor start relay starts the compressor. If the compressor won’t start, follow these steps to replace a defective compressor start relay.

Repair difficulty
Time required
 15 minutes or less
How to replace a freezer temperature control thermostat

The cold control thermostat regulates the freezer temperature. A defective cold control thermostat can prevent the compressor from cycling on or off. Follow these steps to replace a defective cold control thermostat.

Repair difficulty
Time required
 15 minutes or less
February 1, 2015
Lyle Weischwill
How to replace a freezer lid gasket

The lid gasket prevents air and moisture from entering the freezer when the lid is closed. Follow these steps to replace a torn or damaged lid gasket.

Repair difficulty
Time required
 30 minutes or less

Articles and videos common to all freestanding freezers

Use the advice and tips in these articles and videos to get the most out of your freezer.

August 19, 2022

Are DIY appliance repairs safe?

Lyle Weischwill

Find out how to stay safe when repairing your appliances.

August 17, 2021

How to read a wiring schematic video

Lyle Weischwill

Learn how to decipher symbols so you can buy the right part for your problem.

December 15, 2014

5 tips for finding food in the freezer faster

Kim Hillegass

Don't get chapped hands digging through the icy depths. Get organized! Here's how.