Craftsman
Dump Cart Attachment

Model #610243540 Official Craftsman 10 cubic foot hauling cart

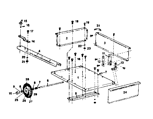
Here are the diagrams and repair parts for Craftsman 610243540 10 cubic foot hauling cart, as well as links to manuals and error code tables, if available.

There are a couple of ways to find the part or diagram you need:

  • Click a diagram to see the parts shown on that diagram.
  • In the search box below, enter all or part of the part number or the part’s name.

Not all parts are shown on the diagrams—those parts are labeled NI, for “not illustrated”.

We encourage you to save the model to your profile, so it’s easy to access parts and manuals for your appliance whenever you log in.

For DIY troubleshooting advice and repair guides, visit our repair help section.

Showing 10 of 30 parts

Lawn & Garden Equipment Spacer#7

Replacement parts Diagram

Spacer

Part #CS30487
Replaced by #300126
?
Manufacturer substitution
This part replaces CS30487. Substitute parts can look different from the original.
This item is not returnable
In Stock
$2.49 | 
29% OFF 
Phone Price: $3.49
Lawn Tractor Tow Bar Attachment Hitch Bracket#14

Replacement parts Diagram

Hitch plate

Part #S30489
Replaced by #6000612-B2
?
Manufacturer substitution
This part replaces S30489. Substitute parts can look different from the original.
In Stock
$13.96
Cotter Pin#9

Replacement parts Diagram

Cotter pin

Part #S304815

The manufacturer no longer makes this part, and there's no substitute part

Lawn Tractor Lawn Cart Attachment Wheel Assembly, 4.8 x 8-in (replaces 300011, 6002393)#26

Replacement parts Diagram

Wheel

Part #S253723
Replaced by #6002415
?
Manufacturer substitution
This part replaces S253723. Substitute parts can look different from the original.
In Stock
$37.89 | 
21% OFF 
MSRP: $48.00
Safety Pin#16

Replacement parts Diagram

Safety pin

Part #S30488

The manufacturer no longer makes this part, and there's no substitute part

Nut#23

Replacement parts Diagram

Nut

Part #STD541025

The manufacturer no longer makes this part, and there's no substitute part

Bolt#17

Replacement parts Diagram

Bolt

Part #S30407

The manufacturer no longer makes this part, and there's no substitute part

Lawn Tractor Dump Cart Attachment Axle Washer#8

Replacement parts Diagram

Washer

Part #CS30488
Replaced by #300072
?
Manufacturer substitution
This part replaces CS30488. Substitute parts can look different from the original.
This item is not returnable
In Stock
$3.20 | 
24% OFF 
Phone Price: $4.20
Lawn Tractor Lawn Cart Attachment Wheel Assembly, 4.8 x 8-in (replaces 300011, 6002393)#27

Replacement parts Diagram

Tire

Part #S253711
Replaced by #6002415
?
Manufacturer substitution
This part replaces S253711. Substitute parts can look different from the original.
In Stock
$37.89 | 
21% OFF 
MSRP: $48.00
Bolt#19

Replacement parts Diagram

Bolt

Part #CS304818

The manufacturer no longer makes this part, and there's no substitute part