Craftsman
Dump Cart Attachment

Model #61026351 Official Craftsman 9.1 cubic foot hauling dump cart

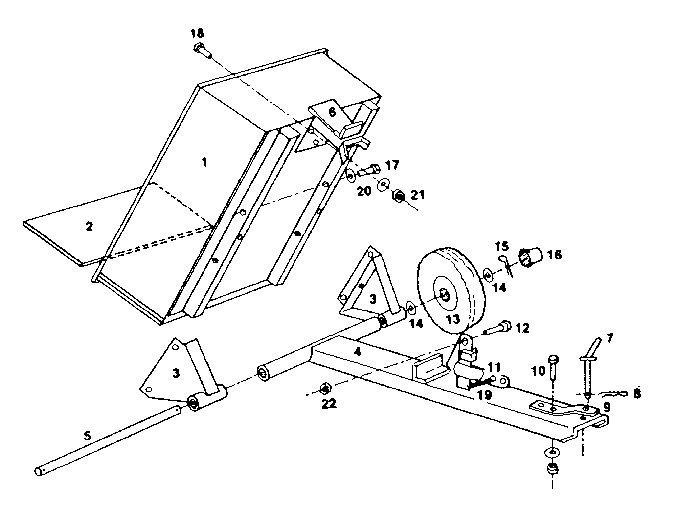
Here are the diagrams and repair parts for Craftsman 61026351 9.1 cubic foot hauling dump cart, as well as links to manuals and error code tables, if available.

There are a couple of ways to find the part or diagram you need:

  • Click a diagram to see the parts shown on that diagram.
  • In the search box below, enter all or part of the part number or the part’s name.

Not all parts are shown on the diagrams—those parts are labeled NI, for “not illustrated”.

We encourage you to save the model to your profile, so it’s easy to access parts and manuals for your appliance whenever you log in.

For DIY troubleshooting advice and repair guides, visit our repair help section.

Showing 10 of 23 parts

Lawn Tractor Tow Bar Attachment Hitch Bracket#9

Sears hauling dump cart Diagram

Hitch plate

Part #S30489
Replaced by #6000612-B2
?
Manufacturer substitution
This part replaces S30489. Substitute parts can look different from the original.
In Stock
$13.96
Lawn & Garden Equipment Hex Bolt#17

Sears hauling dump cart Diagram

Bolt

Part #STD523707
Replaced by #300052
?
Manufacturer substitution
This part replaces STD523707. Substitute parts can look different from the original.
This item is not returnable
In Stock
$2.18
Nut#22

Sears hauling dump cart Diagram

Nut

Part #STD541425

The manufacturer no longer makes this part, and there's no substitute part

Washer#14

Sears hauling dump cart Diagram

Washer

Part #S304814

The manufacturer no longer makes this part, and there's no substitute part

Bolt#12

Sears hauling dump cart Diagram

Bolt

Part #STD522507

The manufacturer no longer makes this part, and there's no substitute part

Washer#20

Sears hauling dump cart Diagram

Washer

Part #STD551137

The manufacturer no longer makes this part, and there's no substitute part

Cotter Pin#15

Sears hauling dump cart Diagram

Cotter pin

Part #S304815

The manufacturer no longer makes this part, and there's no substitute part

Lawn Tractor Lawn Cart Attachment Hitch Pin#7

Sears hauling dump cart Diagram

Draw pin

Part #S30487
Replaced by #6000533-ZC
?
Manufacturer substitution
This part replaces S30487. Substitute parts can look different from the original.
This item is not returnable
In Stock
$4.09 | 
20% OFF 
Phone Price: $5.09
Lawn Tractor Lawn Cart Attachment Wheel Assembly, 4.8 x 8-in (replaces 300011, 6002393)#13

Sears hauling dump cart Diagram

Wheel

Part #S304813
Replaced by #6002415
?
Manufacturer substitution
This part replaces S304813. Substitute parts can look different from the original.
In Stock
$37.89 | 
21% OFF 
MSRP: $48.00
Safety Pin#8

Sears hauling dump cart Diagram

Safety pin

Part #S30488

The manufacturer no longer makes this part, and there's no substitute part