Goodman
Central Air Conditioner

Model #CLQ36-1B Official Goodman split-system condensing unit

Here are the diagrams and repair parts for Goodman CLQ36-1B split-system condensing unit, as well as links to manuals and error code tables, if available.

There are a couple of ways to find the part or diagram you need:

  • Click a diagram to see the parts shown on that diagram.
  • In the search box below, enter all or part of the part number or the part’s name.

Not all parts are shown on the diagrams—those parts are labeled NI, for “not illustrated”.

We encourage you to save the model to your profile, so it’s easy to access parts and manuals for your appliance whenever you log in.

For DIY troubleshooting advice and repair guides, visit our repair help section.

Owner’s manual

Showing 10 of 25 parts

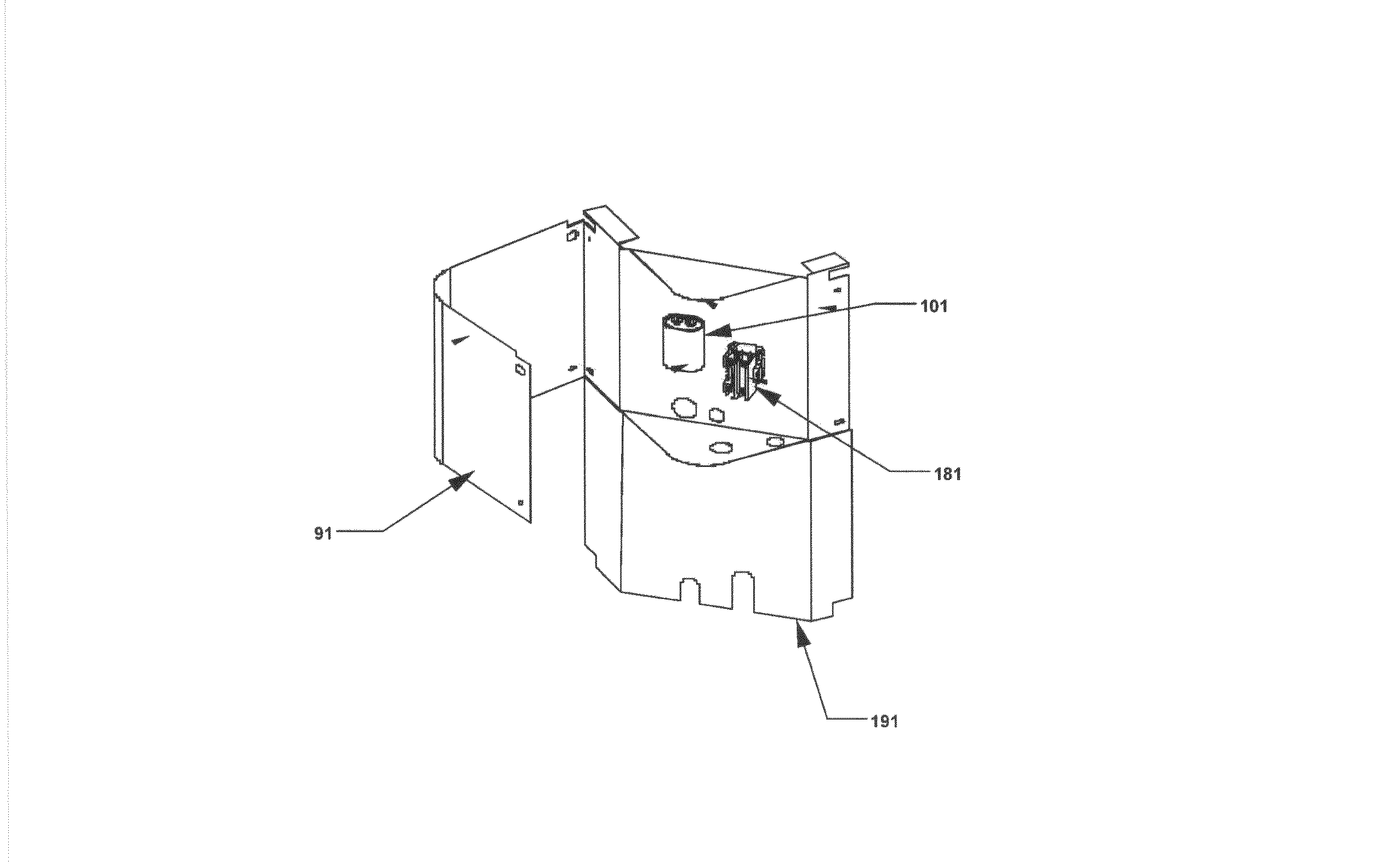
Central Air Conditioner Contactor (replaces CONT1P025024VS, CONT2P025024V)#181

Control panel Diagram

Contact

Part #B1360321
Replaced by #CONT2P030024V5
?
Manufacturer substitution
This part replaces B1360321. Substitute parts can look different from the original.
In Stock
$59.69 | 
8% OFF 
Phone Price: $64.69
Central Air Conditioner Dual-Motor Run Capacitor (replaces B9457-7300, CAP050450370RSS)#101

Control panel Diagram

Capacitor

Part #B94577200
Replaced by #CAP050450440RTS
?
Manufacturer substitution
This part replaces B94577200. Substitute parts can look different from the original.
In Stock
$66.39 | 
7% OFF 
Phone Price: $71.39
Base Valve#81

Chassis Diagram

Base

Part #B12825171
Replaced by #0151R00078S
?
Manufacturer substitution
This part replaces B12825171. Substitute parts can look different from the original.
In Stock
$11.49
Screw#NI

Chassis Diagram

Screw

Part #B1393530
This item is not returnable
In Stock
$2.16
Cover#91

Control panel Diagram

Cover

Part #1787624PDG
In Stock
$20.31
GROMMET-CO#141

Chassis Diagram

Grommet-co

Part #B1339533
This item is not returnable
In Stock
$2.49
Strap#NI

Chassis Diagram

Strap

Part #1284835
This item is not returnable
In Stock
$2.16
Central Air Conditioner Condenser Assembly, 20 x 84-in#21

Chassis Diagram

In Stock
$718.49
Central Air Conditioner Condenser Fan Blade#121

Chassis Diagram

In Stock
$118.09 | 
8% OFF 
Phone Price: $128.09
Nameplate#NI

Chassis Diagram

Nameplate

Part #B4400000
This item is not returnable
In Stock
$2.16

Articles and videos common to all central air conditioners

October 24, 2022

Easy DIY appliance repairs that anyone can do

Lyle Weischwill

Get advice on simple DIY fixes for appliances that you can safely do on your own.

August 5, 2022

Introducing new technical repair content that we’re developing for the Sears Technical Institute

Lyle Weischwill

Learn about Sears Technical Institute and the advanced technical content being developed for aspiring appliance techs.

June 29, 2022

Top questions about Sears and Sears PartsDirect

Lyle Weischwill

Get answers to frequently asked questions about Sears and Sears PartsDirect.