Goodman
Air Conditioner

Model #CKL60-1L Official Goodman split-system outdoor unit

Here are the diagrams and repair parts for Goodman CKL60-1L split-system outdoor unit, as well as links to manuals and error code tables, if available.

There are a couple of ways to find the part or diagram you need:

  • Click a diagram to see the parts shown on that diagram.
  • In the search box below, enter all or part of the part number or the part’s name.

Not all parts are shown on the diagrams—those parts are labeled NI, for “not illustrated”.

We encourage you to save the model to your profile, so it’s easy to access parts and manuals for your appliance whenever you log in.

For DIY troubleshooting advice and repair guides, visit our repair help section.

Owner’s manual

Showing 10 of 20 parts

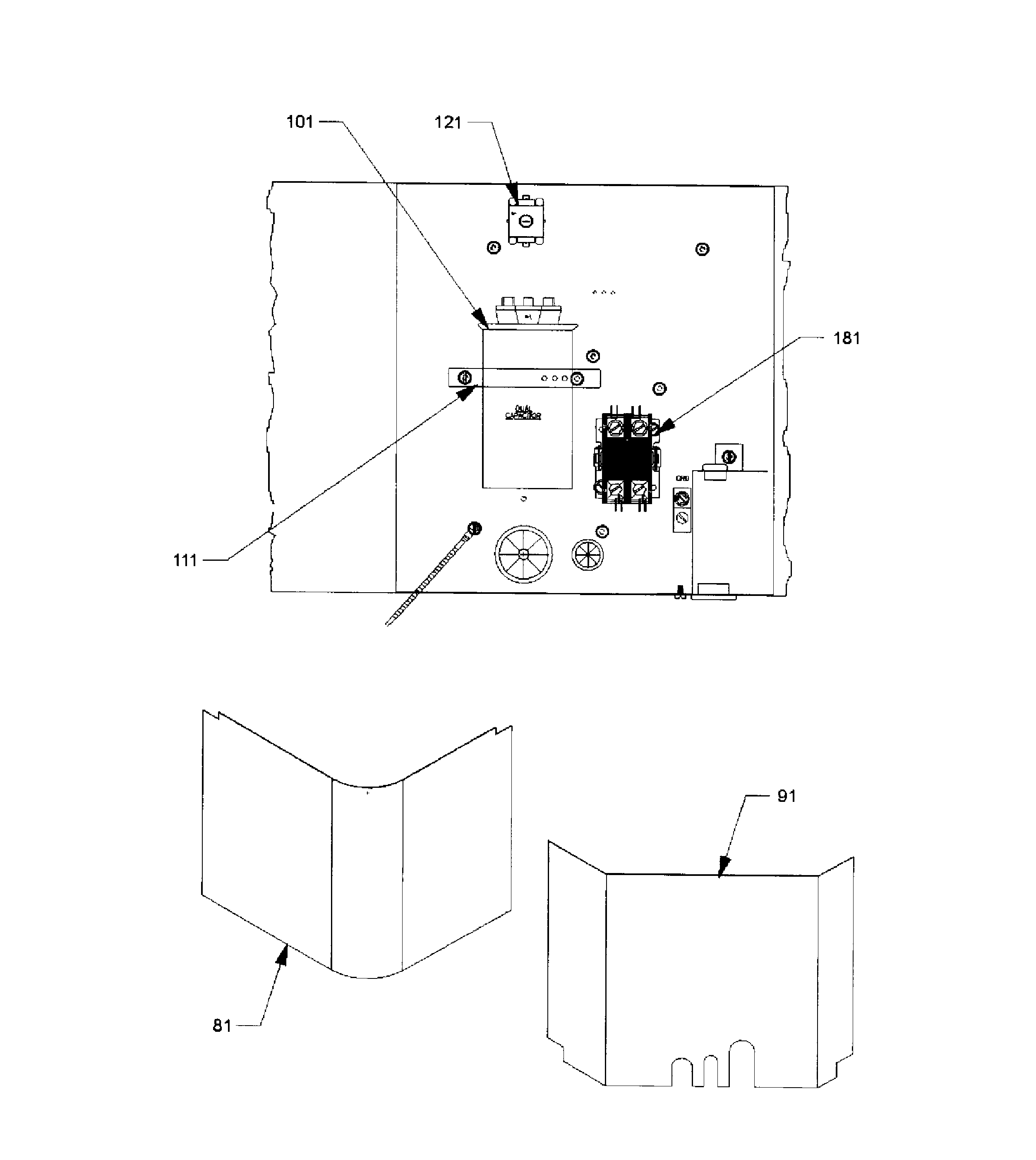
Panel#91

Cover & control box Diagram

Panel

Part #1787709PDG
In Stock
$15.99
Strap#111

Cover & control box Diagram

Strap

Part #1284835
This item is not returnable
In Stock
$2.16
GROMMET-CO#NI

Cover & control box Diagram

Grommet-co

Part #B1339533
This item is not returnable
In Stock
$2.49
Cover#81

Cover & control box Diagram

Cover

Part #1787624PDG
In Stock
$20.31
Bottom Pan#71

Compressor & tubing Diagram

Bottom pan

Part #1787212PDG
In Stock
$48.99
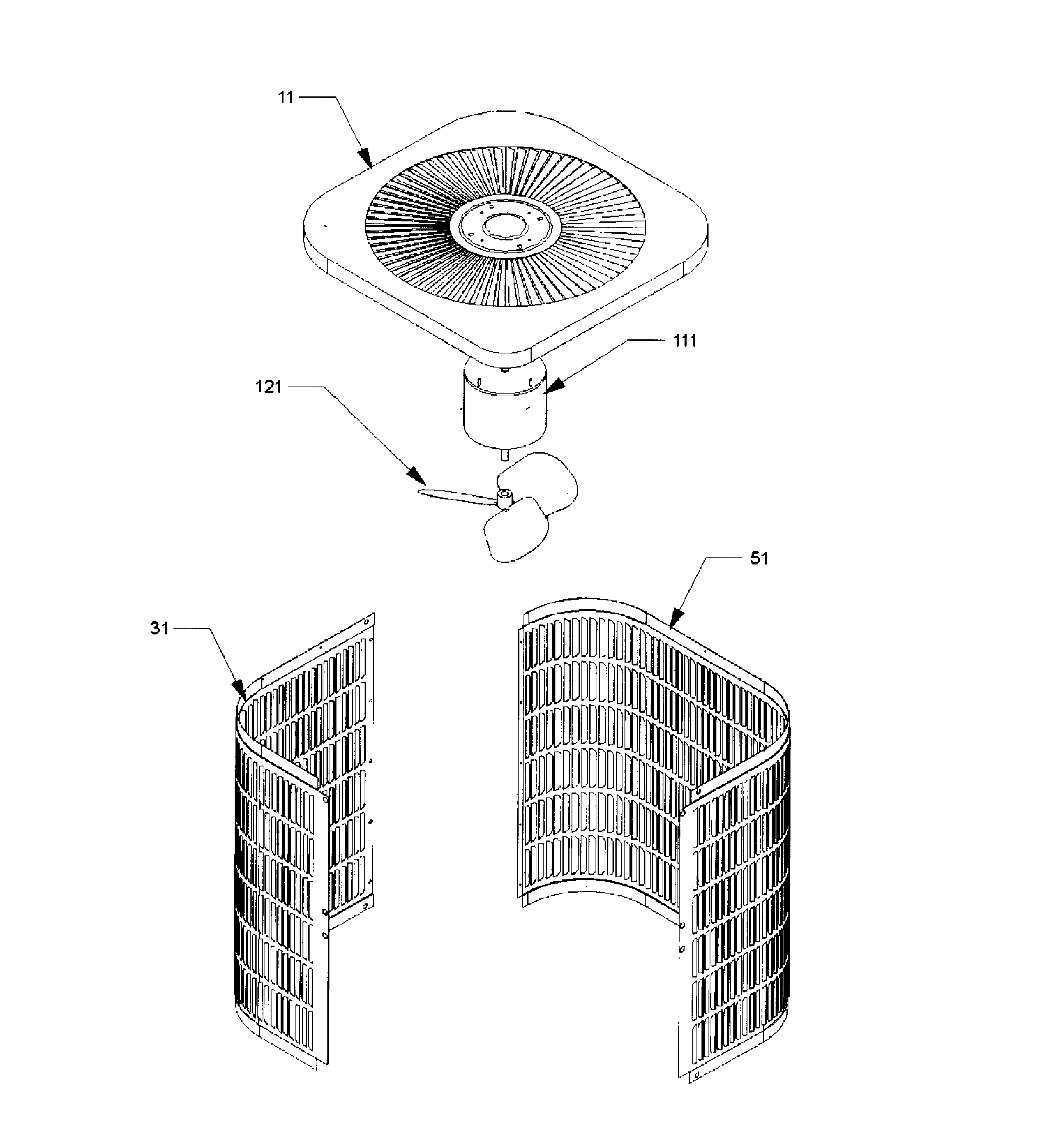
Panel#31

Top & panels Diagram

Panel

Part #1259561PDG
In Stock
$40.49
Contactor#181

Cover & control box Diagram

Contactor

Part #CONT3P025024VS
In Stock
$38.49
Central Air Conditioner Condenser Fan Blade#121

Top & panels Diagram

In Stock
$115.69 | 
8% OFF 
Phone Price: $125.69
Condensing Unit Service Valve#161

Compressor & tubing Diagram

In Stock
$39.49
Central Air Conditioner Condenser Top Cover#11

Top & panels Diagram

In Stock
$122.19 | 
8% OFF 
Phone Price: $132.19