Kenmore
Tools & Attachment

Model #1165416181 Official Kenmore powermate vacuum

Here are the diagrams and repair parts for Kenmore 1165416181 powermate vacuum, as well as links to manuals and error code tables, if available.

There are a couple of ways to find the part or diagram you need:

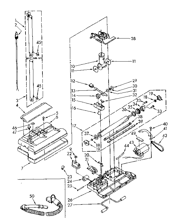
  • Click a diagram to see the parts shown on that diagram.
  • In the search box below, enter all or part of the part number or the part’s name.

Not all parts are shown on the diagrams—those parts are labeled NI, for “not illustrated”.

We encourage you to save the model to your profile, so it’s easy to access parts and manuals for your appliance whenever you log in.

For DIY troubleshooting advice and repair guides, visit our repair help section.

    Showing 10 of 49 parts

    Vacuum Beater Bar Belt#42

    Power-mate parts Diagram

    Belt

    Part #742024
    Replaced by #KS742024
    ?
    Manufacturer substitution
    This part replaces 742024. Substitute parts can look different from the original.
    BEST SELLER
    This item is not returnable
    In Stock
    $5.49 | 
    15% OFF 
    Phone Price: $6.49
    Vacuum PowerMate Front Axle#27

    Power-mate parts Diagram

    Axle

    Part #747116
    Replaced by #KS744029
    ?
    Manufacturer substitution
    This part replaces 747116. Substitute parts can look different from the original.
    BEST SELLER
    This item is not returnable
    In Stock
    $7.79 | 
    11% OFF 
    Phone Price: $8.79
    Screw#40

    Power-mate parts Diagram

    Screw

    Part #681297

    The manufacturer no longer makes this part, and there's no substitute part

    Vacuum PowerMate Swivel#10

    Power-mate parts Diagram

    Swivel

    Part #747092
    Replaced by #KS4155049
    ?
    Manufacturer substitution
    This part replaces 747092. Substitute parts can look different from the original.
    This item is not returnable
    In Stock
    $16.19 | 
    11% OFF 
    Phone Price: $18.19
    Gasket#9

    Power-mate parts Diagram

    Gasket

    Part #742968
    This item is not returnable
    In Stock
    $2.49
    Vacuum Twist-On Wire Connector#23

    Power-mate parts Diagram

    Nut

    Part #596564
    Replaced by #KS4154460
    ?
    Manufacturer substitution
    This part replaces 596564. Substitute parts can look different from the original.
    This item is not returnable
    In Stock
    $2.49
    INDICATORCAM#31

    Power-mate parts Diagram

    Catch

    Part #722955
    Replaced by #KS588543
    ?
    Manufacturer substitution
    This part replaces 722955. Substitute parts can look different from the original.
    In Stock
    $9.00
    Vacuum PowerMate Swivel Seal#11

    Power-mate parts Diagram

    Swivel seal (white)

    Part #742019
    Replaced by #KS742019
    ?
    Manufacturer substitution
    This part replaces 742019. Substitute parts can look different from the original.
    This item is not returnable
    In Stock
    $7.69 | 
    12% OFF 
    Phone Price: $8.69
    Vacuum Handle Release Pedal#21

    Power-mate parts Diagram

    Release

    Part #4148391
    Replaced by #KC47AGJ3V06
    ?
    Manufacturer substitution
    This part replaces 4148391. Substitute parts can look different from the original.
    This item is not returnable
    In Stock
    $4.79 | 
    17% OFF 
    Phone Price: $5.79
    INDICATORCAM#14

    Power-mate parts Diagram

    Indicator cam

    Part #747291
    Replaced by #KS588543
    ?
    Manufacturer substitution
    This part replaces 747291. Substitute parts can look different from the original.
    In Stock
    $9.00