Sony
DVD Player

Model #BDV-N7100W Official Sony dvd home theater system

Here are the diagrams and repair parts for Sony BDV-N7100W dvd home theater system, as well as links to manuals and error code tables, if available.

There are a couple of ways to find the part or diagram you need:

  • Click a diagram to see the parts shown on that diagram.
  • In the search box below, enter all or part of the part number or the part’s name.

Not all parts are shown on the diagrams—those parts are labeled NI, for “not illustrated”.

We encourage you to save the model to your profile, so it’s easy to access parts and manuals for your appliance whenever you log in.

For DIY troubleshooting advice and repair guides, visit our repair help section.

Owner’s manual

Showing 10 of 111 parts

Home Theater System FM Antenna#NI

Overall assy Diagram

Home theater system fm antenna

Part #179318441

The manufacturer no longer makes this part, and there's no substitute part

Speaker#51

Speaker Diagram

Speaker

Part #A1904364A

The manufacturer no longer makes this part, and there's no substitute part

Pcb-fl#254

Shield Diagram

Pcb-fl

Part #A1903949A

The manufacturer no longer makes this part, and there's no substitute part

Integrated Circuit#NI

Cabinet parts Diagram

Integrated circuit

Part #670634701

The manufacturer no longer makes this part, and there's no substitute part

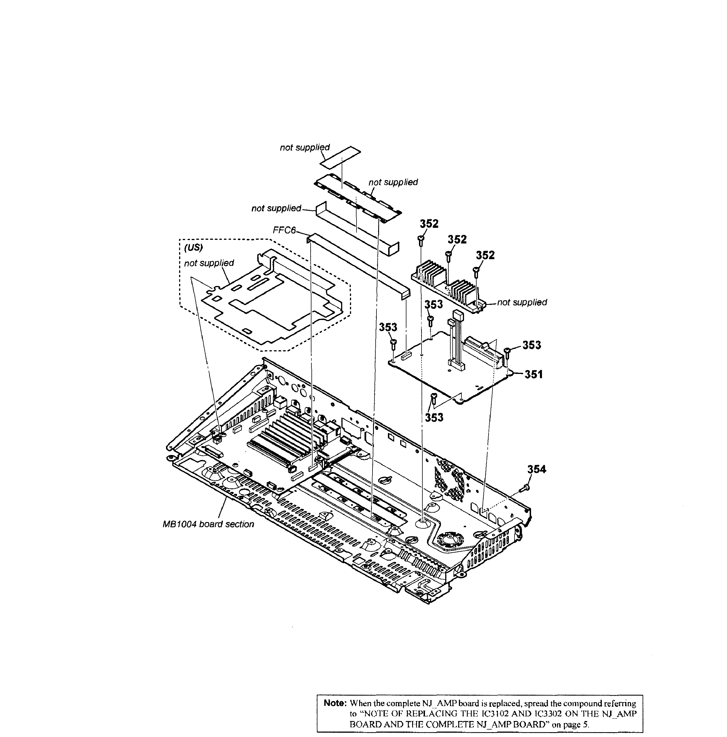
PCB#304

Switching regulator Diagram

Pcb

Part #A1903940A

The manufacturer no longer makes this part, and there's no substitute part

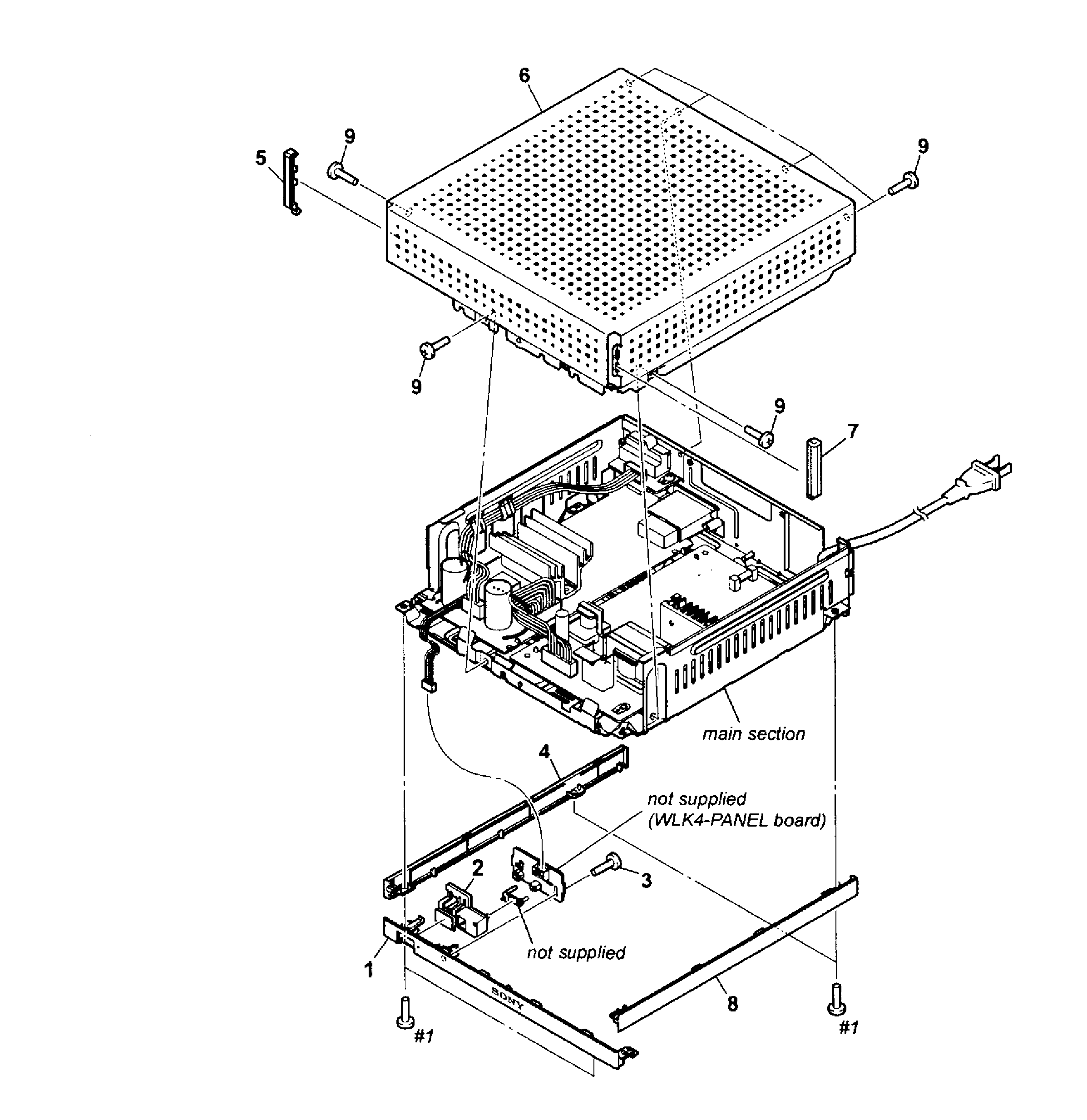
Panel#4

Cabinet parts Diagram

Panel

Part #416102511

The manufacturer no longer makes this part, and there's no substitute part

Ic Tps5422#NI

Overall assy Diagram

Ic tps5422

Part #671493501

The manufacturer no longer makes this part, and there's no substitute part

Remote Control#NI

Overall assy Diagram

Remote control

Part #149196711

The manufacturer no longer makes this part, and there's no substitute part

Speaker#151

Speaker Diagram

Speaker

Part #A1904376A

The manufacturer no longer makes this part, and there's no substitute part

Screw

See All Related Diagrams

Screw

Part #234511501

The manufacturer no longer makes this part, and there's no substitute part