Ero
Camping

Model #19510 Official Ero 10 x 10' screenhouse

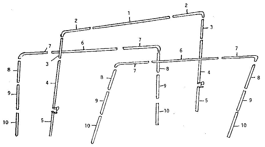
Here are the diagrams and repair parts for Ero 19510 10 x 10' screenhouse, as well as links to manuals and error code tables, if available.

There are a couple of ways to find the part or diagram you need:

  • Click a diagram to see the parts shown on that diagram.
  • In the search box below, enter all or part of the part number or the part’s name.

Not all parts are shown on the diagrams—those parts are labeled NI, for “not illustrated”.

We encourage you to save the model to your profile, so it’s easy to access parts and manuals for your appliance whenever you log in.

For DIY troubleshooting advice and repair guides, visit our repair help section.

Showing 10 of 14 parts

Corner Ridge#7

Frame assembly Diagram

Corner ridge

Part #19510-7

The manufacturer no longer makes this part, and there's no substitute part

Center Ridge#1

Frame assembly Diagram

Center ridge

Part #19510-1

The manufacturer no longer makes this part, and there's no substitute part

Upright Base#5

Frame assembly Diagram

Upright base

Part #19510-5

The manufacturer no longer makes this part, and there's no substitute part

Canopy

#NI

All parts Diagram

Canopy

Part #N/P

The manufacturer no longer makes this part, and there's no substitute part

Center Ridge#2

Frame assembly Diagram

Center ridge

Part #19510-2

The manufacturer no longer makes this part, and there's no substitute part

Upright Base#10

Frame assembly Diagram

Upright base

Part #19510-10

The manufacturer no longer makes this part, and there's no substitute part

Upright#4

Frame assembly Diagram

Upright

Part #19510-4

The manufacturer no longer makes this part, and there's no substitute part

Owner's Manual

#NI

All parts Diagram

Owner's manual

Part #19510-14

The manufacturer no longer makes this part, and there's no substitute part

Complt Frame

#NI

All parts Diagram

Complt frame

Part #19510-0

The manufacturer no longer makes this part, and there's no substitute part

Upright Top#3

Frame assembly Diagram

Upright top

Part #19510-3

The manufacturer no longer makes this part, and there's no substitute part