Thermador
Downdraft Ventilation System

Model #VTR1000Q Official Thermador vent system

Here are the diagrams and repair parts for Thermador VTR1000Q vent system, as well as links to manuals and error code tables, if available.

There are a couple of ways to find the part or diagram you need:

  • Click a diagram to see the parts shown on that diagram.
  • In the search box below, enter all or part of the part number or the part’s name.

Not all parts are shown on the diagrams—those parts are labeled NI, for “not illustrated”.

We encourage you to save the model to your profile, so it’s easy to access parts and manuals for your appliance whenever you log in.

For DIY troubleshooting advice and repair guides, visit our repair help section.

Showing 10 of 31 parts

Instl-manl

#NI

All parts Diagram

Instl-manl

Part #19-11-800B
This item is not returnable
In Stock
$3.49
Instl-manl

#NI

All parts Diagram

Instl-manl

Part #19-11-788
This item is not returnable
In Stock
$3.49
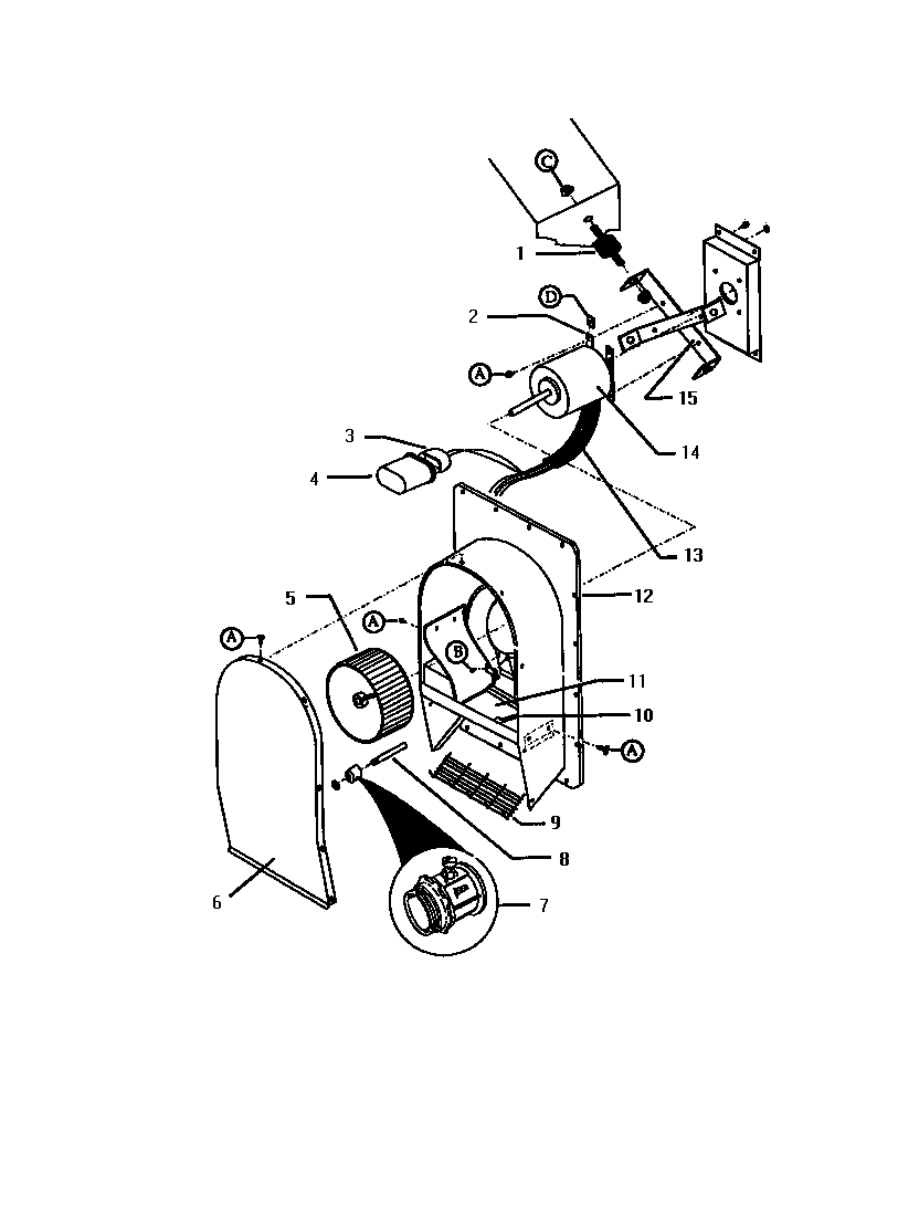
Screw#A

Ventilator Diagram

Screw

Part #14-91-102
Replaced by #00189250
?
Manufacturer substitution
This part replaces 14-91-102. Substitute parts can look different from the original.
In Stock
$7.54
Speed Switch#3

Three-speed control switch Diagram

Speed switch

Part #19-08-620

The manufacturer no longer makes this part, and there's no substitute part

Boot#3

Ventilator Diagram

Boot

Part #19-09-558

The manufacturer no longer makes this part, and there's no substitute part

#8 X 3/8" SCREW (2)#B

Ventilator Diagram

#8 x 3/8" screw (2)

Part #19-19-144

The manufacturer no longer makes this part, and there's no substitute part

#10 HEX NUT (8)#C

Ventilator Diagram

#10 hex nut (8)

Part #50-93-001

The manufacturer no longer makes this part, and there's no substitute part

Conduit#8

Ventilator Diagram

Conduit

Part #19-08-613

The manufacturer no longer makes this part, and there's no substitute part

TOP HOUSING COVER#6

Ventilator Diagram

Top housing cover

Part #19-07-264-02

The manufacturer no longer makes this part, and there's no substitute part

RED WIRE ASSEMBLY#5

Three-speed control switch Diagram

Red wire assembly

Part #19-08-624-01

The manufacturer no longer makes this part, and there's no substitute part

Symptoms common to all downdraft ventilation systems

Choose a symptom to see related downdraft vent repairs.

Main causes: problems with the vent limit switches, up/down activation switch failure
Main causes: fan control switch failure, bad blower fan motor, broken blower wheel, wiring failure
Main causes: lack of electrical power, up/down activation switch failure, bad vent gear motor
Main causes: clogged grease filters, air duct problems, fan motor failure, broken blower wheel
Main causes: electrical power failure, up/down activation switch problems, vent gear motor failure

Repair guides common to all downdraft ventilation systems

These step-by-step repair guides will help you safely fix what’s broken on your downdraft vent.

November 1, 2015
By Lyle Weischwill
How to replace a downdraft vent up/down switch

The up/down switch starts the gear motor to raise and lower the air vent. Replace the up/down switch if defective.

Repair difficulty
Time required
 15 minutes or less
November 1, 2015
By Lyle Weischwill
How to replace a downdraft vent blower motor

The blower motor spins the fan blade that removes smoke and steam from the cooktop area. Replace the blower motor if it doesn't run when activated.

Repair difficulty
Time required
 15 minutes or less
November 1, 2015
By Lyle Weischwill
How to replace a downdraft vent gear motor

The gear motor raises and lowers the air vent when you push the activating switch. Replace the gear motor if defective.

Repair difficulty
Time required
 15 minutes or less

Articles and videos common to all downdraft ventilation systems

Use the advice and tips in these articles to get the most out of your downdraft vent.

August 30, 2022

How to enjoy all the online benefits we offer on our Sears PartsDirect website

By Lyle Weischwill

Learn about all the convenient features on our Sears PartsDirect website that make your parts purchases easier.

August 19, 2022

Are DIY appliance repairs safe?

By Lyle Weischwill

Find out how to stay safe when repairing your appliances.

February 23, 2015

Troubleshooting tips for a rectractable downdraft vent

By Lyle Weischwill

See what to check if you are having a problem with a retractable downdraft vent.