Hoover
Central Vacuum

Model #S5573-011 Official Hoover central vacuum

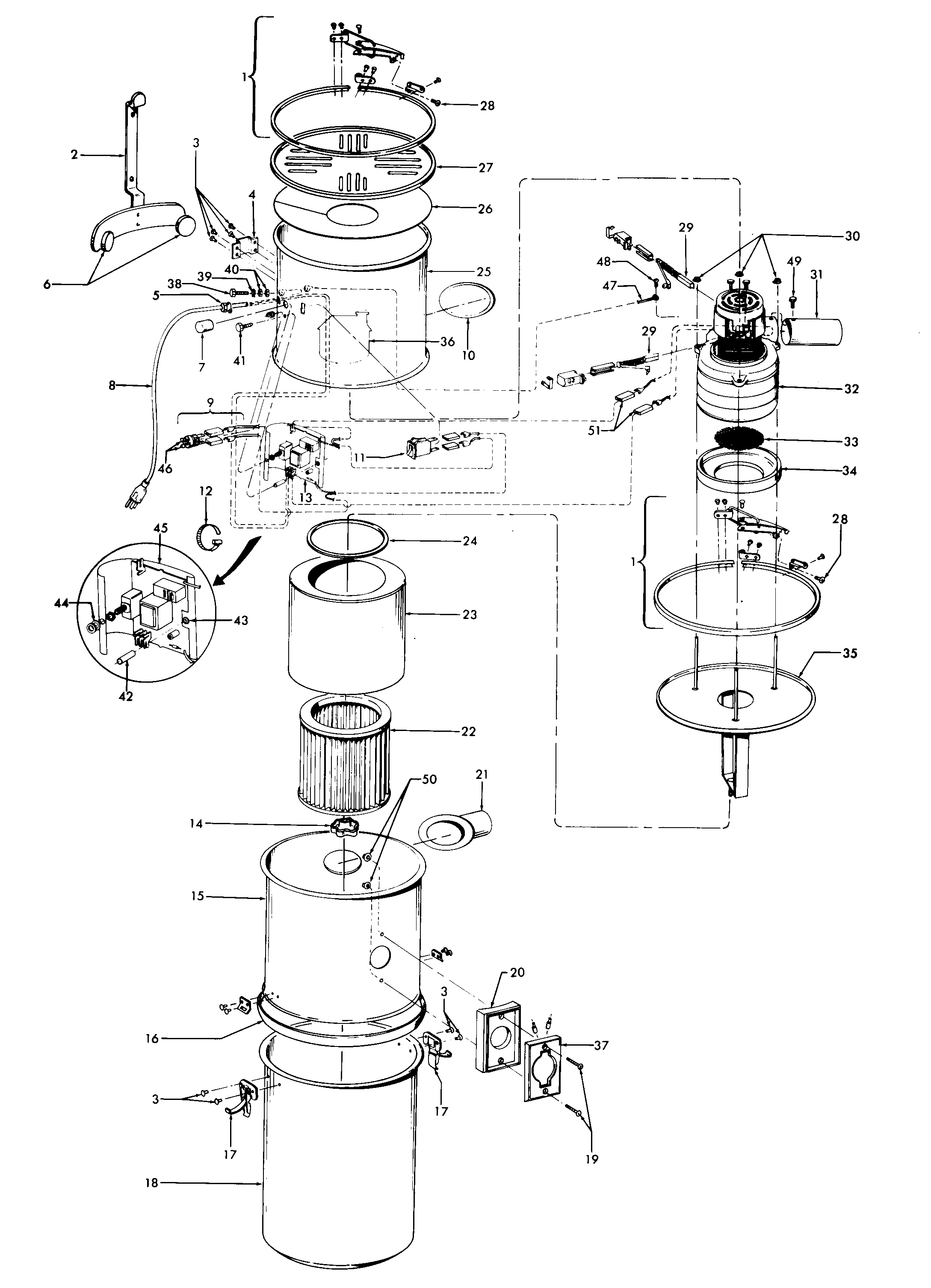
Here are the diagrams and repair parts for Hoover S5573-011 central vacuum, as well as links to manuals and error code tables, if available.

There are a couple of ways to find the part or diagram you need:

  • Click a diagram to see the parts shown on that diagram.
  • In the search box below, enter all or part of the part number or the part’s name.

Not all parts are shown on the diagrams—those parts are labeled NI, for “not illustrated”.

We encourage you to save the model to your profile, so it’s easy to access parts and manuals for your appliance whenever you log in.

For DIY troubleshooting advice and repair guides, visit our repair help section.

Showing 10 of 28 parts

Extension Tube#31

Fittings Diagram

Extension tube

Part #43453038

The manufacturer no longer makes this part, and there's no substitute part

Vacuum Wall Inlet Valve

See All Related Diagrams

Vacuum wall inlet valve

Part #43526001

The manufacturer no longer makes this part, and there's no substitute part

Vacuum Pan#996

Fittings Diagram

Vacuum pan

Part #40300066

The manufacturer no longer makes this part, and there's no substitute part

Pipe Strap#6

Fittings Diagram

Pipe strap

Part #48615015

The manufacturer no longer makes this part, and there's no substitute part

Baffle#22

Mainhousing, motor assembly Diagram

Baffle

Part #38763006

The manufacturer no longer makes this part, and there's no substitute part

Pvc Pipe#33B

Fittings Diagram

Pvc pipe

Part #31748028

The manufacturer no longer makes this part, and there's no substitute part

Elboow 90#2

Fittings Diagram

Elboow 90

Part #33215002

The manufacturer no longer makes this part, and there's no substitute part

Screw#33A

Fittings Diagram

Screw

Part #21416011

The manufacturer no longer makes this part, and there's no substitute part

45 Spigot#14

Fittings Diagram

45 spigot

Part #10096002

The manufacturer no longer makes this part, and there's no substitute part

Elbow 45#1

Fittings Diagram

Elbow 45

Part #33211001

The manufacturer no longer makes this part, and there's no substitute part

Symptoms common to all vacuum cleaners

Choose a symptom to see related vacuum cleaner repairs.

Main causes: damaged vacuum hose, clogged motor air filter, bad suction motor
Main causes: broken drive belt, damaged brush roll, tripped brush roll motor overload, bad brush roll motor, wiring failure
Main causes: lack of power, bad power cord, drive motor failure, wiring failure
Main causes: weak suction motor, vacuum bag is full, clog in suction air path, dirty exhaust filter, leaky vacuum hose

Articles and videos common to all vacuum cleaners

Use the advice and tips in these articles and videos to get the most out of your vacuum.

January 5, 2015

10 must-have tools for appliance repair

By Lyle Weischwill

Come see which tools made our top 10 must-haves for DIY appliance repair.

December 18, 2014

Deciding between a canister or upright vacuum

By Lyle Weischwill

Undecided about canister or upright? We compare them.

July 1, 2013

Vacuum common questions

By Lyle Weischwill

Find the answers to frequently asked questions about vacuum cleaners.