Canon
Digital Camcorder

Model #ZR90 Official Canon digital video camcorder

Here are the diagrams and repair parts for Canon ZR90 digital video camcorder, as well as links to manuals and error code tables, if available.

There are a couple of ways to find the part or diagram you need:

  • Click a diagram to see the parts shown on that diagram.
  • In the search box below, enter all or part of the part number or the part’s name.

Not all parts are shown on the diagrams—those parts are labeled NI, for “not illustrated”.

We encourage you to save the model to your profile, so it’s easy to access parts and manuals for your appliance whenever you log in.

For DIY troubleshooting advice and repair guides, visit our repair help section.

Owner’s manual

Showing 10 of 96 parts

Main Cable#3

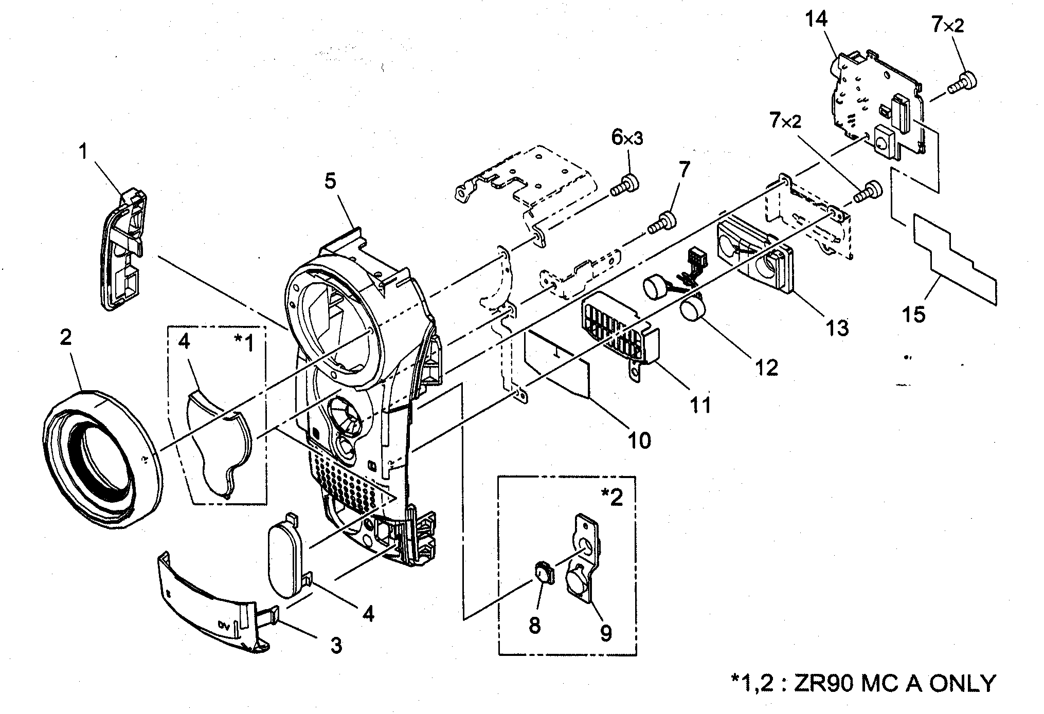
Right cover assy 1 Diagram

Main cable

Part #DH2-5154-000

The manufacturer no longer makes this part, and there's no substitute part

Knob#11

Right cover assy 2 Diagram

Knob

Part #DA3-1037-000

The manufacturer no longer makes this part, and there's no substitute part

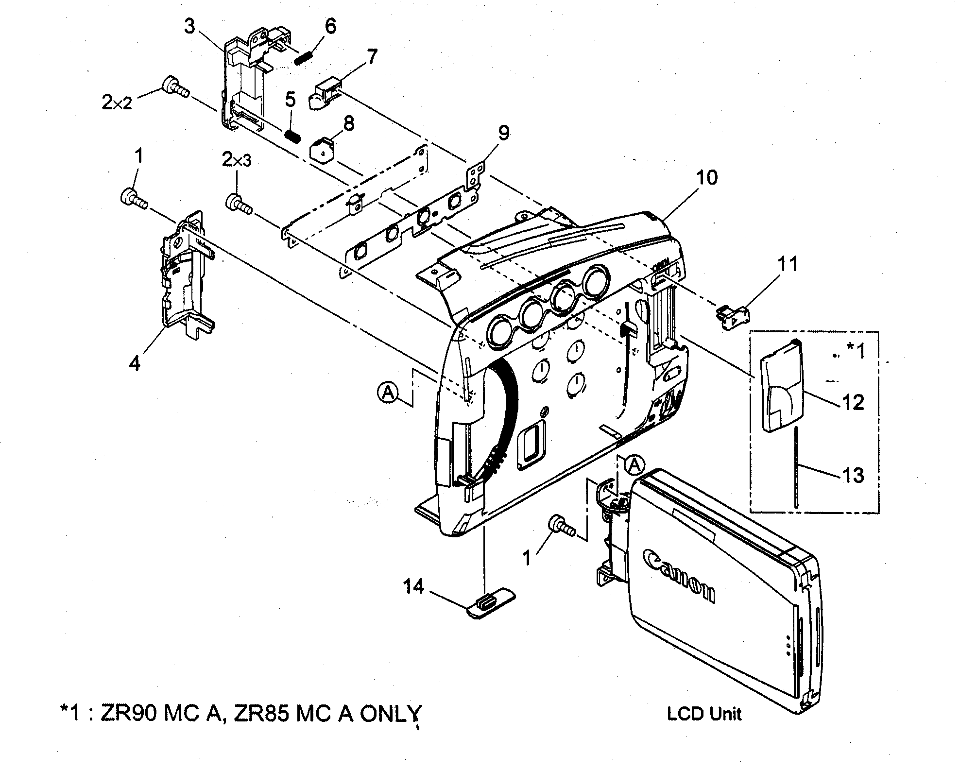
PCB Assembly#10

Rear cover assy Diagram

Pcb assembly

Part #DY1-8616-000

The manufacturer no longer makes this part, and there's no substitute part

D-sw Cable#8

Right cover assy 1 Diagram

D-sw cable

Part #DY1-8639-000

The manufacturer no longer makes this part, and there's no substitute part

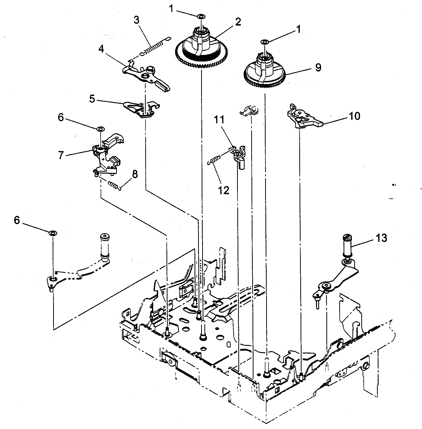
Reel Asy,s#2

Mechanical chassis 2 Diagram

Reel asy,s

Part #DG1-4504-000

The manufacturer no longer makes this part, and there's no substitute part

PCB Assembly#6

Rear cover assy Diagram

Pcb assembly

Part #DG3-0322-000

The manufacturer no longer makes this part, and there's no substitute part

Cover#4

Right cover assy 2 Diagram

Cover

Part #DA3-1041-000

The manufacturer no longer makes this part, and there's no substitute part

Lens#17

Cvf assy Diagram

Lens

Part #YN1-3111-000

The manufacturer no longer makes this part, and there's no substitute part

Fpc Cable#12

Camera assy Diagram

Fpc cable

Part #DH2-5153-000

The manufacturer no longer makes this part, and there's no substitute part

Strap#4

Accessory 2 Diagram

Strap

Part #D81-1470-000

The manufacturer no longer makes this part, and there's no substitute part