GE
Water & Ice System

Model #ZDIB50YB Official GE ice cube maker

Here are the diagrams and repair parts for GE ZDIB50YB ice cube maker, as well as links to manuals and error code tables, if available.

There are a couple of ways to find the part or diagram you need:

  • Click a diagram to see the parts shown on that diagram.
  • In the search box below, enter all or part of the part number or the part’s name.

Not all parts are shown on the diagrams—those parts are labeled NI, for “not illustrated”.

We encourage you to save the model to your profile, so it’s easy to access parts and manuals for your appliance whenever you log in.

For DIY troubleshooting advice and repair guides, visit our repair help section.

Owner’s manual

Showing 10 of 104 parts

Uc Zdi B/w 5#1B

Cabinet liner & door parts Diagram

Uc zdi b/w 5

Part #49-6857
In Stock
$8.49
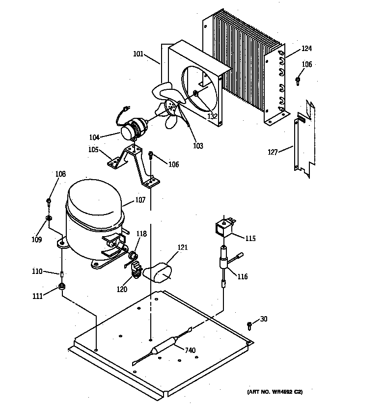
Compressor#107

Unit parts Diagram

Compressor

Part #WR87X498
In Stock
$249.16
Thumbscrew

Thumbscrew

Part #WR1X2101
In Stock
$9.99 | 
9% OFF 
Phone Price: $10.99
Refrigerator Terminal Cover#121

Unit parts Diagram

In Stock
$50.00
Refrigerator Handle Screw#85

Escutcheon & control components Diagram

Handle screw

Part #WR1X2103
Replaced by #WR1X5690
?
Manufacturer substitution
This part replaces WR1X2103. Substitute parts can look different from the original.
This item is not returnable
In Stock
$7.09 | 
12% OFF 
Phone Price: $8.09
VALVE AND TU#116

Unit parts Diagram

Refrigerator valve body

Part #WR86X106
Replaced by #WR86X25463
?
Manufacturer substitution
This part replaces WR86X106. Substitute parts can look different from the original.
In Stock
$79.58 | 
6% OFF 
Phone Price: $84.58
Thumbscrew#34

Evaporator, ice cutter grid & water parts Diagram

Refrigerator thumbscrew

Part #WR1X2205
Replaced by #WR1X2101
?
Manufacturer substitution
This part replaces WR1X2205. Substitute parts can look different from the original.
In Stock
$9.99 | 
9% OFF 
Phone Price: $10.99
Refrigerator Filter Dryer#740

Unit parts Diagram

Refrigerator filter dryer

Part #WR86X96
Replaced by #WR86X25269
?
Manufacturer substitution
This part replaces WR86X96. Substitute parts can look different from the original.
In Stock
$76.19 | 
6% OFF 
Phone Price: $81.19
BULB #917 AUTO TYPE#45

Evaporator, ice cutter grid & water parts Diagram

Bulb #917 auto type

Part #OBTAIN LOCALLY

The manufacturer no longer makes this part, and there's no substitute part

Freestanding Ice Maker Selector Switch#83

Escutcheon & control components Diagram

Freestanding ice maker selector switch

Part #WR23X436

The manufacturer no longer makes this part, and there's no substitute part