ICP
Central Air Conditioner

Model #CA5542QKA1 Official ICP cooling condenser

Here are the diagrams and repair parts for ICP CA5542QKA1 cooling condenser, as well as links to manuals and error code tables, if available.

There are a couple of ways to find the part or diagram you need:

  • Click a diagram to see the parts shown on that diagram.
  • In the search box below, enter all or part of the part number or the part’s name.

Not all parts are shown on the diagrams—those parts are labeled NI, for “not illustrated”.

We encourage you to save the model to your profile, so it’s easy to access parts and manuals for your appliance whenever you log in.

For DIY troubleshooting advice and repair guides, visit our repair help section.

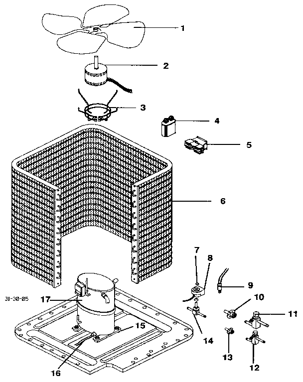
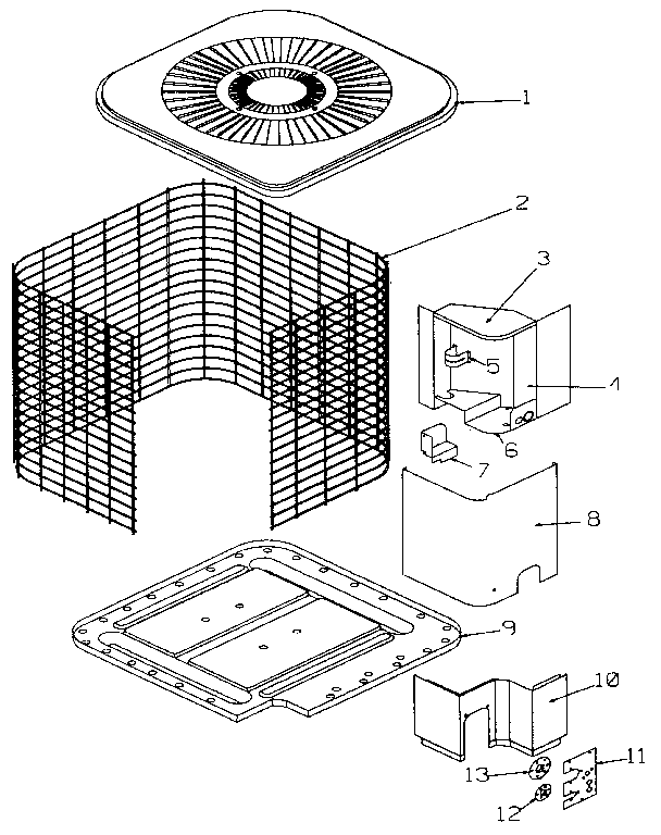
Showing 10 of 27 parts

White-Rodgers Central Air Conditioner Contactor#5

Functional Diagram

Contactor

Part #1050699
Replaced by #94-388
?
Manufacturer substitution
This part replaces 1050699. Substitute parts can look different from the original.
In Stock
$33.20 | 
13% OFF 
Phone Price: $38.20
Dual-Motor Run Capacitor#4

Functional Diagram

Capacitor

Part #1053069
Replaced by #12986
?
Manufacturer substitution
This part replaces 1053069. Substitute parts can look different from the original.
In Stock
$14.46 | 
12% OFF 
Phone Price: $16.46
Central Air Conditioner Condenser Fan Motor Mount#3

Functional Diagram

In Stock
$232.18
Grommet Comp#15

Functional Diagram

Grommet comp

Part #14123900
In Stock
$11.42
Lckng Flnge#12

Non-functional Diagram

Lckng flnge

Part #85791
This item is not returnable
In Stock
$3.91
Central Air Conditioner Compressor#17

Functional Diagram

Comp crkpfv

Part #1065355
Replaced by #CR42K6EPFV775
?
Manufacturer substitution
This part replaces 1065355. Substitute parts can look different from the original.
In Stock
$1206.26
Bottom Ctl B#6

Non-functional Diagram

C-box bttm

Part #1052890
Replaced by #1064364
?
Manufacturer substitution
This part replaces 1052890. Substitute parts can look different from the original.
In Stock
$65.48
Cover#8

Non-functional Diagram

C-box cover

Part #1052702
Replaced by #1084562
?
Manufacturer substitution
This part replaces 1052702. Substitute parts can look different from the original.
In Stock
$38.77
Central Air Conditioner Condenser Fan Blade#1

Functional Diagram

Fan blade

Part #1050852
Replaced by #1087333
?
Manufacturer substitution
This part replaces 1050852. Substitute parts can look different from the original.
In Stock
$53.29 | 
9% OFF 
Phone Price: $58.29
Fit Plate#11

Non-functional Diagram

Fit plate

Part #1052724

The manufacturer no longer makes this part, and there's no substitute part

Articles and videos common to all central air conditioners

November 30, 2022

2023 HVAC regulation changes and how they may affect you

By Lyle Weischwill

Find out how new DOE standards going into effect in 2023 can affect you and what you need to do.

October 24, 2022

Easy DIY appliance repairs that anyone can do

By Lyle Weischwill

Get advice on simple DIY fixes for appliances that you can safely do on your own.

August 5, 2022

Introducing new technical repair content that we’re developing for the Sears Technical Institute

By Lyle Weischwill

Learn about Sears Technical Institute and the advanced technical content being developed for aspiring appliance techs.