Goodman
Central Air Conditioner

Model #GSC130181AD Official Goodman air conditioner heat pump outside unit

Here are the diagrams and repair parts for Goodman GSC130181AD air conditioner heat pump outside unit, as well as links to manuals and error code tables, if available.

There are a couple of ways to find the part or diagram you need:

  • Click a diagram to see the parts shown on that diagram.
  • In the search box below, enter all or part of the part number or the part’s name.

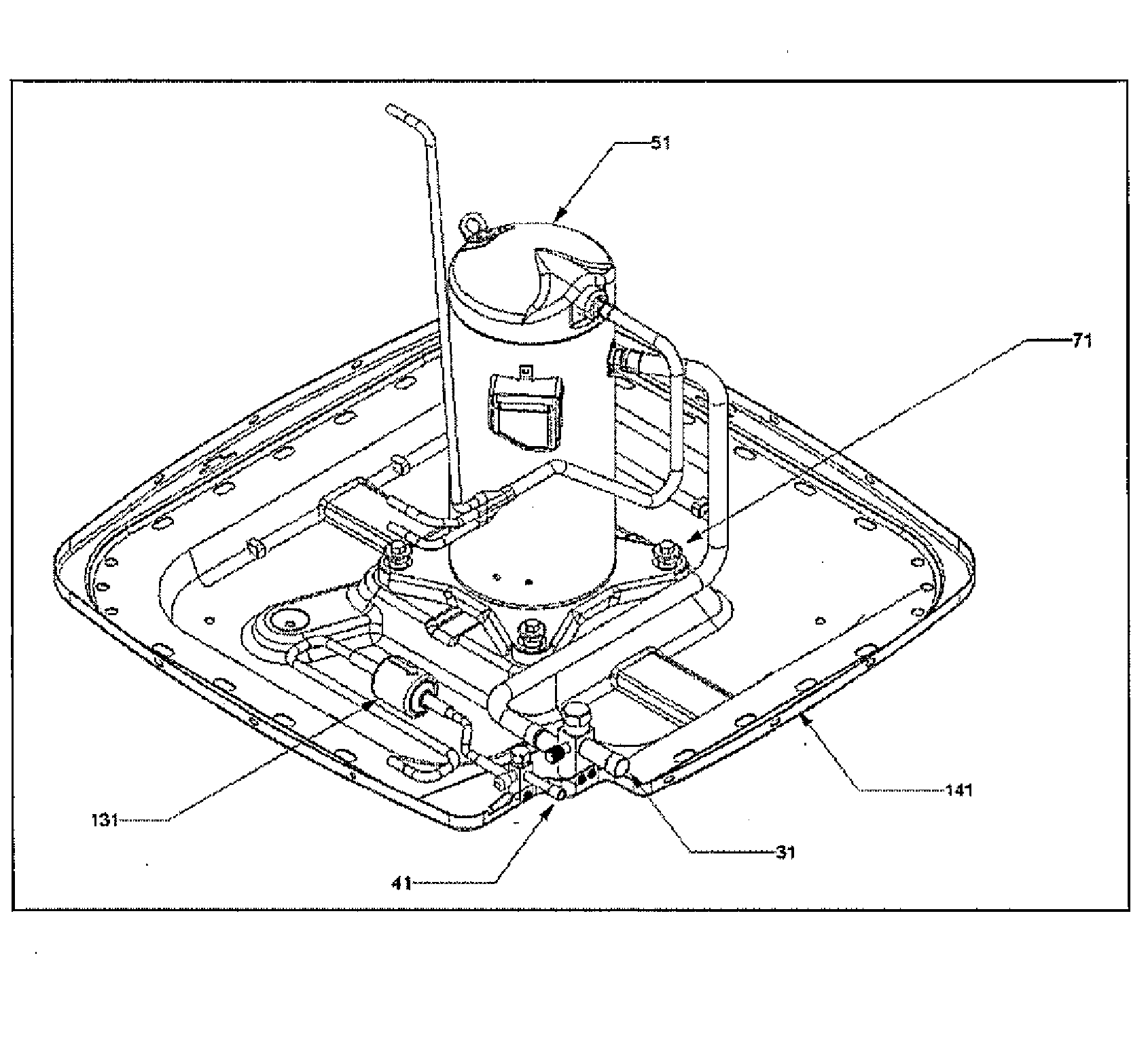
Not all parts are shown on the diagrams—those parts are labeled NI, for “not illustrated”.

We encourage you to save the model to your profile, so it’s easy to access parts and manuals for your appliance whenever you log in.

For DIY troubleshooting advice and repair guides, visit our repair help section.

Installation guide

Showing 10 of 22 parts

Central Air Conditioner Contactor#71

Control panel Diagram

Contact

Part #B1360321
Replaced by #CONT2P030024V5
?
Manufacturer substitution
This part replaces B1360321. Substitute parts can look different from the original.
In Stock
$59.69 | 
8% OFF 
Phone Price: $64.69
Base Valve#41

Compressor Diagram

Base

Part #B12825171
Replaced by #0151R00078S
?
Manufacturer substitution
This part replaces B12825171. Substitute parts can look different from the original.
In Stock
$11.49
Base Valve#31

Compressor Diagram

Valve

Part #0151R00002P
Replaced by #0151R00079S
?
Manufacturer substitution
This part replaces 0151R00002P. Substitute parts can look different from the original.
In Stock
$24.99
Pan Base#141

Compressor Diagram

Pan base

Part #0121R00005PDG
In Stock
$28.99
Piston Kit#NI

Control panel Diagram

Piston kit

Part #B1789859
This item is not returnable
In Stock
$4.99
Central Air Conditioner Capacitor Strap#91

Control panel Diagram

Central air conditioner capacitor strap

Part #4400065
This item is not returnable
In Stock
$2.53
Conduit#NI

Control panel Diagram

Conduit

Part #0161R00001P
This item is not returnable
In Stock
$2.49
Nameplate#NI

Control panel Diagram

Nameplate

Part #0161R00009P
This item is not returnable
In Stock
$6.50
Screw#71

Compressor Diagram

Screw

Part #M0221641
This item is not returnable
In Stock
$2.49
Grommet#NI

Control panel Diagram

Grommet

Part #B1339530
This item is not returnable
In Stock
$2.16

Articles and videos common to all central air conditioners

November 30, 2022

2023 HVAC regulation changes and how they may affect you

By Lyle Weischwill

Find out how new DOE standards going into effect in 2023 can affect you and what you need to do.

October 24, 2022

Easy DIY appliance repairs that anyone can do

By Lyle Weischwill

Get advice on simple DIY fixes for appliances that you can safely do on your own.

August 5, 2022

Introducing new technical repair content that we’re developing for the Sears Technical Institute

By Lyle Weischwill

Learn about Sears Technical Institute and the advanced technical content being developed for aspiring appliance techs.