Craftsman
Tool Chest

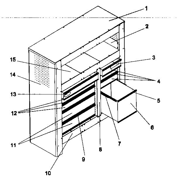
Model #706618902 Official Craftsman storage unit

Here are the diagrams and repair parts for Craftsman 706618902 storage unit, as well as links to manuals and error code tables, if available.

There are a couple of ways to find the part or diagram you need:

  • Click a diagram to see the parts shown on that diagram.
  • In the search box below, enter all or part of the part number or the part’s name.

Not all parts are shown on the diagrams—those parts are labeled NI, for “not illustrated”.

We encourage you to save the model to your profile, so it’s easy to access parts and manuals for your appliance whenever you log in.

For DIY troubleshooting advice and repair guides, visit our repair help section.

Showing 10 of 18 parts

Center Post#8

Storage unit Diagram

Center post

Part #27095-EBE

The manufacturer no longer makes this part, and there's no substitute part

Tool Cabinet Drawer Trim#5

Storage unit Diagram

Tool cabinet drawer trim

Part #M12842A1

The manufacturer no longer makes this part, and there's no substitute part

Stiffener#2

Storage unit Diagram

Stiffener

Part #T18901-EBE

The manufacturer no longer makes this part, and there's no substitute part

Shelf Black#15

Storage unit Diagram

Shelf black

Part #26660-EBE

The manufacturer no longer makes this part, and there's no substitute part

Tool Chest Drawer#12

Storage unit Diagram

Tool chest drawer

Part #26675A3-EBE

The manufacturer no longer makes this part, and there's no substitute part

Hardware Bag#NI

Storage unit Diagram

Hardware bag

Part #27127

The manufacturer no longer makes this part, and there's no substitute part

Workbench Back Rail#10

Storage unit Diagram

Workbench back rail

Part #26652-EBE

The manufacturer no longer makes this part, and there's no substitute part

Tool Chest Nameplate#3

Storage unit Diagram

Tool chest nameplate

Part #M15865

The manufacturer no longer makes this part, and there's no substitute part

Tool Chest Drawer, 12-in#6

Storage unit Diagram

Tool chest drawer, 12-in

Part #26675A1-EBE

The manufacturer no longer makes this part, and there's no substitute part

Shelf, Blk#1

Storage unit Diagram

Shelf, blk

Part #27096-EBE

The manufacturer no longer makes this part, and there's no substitute part