Indian
Weight System

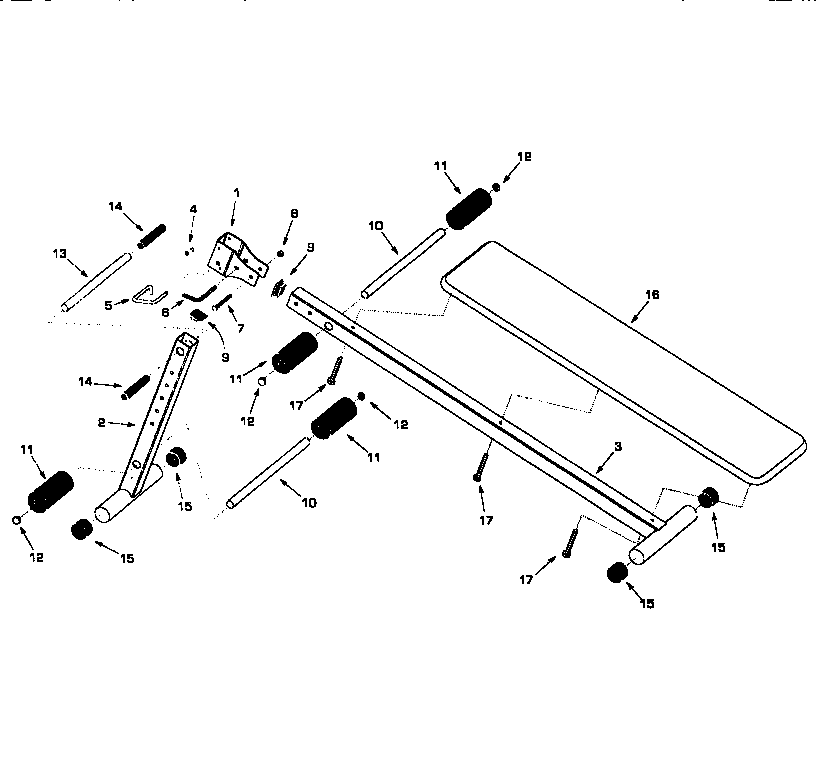
Model #7674-00-0 Official Indian exercise bench

Here are the diagrams and repair parts for Indian 7674-00-0 exercise bench, as well as links to manuals and error code tables, if available.

There are a couple of ways to find the part or diagram you need:

  • Click a diagram to see the parts shown on that diagram.
  • In the search box below, enter all or part of the part number or the part’s name.

Not all parts are shown on the diagrams—those parts are labeled NI, for “not illustrated”.

We encourage you to save the model to your profile, so it’s easy to access parts and manuals for your appliance whenever you log in.

For DIY troubleshooting advice and repair guides, visit our repair help section.

Showing 10 of 18 parts

Nut#8

Unit parts Diagram

Nut

Part #2B-6032-01

The manufacturer no longer makes this part, and there's no substitute part

Bolt#7

Unit parts Diagram

Bolt

Part #1B-6045-01

The manufacturer no longer makes this part, and there's no substitute part

Leg#2

Unit parts Diagram

Leg

Part #4A-6184-00

The manufacturer no longer makes this part, and there's no substitute part

Foam#11

Unit parts Diagram

Foam

Part #3M-6151-00

The manufacturer no longer makes this part, and there's no substitute part

Support#3

Unit parts Diagram

Support

Part #4A-6155-00

The manufacturer no longer makes this part, and there's no substitute part

Owner's Manual#18

Unit parts Diagram

Owner's manual

Part #2L-6206-00

The manufacturer no longer makes this part, and there's no substitute part

1" Tube Plug#12

Unit parts Diagram

1" tube plug

Part #3M-1019-00

The manufacturer no longer makes this part, and there's no substitute part

Handle Bar#13

Unit parts Diagram

Handle bar

Part #7S-6194-01

The manufacturer no longer makes this part, and there's no substitute part

End Cap#15

Unit parts Diagram

End cap

Part #3M-6169-00

The manufacturer no longer makes this part, and there's no substitute part

Pin#5

Unit parts Diagram

Pin

Part #4V-6005-01

The manufacturer no longer makes this part, and there's no substitute part

Articles and videos common to all fitness & exercise

June 29, 2022

Top questions about Sears and Sears PartsDirect

By Lyle Weischwill

Get answers to frequently asked questions about Sears and Sears PartsDirect.