Kenmore
Trash Compactor

Model #6657342202 Official Kenmore compactor

Here are the diagrams and repair parts for Kenmore 6657342202 compactor, as well as links to manuals and error code tables, if available.

There are a couple of ways to find the part or diagram you need:

  • Click a diagram to see the parts shown on that diagram.
  • In the search box below, enter all or part of the part number or the part’s name.

Not all parts are shown on the diagrams—those parts are labeled NI, for “not illustrated”.

We encourage you to save the model to your profile, so it’s easy to access parts and manuals for your appliance whenever you log in.

For DIY troubleshooting advice and repair guides, visit our repair help section.

Showing 10 of 88 parts

Appliance Touch-Up Paint, 0.6-oz (White) (replaces 21020, 72017R, 8006, W10813125, Y058028)

#NI

All parts Diagram

In Stock
$8.29 | 
11% OFF 
Phone Price: $9.29
Trash Compactor Drawer Roller (replaces 9871602)#16

Container assembly Diagram

Bearing

Part #776261
Replaced by #WP9871602
?
Manufacturer substitution
This part replaces 776261. Substitute parts can look different from the original.
BEST SELLER
This item is not returnable
In Stock
$9.99 | 
9% OFF 
Phone Price: $10.99
Trash Compactor On/Off Switch (replaces 41001013, 4163456, 608452, 608824, 776265, 776532, 777381, 780379, 9871346, Y608452, Y675382, Y776532, Y780379)#8

Cabinet and control assembly Diagram

Switch

Part #776532
Replaced by #675382
?
Manufacturer substitution
This part replaces 776532. Substitute parts can look different from the original.
BEST SELLER
In Stock
$100.79 | 
20% OFF 
Was: $125.99
Trash Compactor Frame Roller, 2-pack#18

Frame assembly Diagram

Bearing

Part #776262
Replaced by #882688
?
Manufacturer substitution
This part replaces 776262. Substitute parts can look different from the original.
BEST SELLER
This item is not returnable
In Stock
$21.69 | 
19% OFF 
Phone Price: $26.69
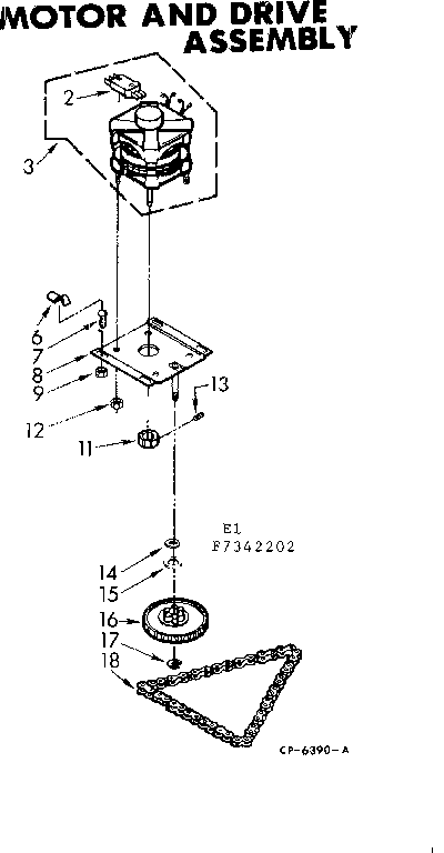
Trash Compactor Drive Motor (replaces 14214735, 780164, 9870343, W10318887, W10806338)#2B

Motor and drive assembly Diagram

Motor switch

Part #776172
Replaced by #W10439651
?
Manufacturer substitution
This part replaces 776172. Substitute parts can look different from the original.
In Stock
$206.28 | 
10% OFF 
Was: $229.20
Trash Compactor Drive Motor (replaces 14214735, 780164, 9870343, W10318887, W10806338)#3

Motor and drive assembly Diagram

Motor

Part #776828
Replaced by #W10439651
?
Manufacturer substitution
This part replaces 776828. Substitute parts can look different from the original.
In Stock
$206.28 | 
10% OFF 
Was: $229.20
Trash Compactor Drive Motor (replaces 14214735, 780164, 9870343, W10318887, W10806338)#3A

Motor and drive assembly Diagram

Motor

Part #776171
Replaced by #W10439651
?
Manufacturer substitution
This part replaces 776171. Substitute parts can look different from the original.
In Stock
$206.28 | 
10% OFF 
Was: $229.20
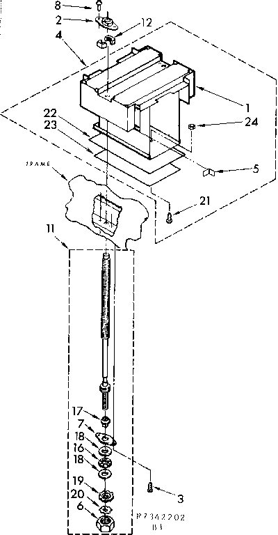
Trash Compactor Drawer Slide Kit#21A

Frame assembly Diagram

Slide

Part #608090
Replaced by #9870976
?
Manufacturer substitution
This part replaces 608090. Substitute parts can look different from the original.
In Stock
$30.69 | 
14% OFF 
Phone Price: $35.69
Trash Compactor Needle Bearing#16

Power screw and ram assembly Diagram

Bearing

Part #775482
Replaced by #W10917043
?
Manufacturer substitution
This part replaces 775482. Substitute parts can look different from the original.
In Stock
$15.11 | 
12% OFF 
Phone Price: $17.11
Trash Compactor Drawer Latch Assembly#10

Container assembly Diagram

Latch

Part #775740
Replaced by #675379
?
Manufacturer substitution
This part replaces 775740. Substitute parts can look different from the original.
In Stock
$66.29 | 
7% OFF 
Phone Price: $71.29

Symptoms common to all trash compactors

Choose a symptom to see related trash compactor repairs.

Main causes: bent drawer support rollers, damaged trash container
Main causes: stripped or broken power nuts, broken or disconnected drive gear and sprocket chain, damaged drive parts
Main causes: broken drive gear and sprocket chain, stripped power nuts, faulty top limit and directional switch
Main cause: faulty drawer tilt switch
Main causes: stuck foot pedal, bad momentary start switch, power switch failure
Main causes: lack of power, faulty drawer safety switch, bad power switch, momentary start switch failure, bad drive motor, wiring failure

Repair guides common to all trash compactors

These step-by-step repair guides will help you safely fix what’s broken on your trash compactor.

How to replace a trash compactor motor centrifugal switch

If the trash compactor ram won’t return to the top position, replace the motor centrifugal switch by following the instructions in this repair guide.

Repair difficulty
Time required
 45 minutes or less
How to replace a trash compactor momentary start switch

The momentary start switch starts the motor when you lift the foot pedal. This repair guide shows how to replace the switch if it stops working

Repair difficulty
Time required
 15 minutes or less
How to replace a trash compactor power switch

If the trash compactor won’t power up, use the steps in this repair guide to replace the power switch.

Repair difficulty
Time required
 30 minutes or less

Articles and videos common to all trash compactors

Use the advice and tips in these articles and videos to get the most out of your trash compactor.

August 30, 2022

How to enjoy all the online benefits we offer on our Sears PartsDirect website

Lyle Weischwill

Learn about all the convenient features on our Sears PartsDirect website that make your parts purchases easier.

August 19, 2022

Are DIY appliance repairs safe?

Lyle Weischwill

Find out how to stay safe when repairing your appliances.

June 29, 2022

Top questions about Sears and Sears PartsDirect

Lyle Weischwill

Get answers to frequently asked questions about Sears and Sears PartsDirect.