Kenmore
Tools & Attachment

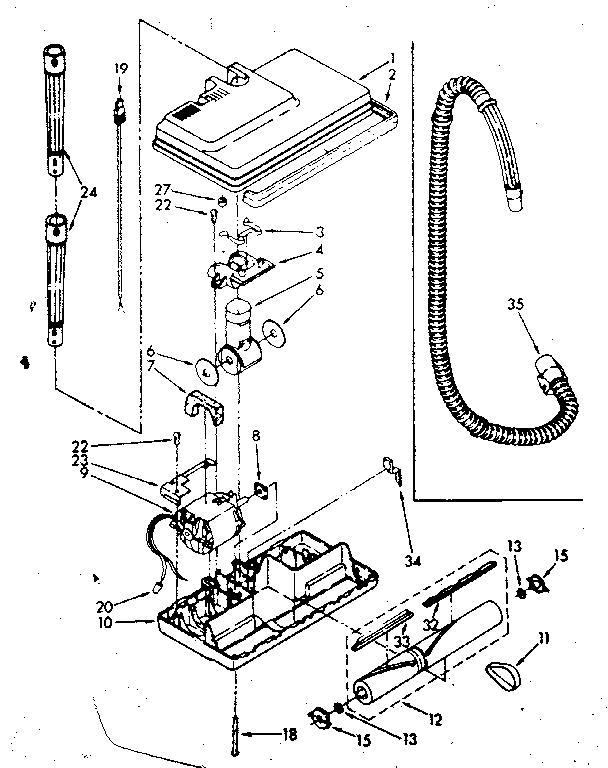
Model #1165411081 Official Kenmore powermate vacuum attachment parts

Here are the diagrams and repair parts for Kenmore 1165411081 powermate vacuum attachment parts, as well as links to manuals and error code tables, if available.

There are a couple of ways to find the part or diagram you need:

  • Click a diagram to see the parts shown on that diagram.
  • In the search box below, enter all or part of the part number or the part’s name.

Not all parts are shown on the diagrams—those parts are labeled NI, for “not illustrated”.

We encourage you to save the model to your profile, so it’s easy to access parts and manuals for your appliance whenever you log in.

For DIY troubleshooting advice and repair guides, visit our repair help section.

Showing 10 of 25 parts

Yoke Bearing Seal#6

Power-mate parts Diagram

Yoke bearing seal

Part #741423
This item is not returnable
In Stock
$2.49
Vacuum Twist-On Wire Connector#20

Power-mate parts Diagram

Nut

Part #596564
Replaced by #KS4154460
?
Manufacturer substitution
This part replaces 596564. Substitute parts can look different from the original.
This item is not returnable
In Stock
$2.49
Screw#22

Power-mate parts Diagram

Screw

Part #681297

The manufacturer no longer makes this part, and there's no substitute part

Vacuum Beater Bar Belt#11

Power-mate parts Diagram

Vacuum beater bar belt

Part #725353

The manufacturer no longer makes this part, and there's no substitute part

Seal#7

Power-mate parts Diagram

Seal

Part #743809

The manufacturer no longer makes this part, and there's no substitute part

On-sert#27

Power-mate parts Diagram

On-sert

Part #681267

The manufacturer no longer makes this part, and there's no substitute part

Wand, White#24

Power-mate parts Diagram

Wand, white

Part #742904

The manufacturer no longer makes this part, and there's no substitute part

Base#10

Power-mate parts Diagram

Base

Part #743825

The manufacturer no longer makes this part, and there's no substitute part

Brush, 1 Set#33

Power-mate parts Diagram

Brush, 1 set

Part #676231

The manufacturer no longer makes this part, and there's no substitute part

Cap#4

Power-mate parts Diagram

Cap

Part #742969

The manufacturer no longer makes this part, and there's no substitute part