Proctor Silex
Coffee Maker

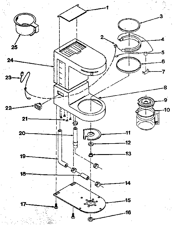
Model #A600K Official Proctor Silex automatic coffee maker

Here are the diagrams and repair parts for Proctor Silex A600K automatic coffee maker, as well as links to manuals and error code tables, if available.

There are a couple of ways to find the part or diagram you need:

  • Click a diagram to see the parts shown on that diagram.
  • In the search box below, enter all or part of the part number or the part’s name.

Not all parts are shown on the diagrams—those parts are labeled NI, for “not illustrated”.

We encourage you to save the model to your profile, so it’s easy to access parts and manuals for your appliance whenever you log in.

For DIY troubleshooting advice and repair guides, visit our repair help section.

Showing 10 of 26 parts

(L/P) SCREW, 6-18 X 3/8", PAN HD. PH. S.T., BODY TO PANEL (TOP REAR OF BODY-OUTER SCREW) (ONE PER PANEL)#3

Replacement parts Diagram

(l/p) screw, 6-18 x 3/8", pan hd. ph. s.t., body to panel (top rear of body-outer screw) (one per panel)

Part #N/P

The manufacturer no longer makes this part, and there's no substitute part

Clamp#14

Replacement parts Diagram

Clamp

Part #032026

The manufacturer no longer makes this part, and there's no substitute part

Screw#17

Replacement parts Diagram

Screw

Part #002957

The manufacturer no longer makes this part, and there's no substitute part

Eyelet#13

Replacement parts Diagram

Eyelet

Part #006055

The manufacturer no longer makes this part, and there's no substitute part

Output Tube#19

Replacement parts Diagram

Output tube

Part #134980

The manufacturer no longer makes this part, and there's no substitute part

RESERVOIR (KHAKI) - INCLUDES REF. #8 - NOTE: FOR HEAT SEALED UNITS#24A

Replacement parts Diagram

Reservoir (khaki) - includes ref. #8 - note: for heat sealed units

Part #913470

The manufacturer no longer makes this part, and there's no substitute part

Switch#22

Replacement parts Diagram

Switch

Part #153077

The manufacturer no longer makes this part, and there's no substitute part

Bottom Cover#15

Replacement parts Diagram

Bottom cover

Part #944696

The manufacturer no longer makes this part, and there's no substitute part

Basket#25

Replacement parts Diagram

Basket

Part #157547

The manufacturer no longer makes this part, and there's no substitute part

Output Hose#18

Replacement parts Diagram

Output hose

Part #134990

The manufacturer no longer makes this part, and there's no substitute part