Craftsman
Walk-Behind Mower

Model #53681683 Official Craftsman 18" power reel lawn mower

Here are the diagrams and repair parts for Craftsman 53681683 18" power reel lawn mower, as well as links to manuals and error code tables, if available.

There are a couple of ways to find the part or diagram you need:

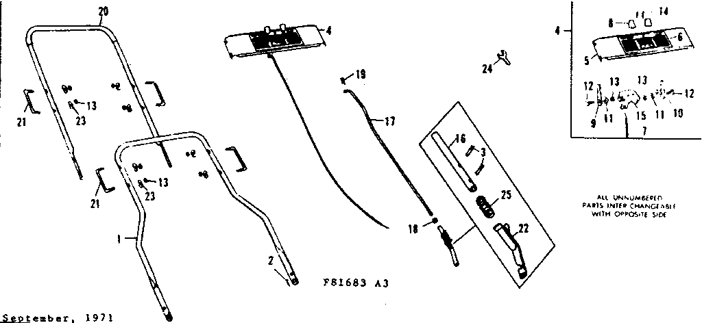
  • Click a diagram to see the parts shown on that diagram.
  • In the search box below, enter all or part of the part number or the part’s name.

Not all parts are shown on the diagrams—those parts are labeled NI, for “not illustrated”.

We encourage you to save the model to your profile, so it’s easy to access parts and manuals for your appliance whenever you log in.

For DIY troubleshooting advice and repair guides, visit our repair help section.

Showing 10 of 106 parts

Washer#5

Base assembly Diagram

Washer

Part #120386

The manufacturer no longer makes this part, and there's no substitute part

Washer#33

Base assembly Diagram

Washer

Part #446363

The manufacturer no longer makes this part, and there's no substitute part

Lock Nut#38

Base assembly Diagram

Lock nut

Part #9413447

The manufacturer no longer makes this part, and there's no substitute part

Washer#23

Handle assembly Diagram

Washer

Part #8728

The manufacturer no longer makes this part, and there's no substitute part

Hex Hd Screw#44

Base assembly Diagram

Hex hd screw

Part #181593

The manufacturer no longer makes this part, and there's no substitute part

Carriage Bolt#79

Base assembly Diagram

Carriage bolt

Part #35933

The manufacturer no longer makes this part, and there's no substitute part

Chain/link#29

Base assembly Diagram

Chain/link

Part #20305

The manufacturer no longer makes this part, and there's no substitute part

Machine Screw#42

Base assembly Diagram

Machine screw

Part #995346

The manufacturer no longer makes this part, and there's no substitute part

Lock Nut#13

Handle assembly Diagram

Lock nut

Part #997314

The manufacturer no longer makes this part, and there's no substitute part

Split Lockwr#34

Base assembly Diagram

Split lockwr

Part #120380

The manufacturer no longer makes this part, and there's no substitute part

Articles and videos common to all walk-behind mowers

February 11, 2023

Top 10 electric lawn and garden tools for 2023

By Lyle Weischwill

Learn about the top 10 must-have electric lawn & garden tools for 2023

August 30, 2022

How to enjoy all the online benefits we offer on our Sears PartsDirect website

By Lyle Weischwill

Learn about all the convenient features on our Sears PartsDirect website that make your parts purchases easier.

August 5, 2022

Introducing new technical repair content that we’re developing for the Sears Technical Institute

By Lyle Weischwill

Learn about Sears Technical Institute and the advanced technical content being developed for aspiring appliance techs.