Craftsman
Tool Chest

Model #65786 Official Craftsman tool chest

Here are the diagrams and repair parts for Craftsman 65786 tool chest, as well as links to manuals and error code tables, if available.

There are a couple of ways to find the part or diagram you need:

  • Click a diagram to see the parts shown on that diagram.
  • In the search box below, enter all or part of the part number or the part’s name.

Not all parts are shown on the diagrams—those parts are labeled NI, for “not illustrated”.

We encourage you to save the model to your profile, so it’s easy to access parts and manuals for your appliance whenever you log in.

For DIY troubleshooting advice and repair guides, visit our repair help section.

Showing 10 of 10 parts

Tool Chest Drawer Slide

#NI

All parts Diagram

Tool chest drawer slide

Part #T14153A3

The manufacturer no longer makes this part, and there's no substitute part

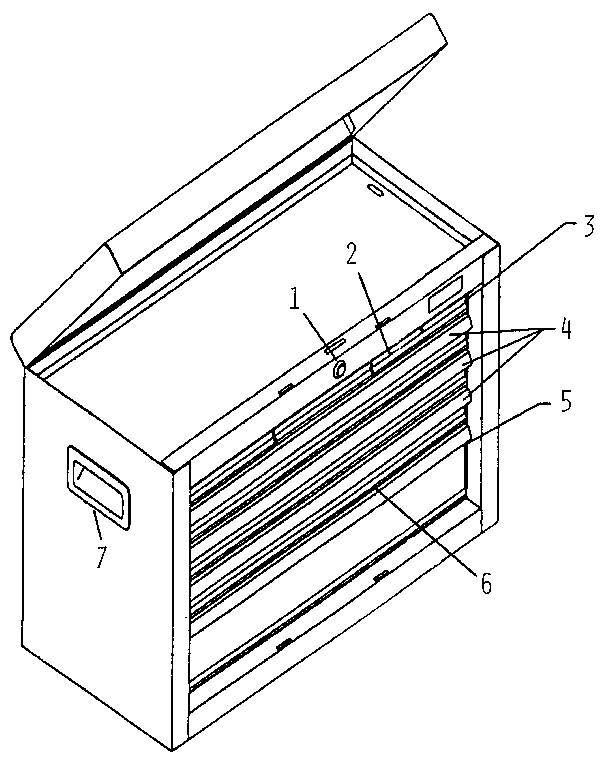
Drawer#3

Unit parts Diagram

Drawer

Part #A9321RED

The manufacturer no longer makes this part, and there's no substitute part

Drawer#4

Unit parts Diagram

Drawer

Part #A9240RED

The manufacturer no longer makes this part, and there's no substitute part

Handle#7

Unit parts Diagram

Handle

Part #T15877

The manufacturer no longer makes this part, and there's no substitute part

Swr Pull#6

Unit parts Diagram

Swr pull

Part #T13840A18

The manufacturer no longer makes this part, and there's no substitute part

Dwr Pull#2

Unit parts Diagram

Dwr pull

Part #T13840A19

The manufacturer no longer makes this part, and there's no substitute part

Lock#1

Unit parts Diagram

Lock

Part #M10017A6SS

The manufacturer no longer makes this part, and there's no substitute part

Service Manual

#NI

All parts Diagram

Service manual

Part #F685

The manufacturer no longer makes this part, and there's no substitute part

Weldment#5

Unit parts Diagram

Weldment

Part #A9320RED

The manufacturer no longer makes this part, and there's no substitute part

Lock Bar

#NI

All parts Diagram

Lock bar

Part #T14406A2

The manufacturer no longer makes this part, and there's no substitute part