Goodman
Air Conditioner

Model #CKL42-1B Official Goodman split-system outdoor unit

Here are the diagrams and repair parts for Goodman CKL42-1B split-system outdoor unit, as well as links to manuals and error code tables, if available.

There are a couple of ways to find the part or diagram you need:

  • Click a diagram to see the parts shown on that diagram.
  • In the search box below, enter all or part of the part number or the part’s name.

Not all parts are shown on the diagrams—those parts are labeled NI, for “not illustrated”.

We encourage you to save the model to your profile, so it’s easy to access parts and manuals for your appliance whenever you log in.

For DIY troubleshooting advice and repair guides, visit our repair help section.

Owner’s manual

Showing 10 of 21 parts

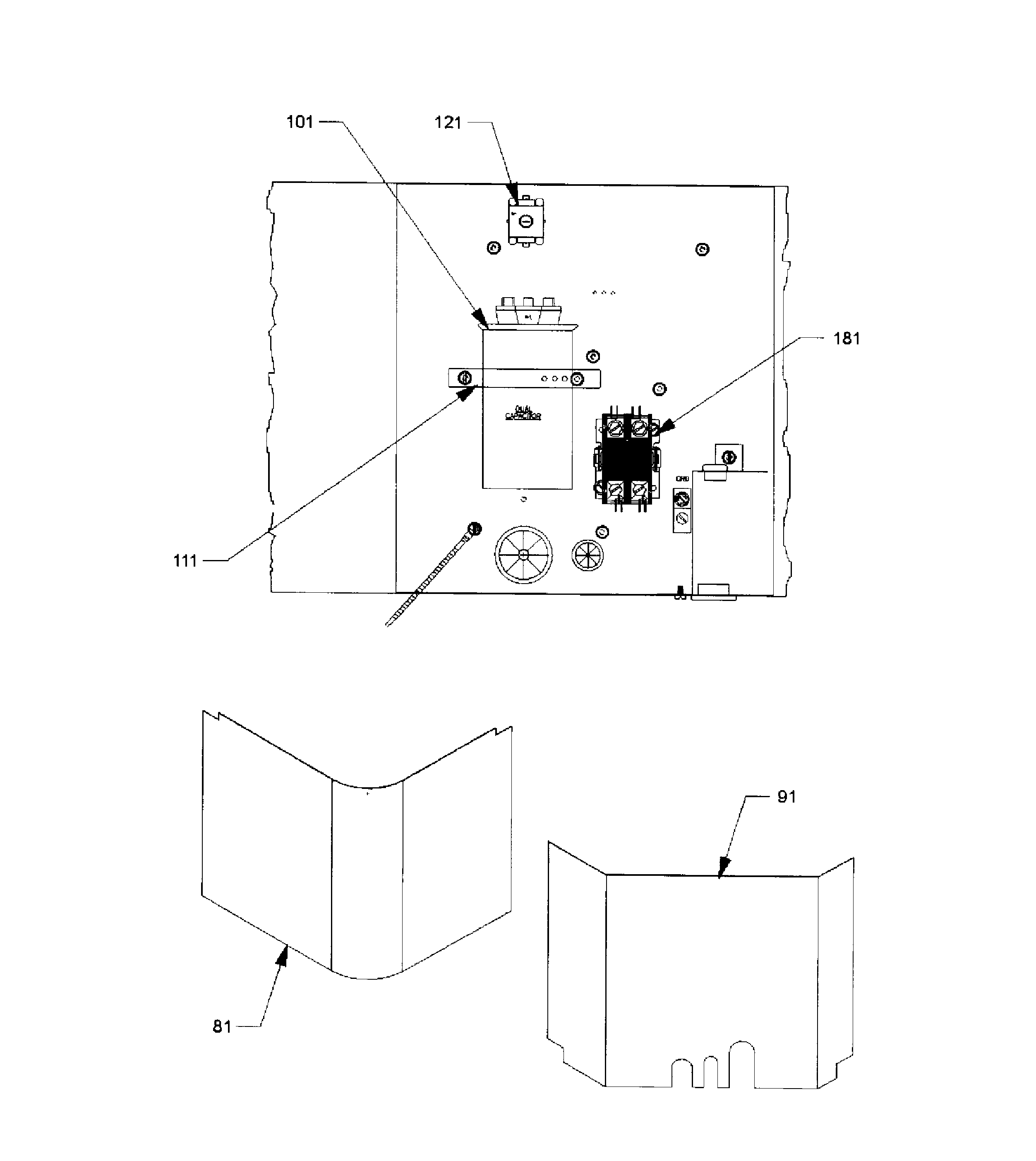
Central Air Conditioner Contactor#181

Cover & control box Diagram

In Stock
$31.44
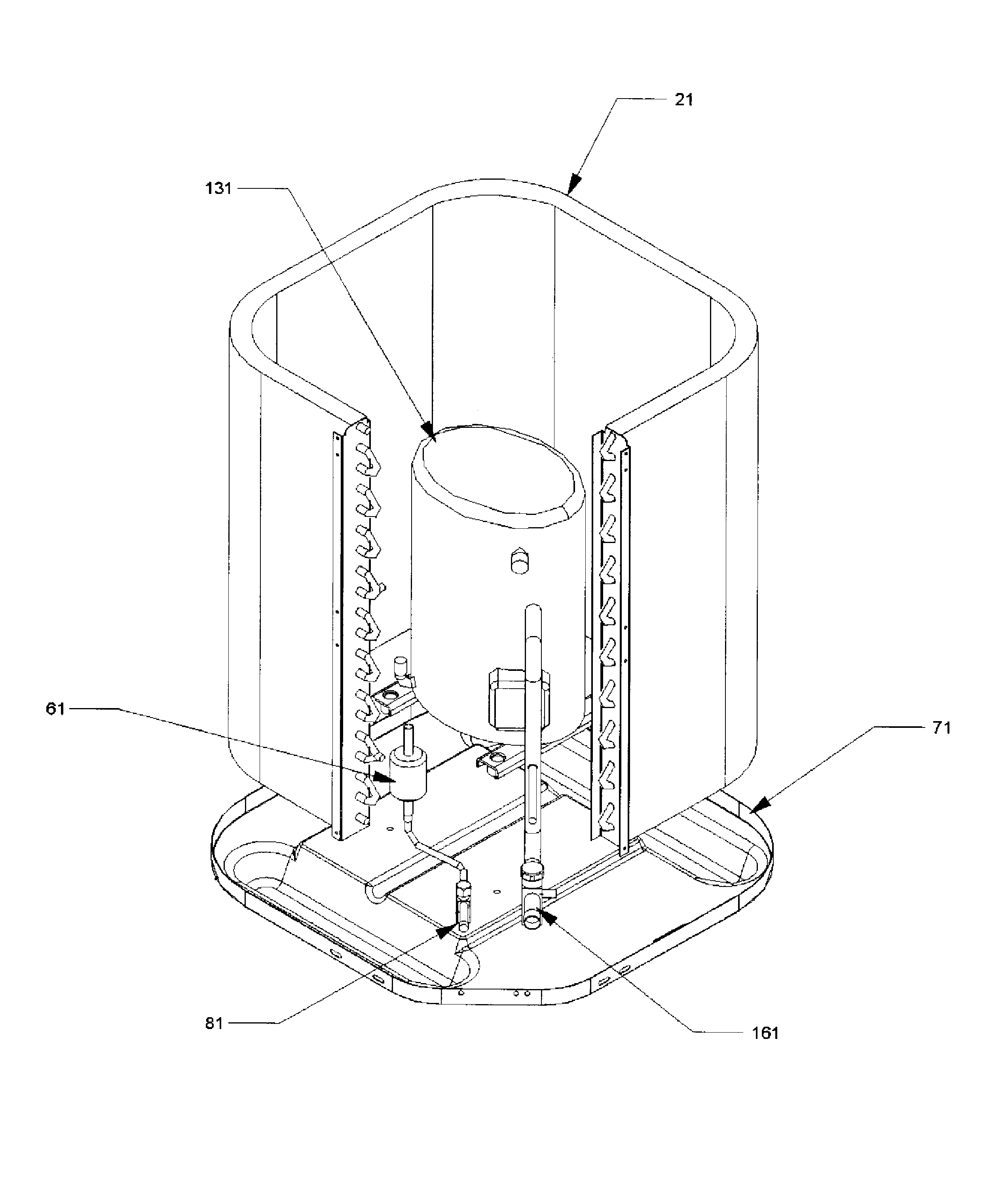
Central Air Conditioner Compressor (replaces 10679716, CR38K6PFV875)#131

Compressor & tubing Diagram

Compressor

Part #CR38K6PFV960
Replaced by #CR38K6EPFV875
?
Manufacturer substitution
This part replaces CR38K6PFV960. Substitute parts can look different from the original.
In Stock
$834.15 | 
$10.00 OFF 
Phone Price: $844.15
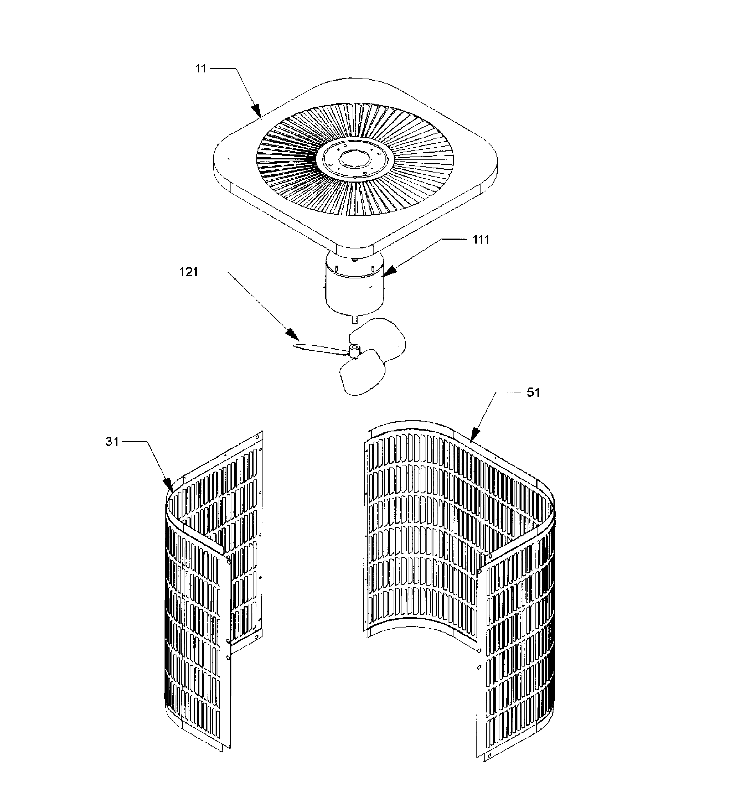
Central Air Conditioner Condenser Fan Motor (replaces B13400251, B13400252S)#111

Top & panels Diagram

Motor

Part #B13400252S
Replaced by #B13400252
?
Manufacturer substitution
This part replaces B13400252S. Substitute parts can look different from the original.
In Stock
$182.89 | 
5% OFF 
Phone Price: $192.89
Base Valve#81

Compressor & tubing Diagram

Base

Part #B12825171
Replaced by #0151R00078S
?
Manufacturer substitution
This part replaces B12825171. Substitute parts can look different from the original.
In Stock
$11.49
Cover#81

Cover & control box Diagram

Cover

Part #1787624PDG
In Stock
$20.31
Panel#51

Top & panels Diagram

Panel

Part #1259558PDG
In Stock
$21.49
Central Air Conditioner Condenser Fan Blade#121

Top & panels Diagram

In Stock
$65.96 | 
10% OFF 
Was: $73.29
Grommet#NI

Cover & control box Diagram

Grommet

Part #B1339530
This item is not returnable
In Stock
$2.16
Bottom Pan#71

Compressor & tubing Diagram

Bottom pan

Part #1787211PDG
In Stock
$33.49
Strap#111

Cover & control box Diagram

Strap

Part #1284835
This item is not returnable
In Stock
$2.16