LXI
Television

Model #56442520350 Official LXI television

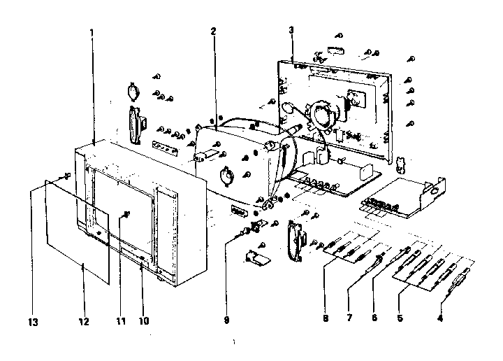
Here are the diagrams and repair parts for LXI 56442520350 television, as well as links to manuals and error code tables, if available.

There are a couple of ways to find the part or diagram you need:

  • Click a diagram to see the parts shown on that diagram.
  • In the search box below, enter all or part of the part number or the part’s name.

Not all parts are shown on the diagrams—those parts are labeled NI, for “not illustrated”.

We encourage you to save the model to your profile, so it’s easy to access parts and manuals for your appliance whenever you log in.

For DIY troubleshooting advice and repair guides, visit our repair help section.

Showing 10 of 18 parts

Ant Uhf

#NI

All parts Diagram

Ant uhf

Part #46-8273-3

The manufacturer no longer makes this part, and there's no substitute part

Owner's Manual

#NI

All parts Diagram

Owner's manual

Part #L38-13284-0

The manufacturer no longer makes this part, and there's no substitute part

Control Knob#5

Replacement parts Diagram

Control knob

Part #46-521325-3

The manufacturer no longer makes this part, and there's no substitute part

Cover#3

Replacement parts Diagram

Cover

Part #42-2290-0

The manufacturer no longer makes this part, and there's no substitute part

Holder Right#11

Replacement parts Diagram

Holder right

Part #46-221321-3

The manufacturer no longer makes this part, and there's no substitute part

Crt -qq002#2

Replacement parts Diagram

Crt -qq002

Part #A51JAR60X

The manufacturer no longer makes this part, and there's no substitute part

Control Door#10

Replacement parts Diagram

Control door

Part #46-211041-3

The manufacturer no longer makes this part, and there's no substitute part

Knob Obc#7

Replacement parts Diagram

Knob obc

Part #46-521322-3

The manufacturer no longer makes this part, and there's no substitute part

Control Knob#8

Replacement parts Diagram

Control knob

Part #46-521321-3

The manufacturer no longer makes this part, and there's no substitute part

Sound Knob#4

Replacement parts Diagram

Sound knob

Part #46-521326-3

The manufacturer no longer makes this part, and there's no substitute part