Kenmore
Chest Freezer

Model #25314702102 Official Kenmore freezer

Here are the diagrams and repair parts for Kenmore 25314702102 freezer, as well as links to manuals and error code tables, if available.

There are a couple of ways to find the part or diagram you need:

  • Click a diagram to see the parts shown on that diagram.
  • In the search box below, enter all or part of the part number or the part’s name.

Not all parts are shown on the diagrams—those parts are labeled NI, for “not illustrated”.

We encourage you to save the model to your profile, so it’s easy to access parts and manuals for your appliance whenever you log in.

For DIY troubleshooting advice and repair guides, visit our repair help section.

Owner’s manualError Codes

Showing 10 of 43 parts

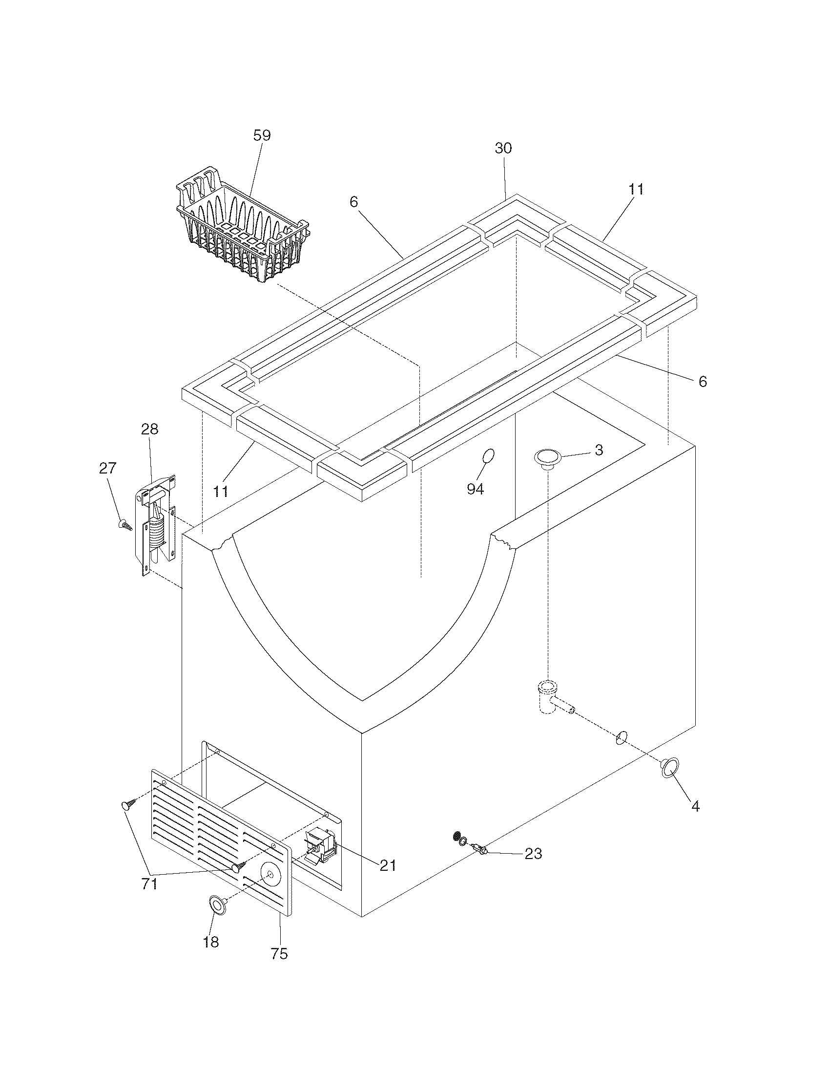
Freezer Basket (replaces 216848202, 216848205)#59

Cabinet Diagram

In Stock
$31.00 | 
14% OFF 
Phone Price: $36.00
Freezer Door Gasket (replaces 216480901)#1

Door Diagram

Freezer door gasket

Part #216480901
Replaced by #216480911
?
Manufacturer substitution
This part replaces 216480901. Substitute parts can look different from the original.
BEST SELLER
In Stock
$129.15 | 
7% OFF 
Phone Price: $139.15
Laundry Appliance Screw, #8-18 x 31/100-in#71

Cabinet Diagram

Grille screw

Part #131168200
Replaced by #131168200
?
Manufacturer substitution
This part replaces 131168200. Substitute parts can look different from the original.
BEST SELLER
In Stock
$9.78 | 
30% OFF 
MSRP: $14.00
Freezer Door Hinge (replaces 216478800, 3201160)#28

Cabinet Diagram

Hinge assembly

Part #216478800
Replaced by #297313200
?
Manufacturer substitution
This part replaces 216478800. Substitute parts can look different from the original.
BEST SELLER
In Stock
$51.99 | 
9% OFF 
Phone Price: $56.99
Refrigerator Filter Dryer#4

System Diagram

Filter drier

Part #216938600
Replaced by #5303305677
?
Manufacturer substitution
This part replaces 216938600. Substitute parts can look different from the original.
BEST SELLER
In Stock
$11.44 | 
30% OFF 
MSRP: $16.34
Freezer Inner Door Panel Rivet#27

Door Diagram

In Stock
$19.49 | 
9% OFF 
Phone Price: $21.49
Refrigerator Run Capacitor (replaces 216985000)#55

System Diagram

Refrigerator run capacitor

Part #216985000
Replaced by #297286801
?
Manufacturer substitution
This part replaces 216985000. Substitute parts can look different from the original.
Back Order
$34.69 | 
13% OFF 
Phone Price: $39.69
Refrigerator Door Insulation#NI

Door Diagram

In Stock
$212.89 | 
$10.00 OFF 
Phone Price: $222.89
Refrigeration Appliance Compressor Grommet#27

System Diagram

Grommet

Part #5308002681
Replaced by #216498900
?
Manufacturer substitution
This part replaces 5308002681. Substitute parts can look different from the original.
This item is not returnable
In Stock
$13.39 | 
13% OFF 
Phone Price: $15.39
Frost Indicator#94

Cabinet Diagram

Frost indicator

Part #216140400
This item is not returnable
In Stock
$2.16

Symptoms common to all freestanding freezers

Choose a symptom to see related freezer repairs.

Main causes: burned out light bulb, bad door or lid switch, faulty LED light board, wiring failure, control system failure
Main causes: lack of power, bad compressor, refrigerant leak, bad thermistor, defrost system failure, dirty condenser coils, control failure
Main causes: leaky door or lid gasket, broken defrost heater, bad defrost bi-metal thermostat, defrost control failure, faulty compressor
Main causes: compressor failure, no refrigerant, faulty sensor, control failure, broken defrost heater, bad defrost bi-metal thermostat
Main causes: excessive frost, bad defrost heater, bad defrost bi-metal, control system failure, low refrigerant charge, compressor problems
Main causes: damaged door or lid gasket, cracked cabinet liner, bad defrost bi-metal thermostat, broken defrost heater, bad defrost timer
Main causes: lack of power, control system failure, broken compressor start relay, locked up compressor, compressor motor failure
Main causes: dirty condenser coils, condenser fan failure, dirty bottom front grill, leaky door or lid gasket

Repair guides for chest freezers

February 20, 2015
Lyle Weischwill
How to replace a freezer compressor start relay

The compressor start relay starts the compressor. If the compressor won’t start, follow these steps to replace a defective compressor start relay.

Repair difficulty
Time required
 15 minutes or less
How to replace a freezer temperature control thermostat

The cold control thermostat regulates the freezer temperature. A defective cold control thermostat can prevent the compressor from cycling on or off. Follow these steps to replace a defective cold control thermostat.

Repair difficulty
Time required
 15 minutes or less
February 1, 2015
Lyle Weischwill
How to replace a freezer lid gasket

The lid gasket prevents air and moisture from entering the freezer when the lid is closed. Follow these steps to replace a torn or damaged lid gasket.

Repair difficulty
Time required
 30 minutes or less

Articles and videos common to all freestanding freezers

Use the advice and tips in these articles and videos to get the most out of your freezer.

August 19, 2022

Are DIY appliance repairs safe?

Lyle Weischwill

Find out how to stay safe when repairing your appliances.

August 17, 2021

How to read a wiring schematic video

Lyle Weischwill

Learn how to decipher symbols so you can buy the right part for your problem.

December 15, 2014

5 tips for finding food in the freezer faster

Kim Hillegass

Don't get chapped hands digging through the icy depths. Get organized! Here's how.