Carrier
Central Air Conditioner

Model #38HDS024310 Official Carrier air conditioner

Here are the diagrams and repair parts for Carrier 38HDS024310 air conditioner, as well as links to manuals and error code tables, if available.

There are a couple of ways to find the part or diagram you need:

  • Click a diagram to see the parts shown on that diagram.
  • In the search box below, enter all or part of the part number or the part’s name.

Not all parts are shown on the diagrams—those parts are labeled NI, for “not illustrated”.

We encourage you to save the model to your profile, so it’s easy to access parts and manuals for your appliance whenever you log in.

For DIY troubleshooting advice and repair guides, visit our repair help section.

Showing 10 of 76 parts

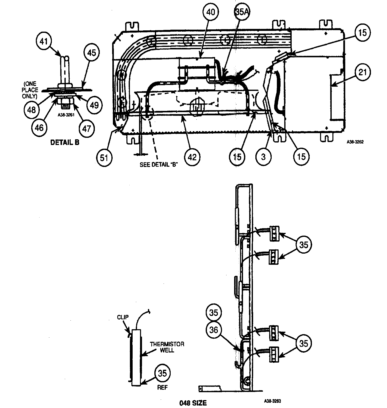
Clip#36A

Fan asy Diagram

Clip

Part #SW711A4141
This item is not returnable
In Stock
$2.16
Grille#6

Cabinet parts Diagram

Grille

Part #38QR400944
In Stock
$183.99
Top Panel#8

Cabinet parts Diagram

Top panel

Part #38QR400296
In Stock
$139.60
Nut#47

Cabinet parts Diagram

Nut

Part #AT39AB241
This item is not returnable
In Stock
$2.16
Pan Base#1

Cabinet parts Diagram

Pan base

Part #38QR400287
In Stock
$188.99
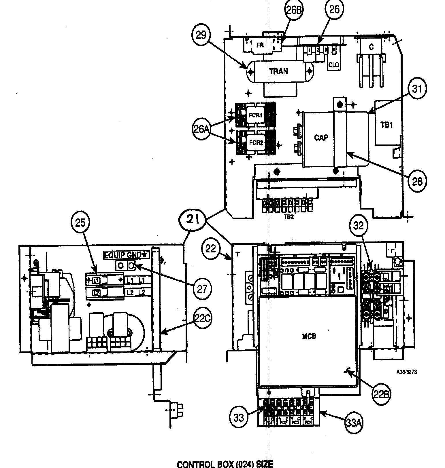
Connector#27

Control box Diagram

Connector

Part #HY90AZ021
This item is not returnable
In Stock
$7.08
Receptacle#26A

Control box Diagram

Receptacle

Part #HY07RB030
In Stock
$24.46
Terminal#33

Control box Diagram

Terminal

Part #HY84EF109
In Stock
$31.99
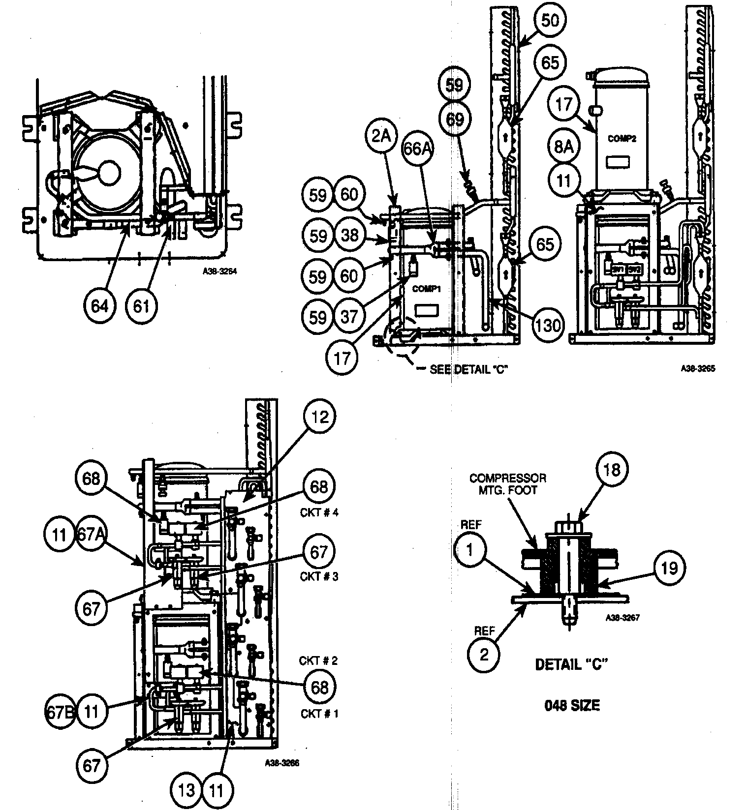
Grommet#19

Compressor 1 Diagram

Grommet

Part #P041-5102
This item is not returnable
In Stock
$2.16
Board,ctrl#22B

Control box Diagram

Board,ctrl

Part #CEPL130157-02
In Stock
$1129.64

Articles and videos common to all central air conditioners

November 30, 2022

2023 HVAC regulation changes and how they may affect you

By Lyle Weischwill

Find out how new DOE standards going into effect in 2023 can affect you and what you need to do.

October 24, 2022

Easy DIY appliance repairs that anyone can do

By Lyle Weischwill

Get advice on simple DIY fixes for appliances that you can safely do on your own.

August 5, 2022

Introducing new technical repair content that we’re developing for the Sears Technical Institute

By Lyle Weischwill

Learn about Sears Technical Institute and the advanced technical content being developed for aspiring appliance techs.