Aiwa
Compact Stereo System

Model #NSXAVH80 Official Aiwa compact stereo system

Here are the diagrams and repair parts for Aiwa NSXAVH80 compact stereo system, as well as links to manuals and error code tables, if available.

There are a couple of ways to find the part or diagram you need:

  • Click a diagram to see the parts shown on that diagram.
  • In the search box below, enter all or part of the part number or the part’s name.

Not all parts are shown on the diagrams—those parts are labeled NI, for “not illustrated”.

We encourage you to save the model to your profile, so it’s easy to access parts and manuals for your appliance whenever you log in.

For DIY troubleshooting advice and repair guides, visit our repair help section.

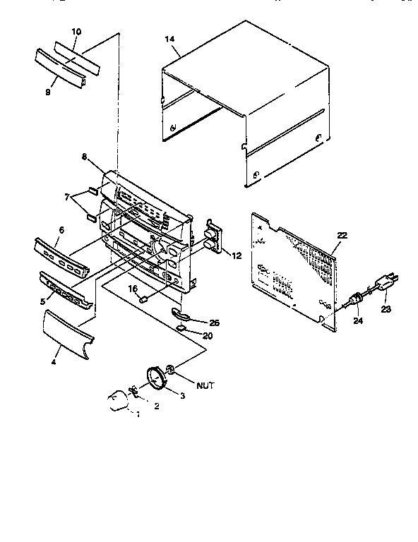
Showing 10 of 23 parts

Control

#NI

All parts Diagram

Control

Part #85NF5633010

The manufacturer no longer makes this part, and there's no substitute part

Reflector#5

Cabinet parts Diagram

Reflector

Part #86NT1022010

The manufacturer no longer makes this part, and there's no substitute part

Function Panel#11

Cabinet parts Diagram

Function panel

Part #86NT1006010

The manufacturer no longer makes this part, and there's no substitute part

Panel,geq#12

Cabinet parts Diagram

Panel,geq

Part #86NT2007010

The manufacturer no longer makes this part, and there's no substitute part

Window

#NI

All parts Diagram

Window

Part #86NV1008010

The manufacturer no longer makes this part, and there's no substitute part

Window#15

Cabinet parts Diagram

Window

Part #86NT1027010

The manufacturer no longer makes this part, and there's no substitute part

Ring,vol#9

Cabinet parts Diagram

Ring,vol

Part #86NT1026010

The manufacturer no longer makes this part, and there's no substitute part

Volume Knob#1

Cabinet parts Diagram

Volume knob

Part #86NT1021010

The manufacturer no longer makes this part, and there's no substitute part

Key,up/dow#3

Cabinet parts Diagram

Key,up/dow

Part #86NT1009010

The manufacturer no longer makes this part, and there's no substitute part

Am Ant

#NI

All parts Diagram

Am ant

Part #87006225010

The manufacturer no longer makes this part, and there's no substitute part