Kenmore
Water Pump

Model #390250400 Official Kenmore convertible deep well jet pump

Here are the diagrams and repair parts for Kenmore 390250400 convertible deep well jet pump, as well as links to manuals and error code tables, if available.

There are a couple of ways to find the part or diagram you need:

  • Click a diagram to see the parts shown on that diagram.
  • In the search box below, enter all or part of the part number or the part’s name.

Not all parts are shown on the diagrams—those parts are labeled NI, for “not illustrated”.

We encourage you to save the model to your profile, so it’s easy to access parts and manuals for your appliance whenever you log in.

For DIY troubleshooting advice and repair guides, visit our repair help section.

Showing 10 of 68 parts

Pump Shaft Seal#5

Motor Diagram

Rotary seal

Part #U9-6
Replaced by #U109-6B
?
Manufacturer substitution
This part replaces U9-6. Substitute parts can look different from the original.
In Stock
$106.69 | 
9% OFF 
Phone Price: $116.69
Pump Pressure Switch Tube#12

Motor Diagram

Switch tube

Part #U37-192P
Replaced by #U37-673P
?
Manufacturer substitution
This part replaces U37-192P. Substitute parts can look different from the original.
This item is not returnable
In Stock
$19.16 | 
10% OFF 
Was: $21.29
Jet Pump Air Volume Control Assembly#34

Air volume control package #42-2760 Diagram

Volume control

Part #U238-4
Replaced by #18395
?
Manufacturer substitution
This part replaces U238-4. Substitute parts can look different from the original.
Back Order
$28.89 | 
15% OFF 
Phone Price: $33.89
Pump Vertical Casing Adapter Seal Ring, 2-in#7A

Vertical casing adapters Diagram

Pump vertical casing adapter seal ring, 2-in

Part #J21-17
This item is not returnable
In Stock
$30.49 | 
14% OFF 
Phone Price: $35.49
Valve#10

Motor Diagram

Control valve

Part #L262-4PS
Replaced by #01322
?
Manufacturer substitution
This part replaces L262-4PS. Substitute parts can look different from the original.
In Stock
$39.19 | 
11% OFF 
Phone Price: $44.19
Pump Motor Assembly#1

Motor Diagram

Motor 3/4 hp

Part #J218-590A
Replaced by #J218-590PKG
?
Manufacturer substitution
This part replaces J218-590A. Substitute parts can look different from the original.
In Stock
$533.39 | 
$10.00 OFF 
Phone Price: $543.39
Pump Hose Fitting, 90-degree

See All Related Diagrams

Complete fitting

Part #U111-86
Replaced by #U111-212T
?
Manufacturer substitution
This part replaces U111-86. Substitute parts can look different from the original.
This item is not returnable
In Stock
$27.69 | 
15% OFF 
Phone Price: $32.69
Pump Shaft Seal#2

Motor Diagram

Slinger

Part #N69-1
Replaced by #17351-0009
?
Manufacturer substitution
This part replaces N69-1. Substitute parts can look different from the original.
This item is not returnable
In Stock
$8.89 | 
10% OFF 
Phone Price: $9.89
Connector#24

Motor Diagram

Connector

Part #L43-5C
In Stock
$19.77
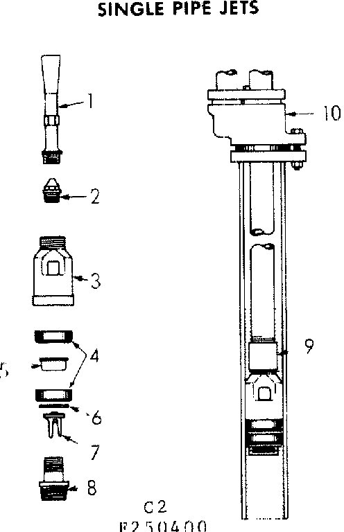
Pump Check Valve Seat#8A

Single pipe jets Diagram

In Stock
$169.59