Craftsman
Band Saw

Model #35121403 Official Craftsman 7 x 12" metal cutting band saw

Here are the diagrams and repair parts for Craftsman 35121403 7 x 12" metal cutting band saw, as well as links to manuals and error code tables, if available.

There are a couple of ways to find the part or diagram you need:

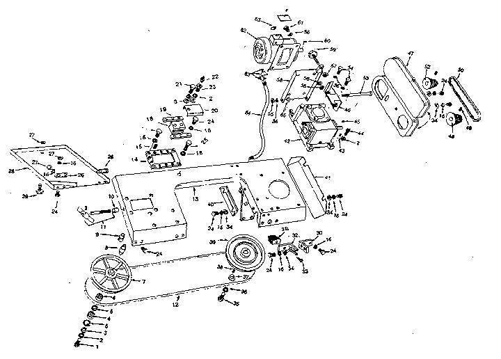
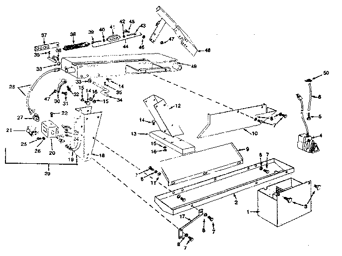
  • Click a diagram to see the parts shown on that diagram.
  • In the search box below, enter all or part of the part number or the part’s name.

Not all parts are shown on the diagrams—those parts are labeled NI, for “not illustrated”.

We encourage you to save the model to your profile, so it’s easy to access parts and manuals for your appliance whenever you log in.

For DIY troubleshooting advice and repair guides, visit our repair help section.

    Showing 10 of 227 parts

    Washer

    See All Related Diagrams

    Washer

    Part #STD551037

    The manufacturer no longer makes this part, and there's no substitute part

    Screw#5

    Base Diagram

    Screw

    Part #STD502502

    The manufacturer no longer makes this part, and there's no substitute part

    Hex Bolt#19

    Blade guides Diagram

    Hex bolt

    Part #STD522506

    The manufacturer no longer makes this part, and there's no substitute part

    Hex Nut#51

    Blade guides Diagram

    Hex nut

    Part #STD541010

    The manufacturer no longer makes this part, and there's no substitute part

    Hex Head Bolt, 5/16-18 x 3/4-in, 5-pack

    See All Related Diagrams

    Hex head bolt, 5/16-18 x 3/4-in, 5-pack

    Part #STD523107

    The manufacturer no longer makes this part, and there's no substitute part

    Washer

    See All Related Diagrams

    Washer

    Part #STD551031

    The manufacturer no longer makes this part, and there's no substitute part

    Screw

    See All Related Diagrams

    Screw

    Part #STD511003

    The manufacturer no longer makes this part, and there's no substitute part

    Washer

    See All Related Diagrams

    Washer

    Part #STD551150

    The manufacturer no longer makes this part, and there's no substitute part

    Bolt

    See All Related Diagrams

    Bolt

    Part #STD522505

    The manufacturer no longer makes this part, and there's no substitute part

    Hex Head Bolt, 5/16-18 x 1-1/4-in#54

    Blade drive Diagram

    Hex head bolt, 5/16-18 x 1-1/4-in

    Part #STD523112

    The manufacturer no longer makes this part, and there's no substitute part

    Symptoms for band saws

    Choose a symptom to see related band saw repairs.

    Main causes: damaged rubber tire, worn wheel bearings, loose blade tension, dull saw blade
    Main causes: dull blade, improper feeding, loose blade tension, not using a work piece guide
    Main causes: broken saw blade, bad drive belt, damaged rubber tire
    Main causes: lack of electrical power, broken power cord, bad on/off switch, faulty drive motor
    Main causes: dull blade, using the wrong type of blade, weak drive motor
    Main causes: angle indicator needs adjustment, dull blade
    Main causes: dull blade, using the wrong type of blade, feeding work piece to quickly, loose blade tension

    Repair guides for band saws

    These step-by-step repair guides will help you safely fix what’s broken on your band saw.

    April 1, 2015
    By Lyle Weischwill
    How to replace a band saw on-off switch

    If the switch won't turn the band saw on or off, it could be defective. Replace the switch, using these steps.

    Repair difficulty
    Time required
     15 minutes or less
    April 1, 2015
    By Lyle Weischwill
    How to replace a band saw drive belt

    If the motor runs but the blade doesn't move, it could be that the drive belt is broken. Here's how to replace it.

    Repair difficulty
    Time required
     15 minutes or less
    April 1, 2015
    By Lyle Weischwill
    How to replace a band saw blade

    If the saw blade is dull or damaged and isn't cutting cleanly, replace the blade following these steps.

    Repair difficulty
    Time required
     15 minutes or less

    Articles and videos for band saws

    Use the advice and tips in these articles and videos to get the most out of your band saw.

    June 29, 2022

    Top questions about Sears and Sears PartsDirect

    By Lyle Weischwill

    Get answers to frequently asked questions about Sears and Sears PartsDirect.

    January 18, 2016

    How to use a multimeter to test electrical parts video

    By Lyle Weischwill

    Learn how to use a multimeter to check for wiring problems in an appliance that's not working

    April 1, 2015

    Band saw common questions

    By Lyle Weischwill

    These answers to common questions can help you make the most of your band saw.