Kenmore
Electric Range

Model #91145461096 Official Kenmore 30" electric drop-in range

Here are the diagrams and repair parts for Kenmore 91145461096 30" electric drop-in range, as well as links to manuals and error code tables, if available.

There are a couple of ways to find the part or diagram you need:

  • Click a diagram to see the parts shown on that diagram.
  • In the search box below, enter all or part of the part number or the part’s name.

Not all parts are shown on the diagrams—those parts are labeled NI, for “not illustrated”.

We encourage you to save the model to your profile, so it’s easy to access parts and manuals for your appliance whenever you log in.

For DIY troubleshooting advice and repair guides, visit our repair help section.

Installation guideError Codes

Showing 10 of 142 parts

Range Bake Element (replaces 325883, 340521, 8029, WB44K5012E)#251

Body section Diagram

In Stock
$64.37 | 
7% OFF 
Phone Price: $69.37
Range Oven Temperature Sensor (replaces WB02X5318, WB20K0004, WB20K4, WB20X0106, WB20X106, WB21X5263, WB21X5275, WB21X5296, WB21X5318, WB21X5321, WB21X5347, WB8K5007)#253

Body section Diagram

Sensor

Part #WB21X5347
Replaced by #WB21X5301
?
Manufacturer substitution
This part replaces WB21X5347. Substitute parts can look different from the original.
BEST SELLER
Back Order
$95.11 | 
10% OFF 
Phone Price: $105.11
Range Drip Pan (replaces 8008, WB31M2, WB32K10035, WB32X0106, WB32X5063, WB32X5073)#60

Main top Diagram

Drip pan 8"

Part #WB31M0002
Replaced by #WB32X106
?
Manufacturer substitution
This part replaces WB31M0002. Substitute parts can look different from the original.
BEST SELLER
In Stock
$17.38 | 
10% OFF 
Phone Price: $19.38
Range Broil Element Support (replaces WB02K9719, WB02X9719, WB2X9438, WB2X9576)#294

Body section Diagram

Broil support

Part #WB02X9719
Replaced by #WB2X9719
?
Manufacturer substitution
This part replaces WB02X9719. Substitute parts can look different from the original.
BEST SELLER
In Stock
$7.69 | 
12% OFF 
Phone Price: $8.69
Range Broil Element#252

Body section Diagram

Broil element

Part #WB44M0005
Replaced by #WB44M5
?
Manufacturer substitution
This part replaces WB44M0005. Substitute parts can look different from the original.
BEST SELLER
Back Order
$66.41 | 
10% OFF 
Was: $73.79
Range Surface Element Control Switch#19

Control panel Diagram

In Stock
$80.49 | 
6% OFF 
Phone Price: $85.49
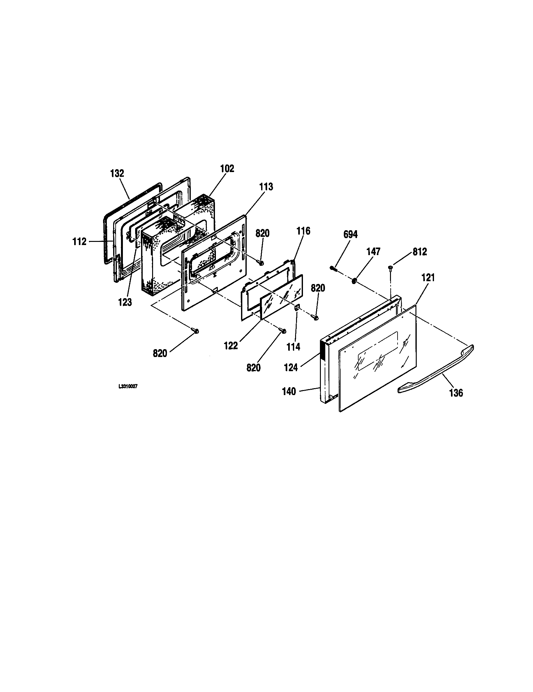
Range Oven Door Seal#132

Door Diagram

Range oven door seal

Part #WB02T10013
In Stock
$68.69 | 
7% OFF 
Phone Price: $73.69
Range Oven Control Overlay (Black) (replaces WB27T10195)#18

Control panel Diagram

Range oven control overlay (black) (replaces wb27t10195)

Part #WB27T10193
This item is not returnable
In Stock
$22.58 | 
18% OFF 
Phone Price: $27.58
Range Coil Surface Element, 8-in#57

Main top Diagram

In Stock
$101.39 | 
9% OFF 
Phone Price: $111.39
Range Drip Pan#59

Main top Diagram

Brnr bowl 6"

Part #WB31M0001
Replaced by #WB31M1
?
Manufacturer substitution
This part replaces WB31M0001. Substitute parts can look different from the original.
This item is not returnable
In Stock
$11.39 | 
15% OFF 
Phone Price: $13.39

Symptoms common to all ranges

Choose a symptom to see related range repairs.

Main causes: food splatters, spilling food on the oven door, allowing liquid to drip through oven door vent when cleaning the door
Main causes: power supply failure, blown thermal fuse, bad relay control board, damaged terminal block, wiring failure
Main causes: broken oven door lock assembly, wiring failure, electronic control board problem
Main causes: faulty temperature sensor, electronic control board problem, control thermostat failure, weak burner igniter, oven door problem
Main causes: broken broiler element, weak or broken broil burner igniter, control system failure, faulty temperature sensor, wiring failure
Main causes: power supply problem, control thermostat or electronic control board failure, broken element, bad burner igniter
Main causes: bad bake element, broken burner igniter, control system failure, blown thermal fuse, faulty temperature sensor, wiring failure

Repair guides common to all ranges

These step-by-step repair guides will help you safely fix what’s broken on your range.

July 20, 2018
Lyle Weischwill
How to replace a range oven door switch

The oven door switch detects whether the oven door is closed and helps control the oven light. Replace the switch if it doesn’t control the oven light properly.

Repair difficulty
Time required
 30 minutes or less
February 20, 2015
Lyle Weischwill
How to replace a range oven door lock assembly

Oven door not locking? You can replace the lock assembly in less than 30 minutes. Here's how.

Repair difficulty
Time required
 15 minutes or less

Articles and videos common to all ranges

Use the advice and tips in these articles and videos to get the most out of your range.

December 27, 2021

How does a self-cleaning oven work?

Lyle Weischwill

Learn how the self-clean cycle works in an oven.

October 1, 2019

Coil surface element on range not heating video

Lyle Weischwill

Learn how to troubleshoot a coil surface element on your stove that won't heat.

May 23, 2018

F90 error code troubleshooting for ranges video

Wayne Archer

Troubleshoot the door lock system to find and fix the problem.