Whirlpool
Electric Cooktop

Model #RC8400XBW1 Official Whirlpool electric cooktop

Here are the diagrams and repair parts for Whirlpool RC8400XBW1 electric cooktop, as well as links to manuals and error code tables, if available.

There are a couple of ways to find the part or diagram you need:

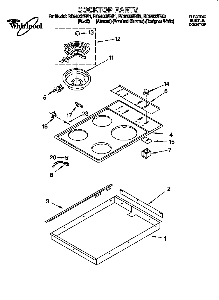
  • Click a diagram to see the parts shown on that diagram.
  • In the search box below, enter all or part of the part number or the part’s name.

Not all parts are shown on the diagrams—those parts are labeled NI, for “not illustrated”.

We encourage you to save the model to your profile, so it’s easy to access parts and manuals for your appliance whenever you log in.

For DIY troubleshooting advice and repair guides, visit our repair help section.

Error Codes

Showing 10 of 38 parts

Range Surface Element, 8-in (replaces 4163771, 660533, 878402)

Range coil surface element, 8-in

Part #660533
Replaced by #WP660533
?
Manufacturer substitution
This part replaces 660533. Substitute parts can look different from the original.
BEST SELLER
In Stock
$22.90 | 
56% OFF 
MSRP: $52.00
Appliance Screw

Screw

Part #313638
Replaced by #WP488729
?
Manufacturer substitution
This part replaces 313638. Substitute parts can look different from the original.
BEST SELLER
This item is not returnable
In Stock
$4.39 | 
19% OFF 
Phone Price: $5.39
Screw

Screw (silver)

Part #313808
Replaced by #WP313808
?
Manufacturer substitution
This part replaces 313808. Substitute parts can look different from the original.
This item is not returnable
In Stock
$4.39 | 
19% OFF 
Phone Price: $5.39
Range Drip Pan

Drip bowl

Part #3169204
Replaced by #W10290353RW
?
Manufacturer substitution
This part replaces 3169204. Substitute parts can look different from the original.
In Stock
$15.69 | 
11% OFF 
Phone Price: $17.69
Cooktop Element Control Switch Seal

Cooktop element control switch seal

Part #3183956
This item is not returnable
In Stock
$31.09 | 
14% OFF 
Phone Price: $36.09
Range Surface Element Terminal Block Clip

Retn clip(4)

Part #312606
Replaced by #WP4332752
?
Manufacturer substitution
This part replaces 312606. Substitute parts can look different from the original.
This item is not returnable
In Stock
$6.49 | 
13% OFF 
Phone Price: $7.49
Range Clip

Rivet

Part #3148789
Replaced by #814103
?
Manufacturer substitution
This part replaces 3148789. Substitute parts can look different from the original.
This item is not returnable
In Stock
$5.35
Hardware

#NI

All parts Diagram

Hardware

Part #3172515
Replaced by #8184949
?
Manufacturer substitution
This part replaces 3172515. Substitute parts can look different from the original.
This item is not returnable
In Stock
$2.16
Range Clip

Clip

Part #3148790
Replaced by #814103
?
Manufacturer substitution
This part replaces 3148790. Substitute parts can look different from the original.
This item is not returnable
In Stock
$5.35
Range Coil Surface Element, 6-in (replaces 660532)

Range coil surface element, 6-in

Part #660532
Replaced by #WP660532
?
Manufacturer substitution
This part replaces 660532. Substitute parts can look different from the original.
In Stock
$29.78 | 
31% OFF 
MSRP: $43.00

Symptoms common to all cooktops

Choose a symptom to see related cooktop repairs.

Main causes: lack of electrical power, gas supply failure, bad pressure regulator, control system failure

Repair guides for electric cooktops

How to replace a coil surface element on an electric cooktop

Easily replace a coil surface element in 15 minutes or less by following these step-by-step instructions.

Repair difficulty
Time required
 15 minutes or less
How to replace the glass top on an electric cooktop

Don't use a cracked or damage glass cooktop—replace it, using these instructions to guide you.

Repair difficulty
Time required
 30 minutes or less
How to replace a radiant element on an electric cooktop

Follow these step-by-step instructions to replace a damaged radiant element on your electric cooktop when the element won’t heat when it receives voltage from the control.

Repair difficulty
Time required
 45 minutes or less

Articles and videos common to all cooktops

Use the advice and tips in these articles and videos to get the most out of your cooktop.

November 12, 2022

5 Holiday Cleaning Tasks Essential to Boosting Your Home’s Image

Lyle Weischwill

Get tips on completing essential holiday cleaning tasks to brighten your home.

August 19, 2022

Are DIY appliance repairs safe?

Lyle Weischwill

Find out how to stay safe when repairing your appliances.

August 17, 2021

How to read a wiring schematic video

Lyle Weischwill

Learn how to decipher symbols so you can buy the right part for your problem.