Hoover
Upright Vacuum

Model #U4209 Official Hoover upright vacuum

Here are the diagrams and repair parts for Hoover U4209 upright vacuum, as well as links to manuals and error code tables, if available.

There are a couple of ways to find the part or diagram you need:

  • Click a diagram to see the parts shown on that diagram.
  • In the search box below, enter all or part of the part number or the part’s name.

Not all parts are shown on the diagrams—those parts are labeled NI, for “not illustrated”.

We encourage you to save the model to your profile, so it’s easy to access parts and manuals for your appliance whenever you log in.

For DIY troubleshooting advice and repair guides, visit our repair help section.

Owner’s manual

Showing 10 of 112 parts

Motor Housing#12

Motor assembly Diagram

Motor housing

Part #42193004

The manufacturer no longer makes this part, and there's no substitute part

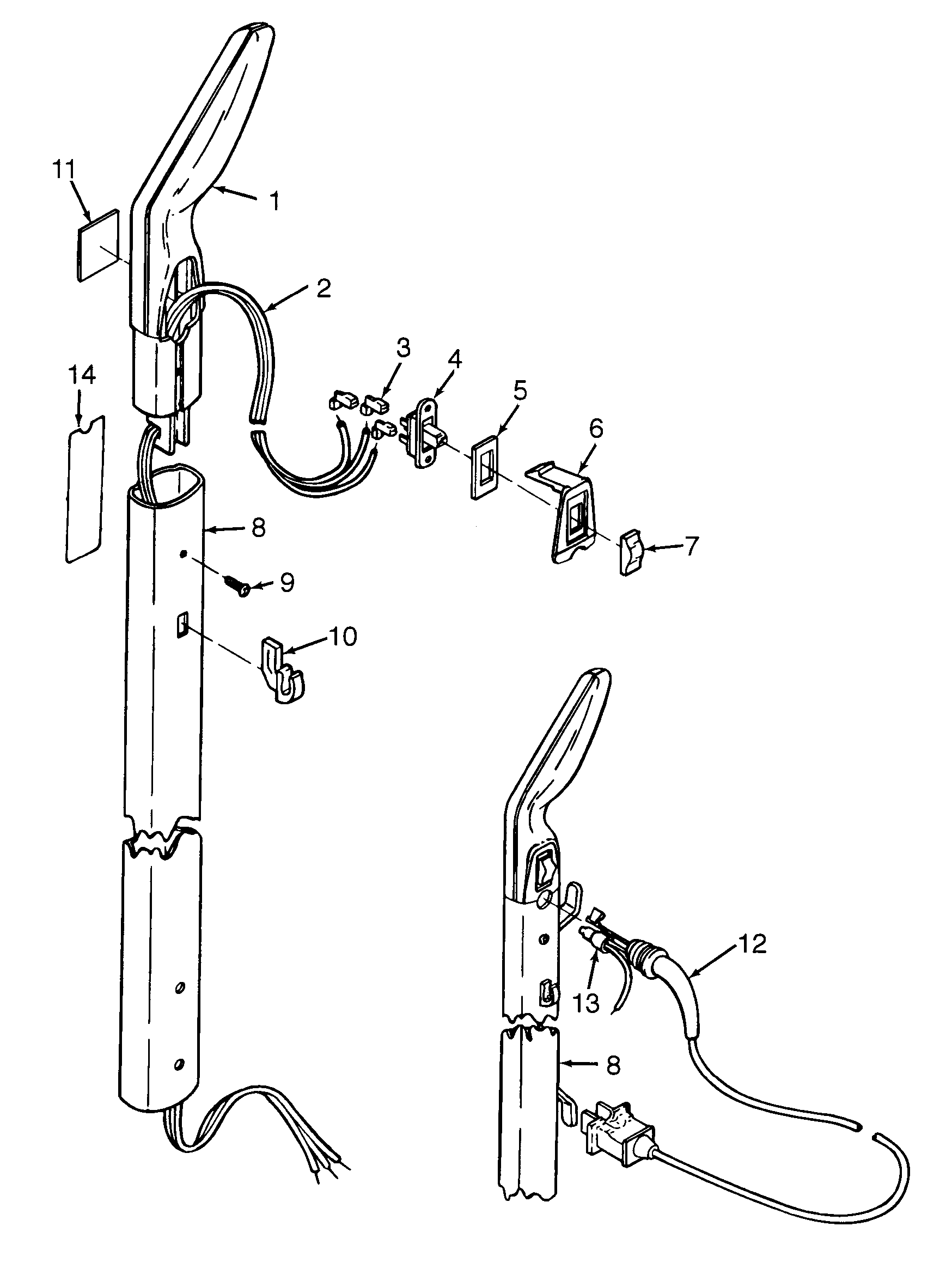
Griddle Handle#1

Handle Diagram

Griddle handle

Part #39454060

The manufacturer no longer makes this part, and there's no substitute part

Vacuum Floor Brush Attachment Swivel#20A

Cleaningtools Diagram

Vacuum floor brush attachment swivel

Part #38644020

The manufacturer no longer makes this part, and there's no substitute part

Hoover Vacuum Bag, Type A, 3-pack#7

Outerbag Diagram

Hoover vacuum bag, type a, 3-pack

Part #4010001A

The manufacturer no longer makes this part, and there's no substitute part

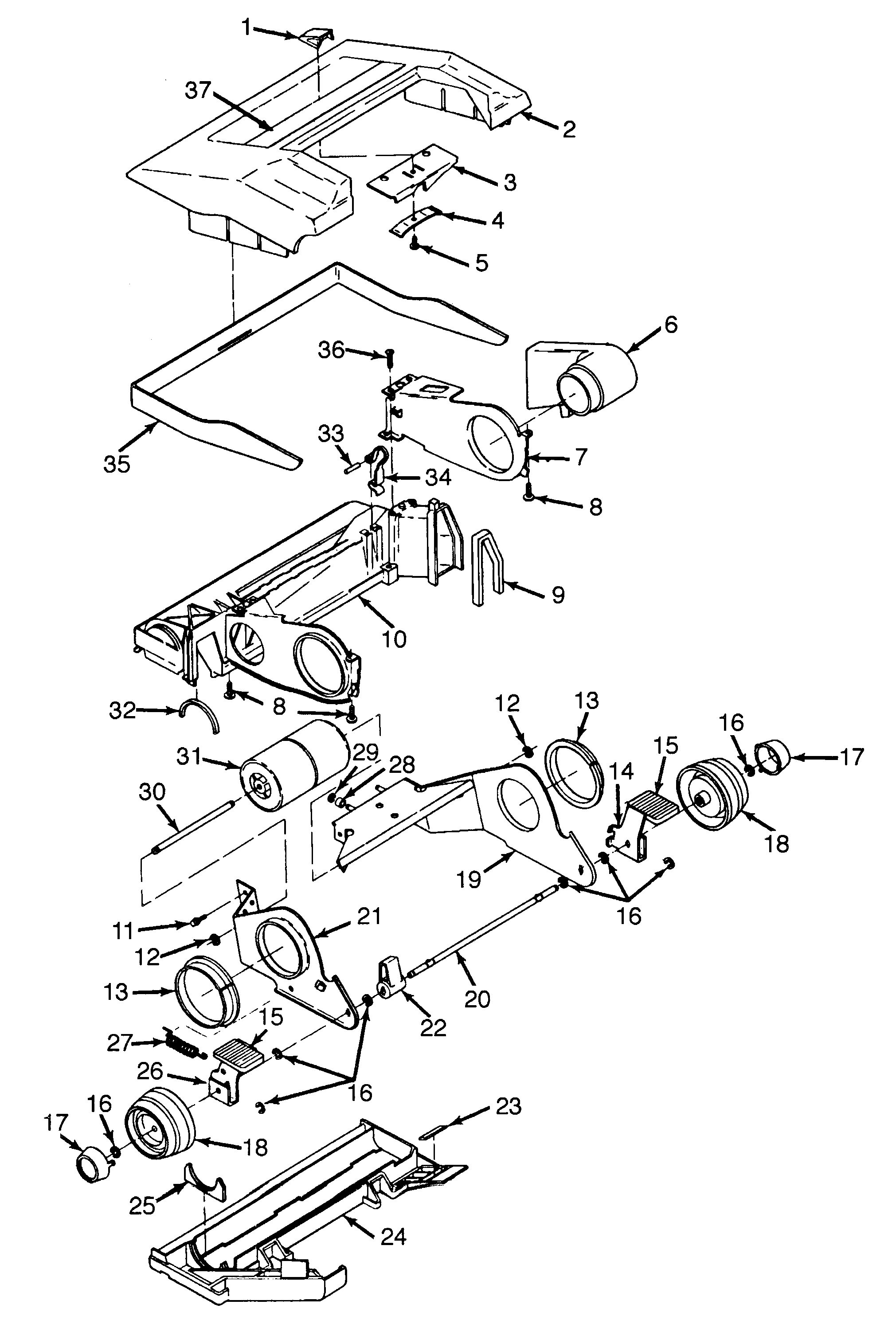
Axle#20

Mainbody, hood Diagram

Axle

Part #32547002

The manufacturer no longer makes this part, and there's no substitute part

Motor Mount

See All Related Diagrams

Motor mount

Part #32162003

The manufacturer no longer makes this part, and there's no substitute part

Cam#3

Mainbody, hood Diagram

Cam

Part #38563018

The manufacturer no longer makes this part, and there's no substitute part

Wire Tie#33

Outerbag Diagram

Wire tie

Part #27479307

The manufacturer no longer makes this part, and there's no substitute part

Canister Vacuum Screw#8

Mainbody, hood Diagram

Canister vacuum screw

Part #21447014

The manufacturer no longer makes this part, and there's no substitute part

Brake Pad#4A

Outerbag Diagram

Brake pad

Part #36222008

The manufacturer no longer makes this part, and there's no substitute part

Symptoms common to all vacuum cleaners

Choose a symptom to see related vacuum cleaner repairs.

Main causes: damaged vacuum hose, clogged motor air filter, bad suction motor
Main causes: broken drive belt, damaged brush roll, tripped brush roll motor overload, bad brush roll motor, wiring failure
Main causes: lack of power, bad power cord, drive motor failure, wiring failure
Main causes: weak suction motor, vacuum bag is full, clog in suction air path, dirty exhaust filter, leaky vacuum hose

Articles and videos common to all vacuum cleaners

Use the advice and tips in these articles and videos to get the most out of your vacuum.

June 29, 2022

Top questions about Sears and Sears PartsDirect

Lyle Weischwill

Get answers to frequently asked questions about Sears and Sears PartsDirect.

January 5, 2015

10 must-have tools for appliance repair

Lyle Weischwill

Come see which tools made our top 10 must-haves for DIY appliance repair.

July 1, 2013

Vacuum common questions

Lyle Weischwill

Find the answers to frequently asked questions about vacuum cleaners.