Sea-Snark
Boating

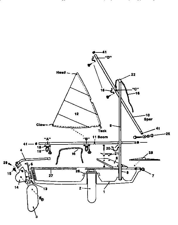
Model #SB102 Official Sea-Snark sea-snark sb102

Here are the diagrams and repair parts for Sea-Snark SB102 sea-snark sb102, as well as links to manuals and error code tables, if available.

There are a couple of ways to find the part or diagram you need:

  • Click a diagram to see the parts shown on that diagram.
  • In the search box below, enter all or part of the part number or the part’s name.

Not all parts are shown on the diagrams—those parts are labeled NI, for “not illustrated”.

We encourage you to save the model to your profile, so it’s easy to access parts and manuals for your appliance whenever you log in.

For DIY troubleshooting advice and repair guides, visit our repair help section.

Showing 10 of 29 parts

Cotter Pin#13

Sea-snark sb102 Diagram

Cotter pin

Part #60060

The manufacturer no longer makes this part, and there's no substitute part

Line Set#16

Sea-snark sb102 Diagram

Line set

Part #74080

The manufacturer no longer makes this part, and there's no substitute part

SEA SNARK SAIL ASSEMBLY (45 SQ. FT. SAIL) (40021 SAIL; 62460 MAST CAP; 74070 MAST, BOOM SPAR; 62510 2-WASHERS; 62480 SCREW; 31220 LOCKNU#23

Sea-snark sb102 Diagram

Sea snark sail assembly (45 sq. ft. sail) (40021 sail; 62460 mast cap; 74070 mast, boom spar; 62510 2-washers; 62480 screw; 31220 locknu

Part #891001

The manufacturer no longer makes this part, and there's no substitute part

Sail Asm#23A

Sea-snark sb102 Diagram

Sail asm

Part #89110

The manufacturer no longer makes this part, and there's no substitute part

Mast Sleeve#8

Sea-snark sb102 Diagram

Mast sleeve

Part #74030

The manufacturer no longer makes this part, and there's no substitute part

L Pin#6

Sea-snark sb102 Diagram

L pin

Part #62250

The manufacturer no longer makes this part, and there's no substitute part

Corn Bolt As#25

Sea-snark sb102 Diagram

Corn bolt as

Part #P-62480

The manufacturer no longer makes this part, and there's no substitute part

Cleat Asm#21

Sea-snark sb102 Diagram

Cleat asm

Part #P-30680

The manufacturer no longer makes this part, and there's no substitute part

Bow Eye As#7

Sea-snark sb102 Diagram

Bow eye as

Part #P-62360

The manufacturer no longer makes this part, and there's no substitute part

Sail#12

Sea-snark sb102 Diagram

Sail

Part #40021

The manufacturer no longer makes this part, and there's no substitute part