Samsung
Digital Camcorder

Model #SMX-F50BN/XAA Official Samsung camcorder

Here are the diagrams and repair parts for Samsung SMX-F50BN-XAA camcorder, as well as links to manuals and error code tables, if available.

There are a couple of ways to find the part or diagram you need:

  • Click a diagram to see the parts shown on that diagram.
  • In the search box below, enter all or part of the part number or the part’s name.

Not all parts are shown on the diagrams—those parts are labeled NI, for “not illustrated”.

We encourage you to save the model to your profile, so it’s easy to access parts and manuals for your appliance whenever you log in.

For DIY troubleshooting advice and repair guides, visit our repair help section.

Showing 10 of 93 parts

Memory Cam#5-6

Lcd assy Diagram

Memory cam

Part #AD97-16499B

The manufacturer no longer makes this part, and there's no substitute part

Switch#NI

Chassis assy Diagram

Switch

Part #3404-001216

The manufacturer no longer makes this part, and there's no substitute part

Bracket-nu

See All Related Diagrams

Bracket-nu

Part #AD61-12033A

The manufacturer no longer makes this part, and there's no substitute part

Integrated Circuit#NI

Chassis assy Diagram

Integrated circuit

Part #1203-004021

The manufacturer no longer makes this part, and there's no substitute part

Integrated Circuit#NI

Chassis assy Diagram

Integrated circuit

Part #1203-005514

The manufacturer no longer makes this part, and there's no substitute part

Li-Ion Battery#NI

Chassis assy Diagram

Li-ion battery

Part #4302-001225

The manufacturer no longer makes this part, and there's no substitute part

Cable Comp#NI

Chassis assy Diagram

Cable comp

Part #AD39-00184A

The manufacturer no longer makes this part, and there's no substitute part

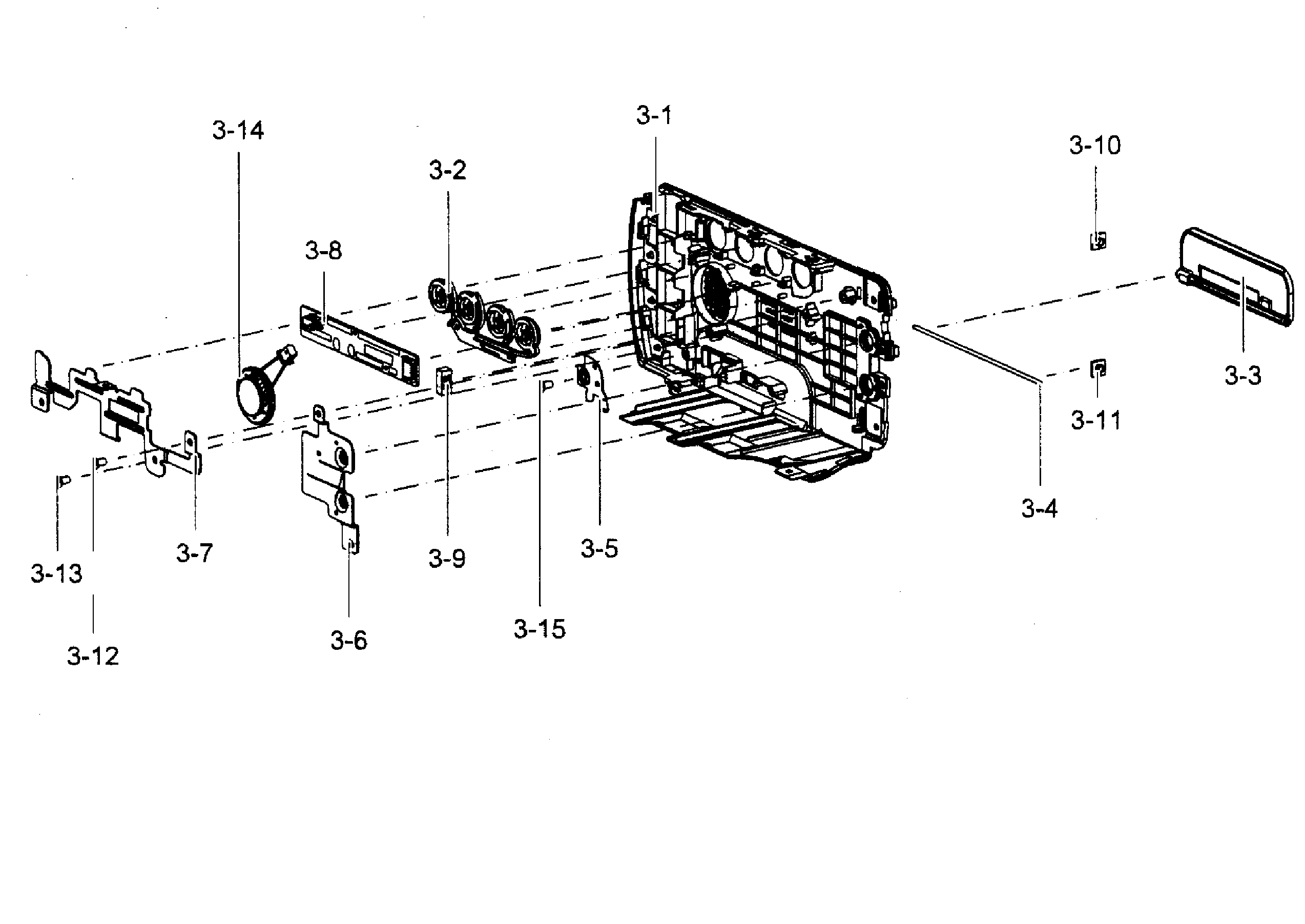
Pcb Left#3-8

Left case Diagram

Pcb left

Part #AD92-01496A

The manufacturer no longer makes this part, and there's no substitute part

Battery#NI

Chassis assy Diagram

Battery

Part #AD43-00201A

The manufacturer no longer makes this part, and there's no substitute part

Magnet#3-9

Left case Diagram

Magnet

Part #AD61-02519A

The manufacturer no longer makes this part, and there's no substitute part