Snark
Boating

Model #SB150 Official Snark sea devil sb150

Here are the diagrams and repair parts for Snark SB150 sea devil sb150, as well as links to manuals and error code tables, if available.

There are a couple of ways to find the part or diagram you need:

  • Click a diagram to see the parts shown on that diagram.
  • In the search box below, enter all or part of the part number or the part’s name.

Not all parts are shown on the diagrams—those parts are labeled NI, for “not illustrated”.

We encourage you to save the model to your profile, so it’s easy to access parts and manuals for your appliance whenever you log in.

For DIY troubleshooting advice and repair guides, visit our repair help section.

Showing 10 of 24 parts

Cotter Pin#12

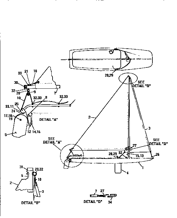
Main assembly Diagram

Cotter pin

Part #60060

The manufacturer no longer makes this part, and there's no substitute part

Eye Bolt#32

Main assembly Diagram

Eye bolt

Part #P-227-30

The manufacturer no longer makes this part, and there's no substitute part

Cap#30

Main assembly Diagram

Cap

Part #288-30

The manufacturer no longer makes this part, and there's no substitute part

Sailboat Jib Sail#3

Main assembly Diagram

Sailboat jib sail

Part #J-40024

The manufacturer no longer makes this part, and there's no substitute part

Hull Only#1

Main assembly Diagram

Hull only

Part #H-SB150

The manufacturer no longer makes this part, and there's no substitute part

Bullet Block#9

Main assembly Diagram

Bullet block

Part #31440

The manufacturer no longer makes this part, and there's no substitute part

Cap#31

Main assembly Diagram

Cap

Part #291-30

The manufacturer no longer makes this part, and there's no substitute part

Main Sail#2

Main assembly Diagram

Main sail

Part #40024

The manufacturer no longer makes this part, and there's no substitute part

L Pin#8

Main assembly Diagram

L pin

Part #62250

The manufacturer no longer makes this part, and there's no substitute part

Mast(144")#6

Main assembly Diagram

Mast(144")

Part #284-30

The manufacturer no longer makes this part, and there's no substitute part