Carrier
Central Air Conditioner

Model #38TKB030 SERIES300 Official Carrier condensing unit

Here are the diagrams and repair parts for Carrier 38TKB030-SERIES300 condensing unit, as well as links to manuals and error code tables, if available.

There are a couple of ways to find the part or diagram you need:

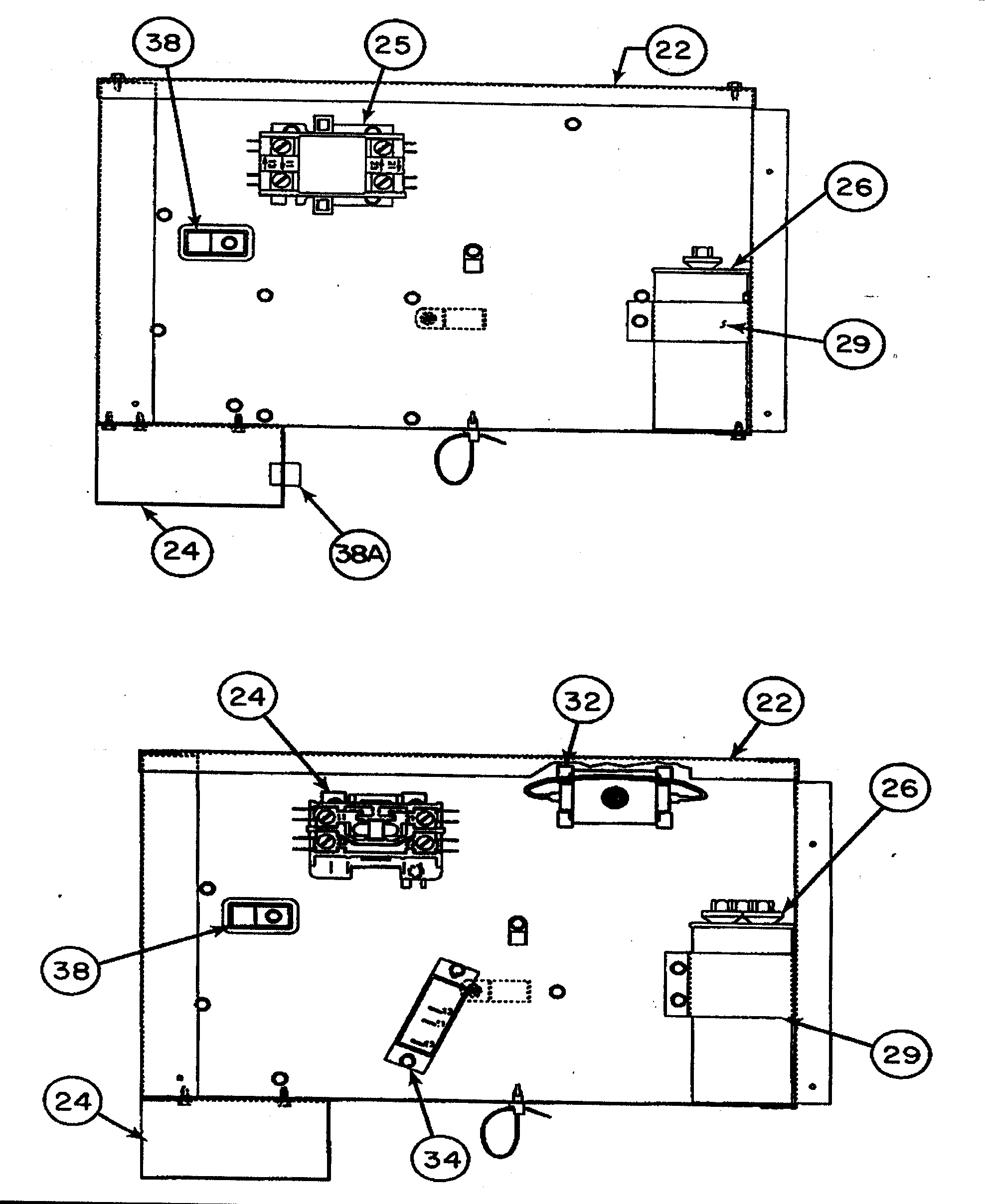
  • Click a diagram to see the parts shown on that diagram.
  • In the search box below, enter all or part of the part number or the part’s name.

Not all parts are shown on the diagrams—those parts are labeled NI, for “not illustrated”.

We encourage you to save the model to your profile, so it’s easy to access parts and manuals for your appliance whenever you log in.

For DIY troubleshooting advice and repair guides, visit our repair help section.

Installation guideOwner’s manual

Showing 10 of 55 parts

Nameplate#8

Inlet grille/service panel Diagram

Nameplate

Part #312250-402
This item is not returnable
In Stock
$6.44
Central Air Conditioner Capacitor Strap#29

Control box/cover Diagram

Central air conditioner capacitor strap

Part #317739-302
This item is not returnable
In Stock
$2.56
Central Air Conditioner Run Capacitor#26

Control box/cover Diagram

Capactr dual

Part #P291-3553RS
Replaced by #CAP050300440RSP
?
Manufacturer substitution
This part replaces P291-3553RS. Substitute parts can look different from the original.
This item is not returnable
In Stock
$29.33 | 
15% OFF 
Phone Price: $34.33
Valve Piston#48

Top/control box cover Diagram

Valve piston

Part #EA52PH070
This item is not returnable
In Stock
$4.50
Filter Drier#NI

Inlet grille/service panel Diagram

Filter drier

Part #P502-8083S
In Stock
$34.00
Fan#41

Fan blade/pan base Diagram

Fan

Part #LA01RA015
In Stock
$70.50
Fan,orific#43

Fan blade/pan base Diagram

Fan,orific

Part #312292-401
In Stock
$24.49
Paint#NI

Inlet grille/service panel Diagram

Paint

Part #313974-752
In Stock
$30.49
Outer Grille

See All Related Diagrams

Outer grille

Part #312210-702137
In Stock
$529.60
Muffler#52

Compressor/condenser coil 3 Diagram

Muffler

Part #LM10KH004
In Stock
$8.78

Articles and videos common to all central air conditioners

November 30, 2022

2023 HVAC regulation changes and how they may affect you

By Lyle Weischwill

Find out how new DOE standards going into effect in 2023 can affect you and what you need to do.

October 24, 2022

Easy DIY appliance repairs that anyone can do

By Lyle Weischwill

Get advice on simple DIY fixes for appliances that you can safely do on your own.

August 5, 2022

Introducing new technical repair content that we’re developing for the Sears Technical Institute

By Lyle Weischwill

Learn about Sears Technical Institute and the advanced technical content being developed for aspiring appliance techs.