Noma
Accessory

Model #5705-0600 Official Noma snow thrower attachment

Here are the diagrams and repair parts for Noma 5705-0600 snow thrower attachment, as well as links to manuals and error code tables, if available.

There are a couple of ways to find the part or diagram you need:

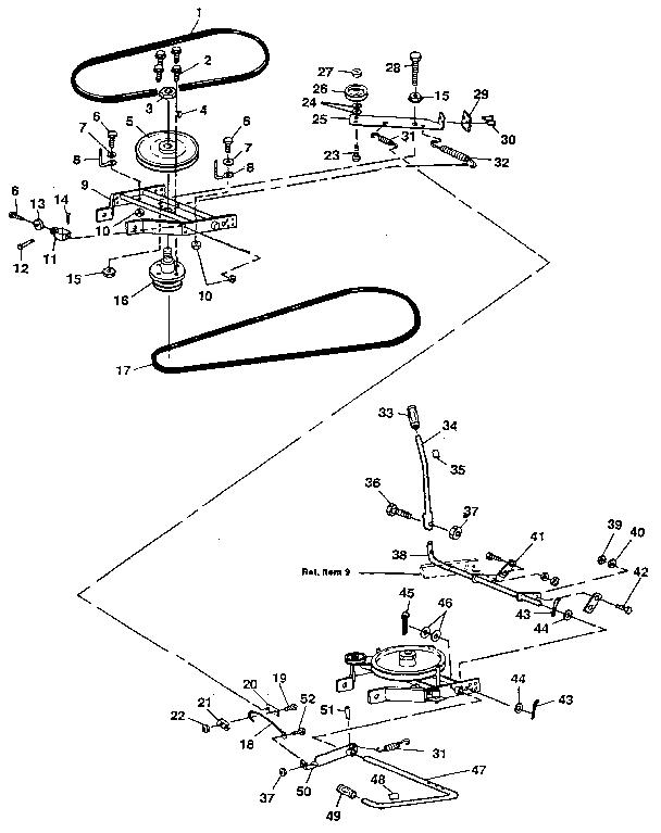
  • Click a diagram to see the parts shown on that diagram.
  • In the search box below, enter all or part of the part number or the part’s name.

Not all parts are shown on the diagrams—those parts are labeled NI, for “not illustrated”.

We encourage you to save the model to your profile, so it’s easy to access parts and manuals for your appliance whenever you log in.

For DIY troubleshooting advice and repair guides, visit our repair help section.

Showing 10 of 162 parts

Snowblower Auger Shear Bolt Sleeve#94

Drive assembly Diagram

1/4" spacer

Part #3943
Replaced by #703058
?
Manufacturer substitution
This part replaces 3943. Substitute parts can look different from the original.
BEST SELLER
In Stock
$12.09 | 
14% OFF 
Phone Price: $14.09
Snowblower Nut

See All Related Diagrams

Lock nut

Part #1502
Replaced by #703251
?
Manufacturer substitution
This part replaces 1502. Substitute parts can look different from the original.
BEST SELLER
In Stock
$8.07 | 
11% OFF 
Phone Price: $9.07
Snowblower Gearbox Oil Seal#74

Drive assembly Diagram

Oil seal

Part #24274
Replaced by #9566MA
?
Manufacturer substitution
This part replaces 24274. Substitute parts can look different from the original.
This item is not returnable
In Stock
$20.89 | 
19% OFF 
Phone Price: $25.89
Locknut 18#33

Drive assembly Diagram

Locknut 18

Part #271184

The manufacturer no longer makes this part, and there's no substitute part

Flat Washer#7

Pulley Diagram

Flat washer

Part #120393

The manufacturer no longer makes this part, and there's no substitute part

Snowblower Flat Washer#76

Drive assembly Diagram

Washer

Part #48275
Replaced by #48275MA
?
Manufacturer substitution
This part replaces 48275. Substitute parts can look different from the original.
This item is not returnable
In Stock
$11.03 | 
15% OFF 
Phone Price: $13.03
Lock Nut

See All Related Diagrams

Lock nut

Part #1498

The manufacturer no longer makes this part, and there's no substitute part

Lawn & Garden Equipment Nut#55

Drive assembly Diagram

Lock nut

Part #51335
Replaced by #703233
?
Manufacturer substitution
This part replaces 51335. Substitute parts can look different from the original.
This item is not returnable
In Stock
$7.49 | 
12% OFF 
Phone Price: $8.49
Snowblower Flat Washer#90

Drive assembly Diagram

Information

Part #50748
Replaced by #53748MA
?
Manufacturer substitution
This part replaces 50748. Substitute parts can look different from the original.
This item is not returnable
In Stock
$16.69 | 
11% OFF 
Phone Price: $18.69
Lawn Tractor Snow Blade Attachment Skid Shoe#31

Drive assembly Diagram

Pf skid, a

Part #1537
Replaced by #582905MA
?
Manufacturer substitution
This part replaces 1537. Substitute parts can look different from the original.
In Stock
$59.50