Craftsman
Drill/Driver

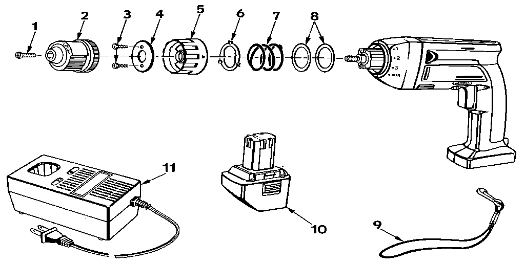
Model #315111890 Official Craftsman cordless drill

Here are the diagrams and repair parts for Craftsman 315111890 cordless drill, as well as links to manuals and error code tables, if available.

There are a couple of ways to find the part or diagram you need:

  • Click a diagram to see the parts shown on that diagram.
  • In the search box below, enter all or part of the part number or the part’s name.

Not all parts are shown on the diagrams—those parts are labeled NI, for “not illustrated”.

We encourage you to save the model to your profile, so it’s easy to access parts and manuals for your appliance whenever you log in.

For DIY troubleshooting advice and repair guides, visit our repair help section.

Showing 10 of 20 parts

Drill Chuck Screw#1

Unit parts Diagram

Drill chuck screw

Part #616478-003

The manufacturer no longer makes this part, and there's no substitute part

Chuck#2

Unit parts Diagram

Chuck

Part #968868-003

The manufacturer no longer makes this part, and there's no substitute part

Housing Assembly#1

Housing assembly Diagram

Housing assembly

Part #970863-002

The manufacturer no longer makes this part, and there's no substitute part

Plate#6

Housing assembly Diagram

Plate

Part #970356-000

The manufacturer no longer makes this part, and there's no substitute part

Switch#3

Housing assembly Diagram

Switch

Part #970862-000

The manufacturer no longer makes this part, and there's no substitute part

Strap#9

Unit parts Diagram

Strap

Part #967216-003

The manufacturer no longer makes this part, and there's no substitute part

Charger#11

Unit parts Diagram

Charger

Part #9-11083

The manufacturer no longer makes this part, and there's no substitute part

Screw#5

Housing assembly Diagram

Screw

Part #970861-000

The manufacturer no longer makes this part, and there's no substitute part

Clutch Ring#6

Unit parts Diagram

Clutch ring

Part #970835-000

The manufacturer no longer makes this part, and there's no substitute part

Washer#4

Unit parts Diagram

Washer

Part #970833-000

The manufacturer no longer makes this part, and there's no substitute part