Craftsman
Water Pump

Model #39028501 Official Craftsman high capacity submersible pump

Here are the diagrams and repair parts for Craftsman 39028501 high capacity submersible pump, as well as links to manuals and error code tables, if available.

There are a couple of ways to find the part or diagram you need:

  • Click a diagram to see the parts shown on that diagram.
  • In the search box below, enter all or part of the part number or the part’s name.

Not all parts are shown on the diagrams—those parts are labeled NI, for “not illustrated”.

We encourage you to save the model to your profile, so it’s easy to access parts and manuals for your appliance whenever you log in.

For DIY troubleshooting advice and repair guides, visit our repair help section.

Showing 10 of 76 parts

Pump Control Box Assembly

#NI

All parts Diagram

Control box

Part #P217-271
Replaced by #VIP4C02-07B
?
Manufacturer substitution
This part replaces P217-271. Substitute parts can look different from the original.
In Stock
$339.39 | 
$10.00 OFF 
Phone Price: $349.39
Pipe Nipple#18

Submersible pump Diagram

Pipe nipple

Part #U37-17GP
This item is not returnable
In Stock
$6.98
Control#20

Submersible pump Diagram

Control

Part #E238-2
In Stock
$68.79
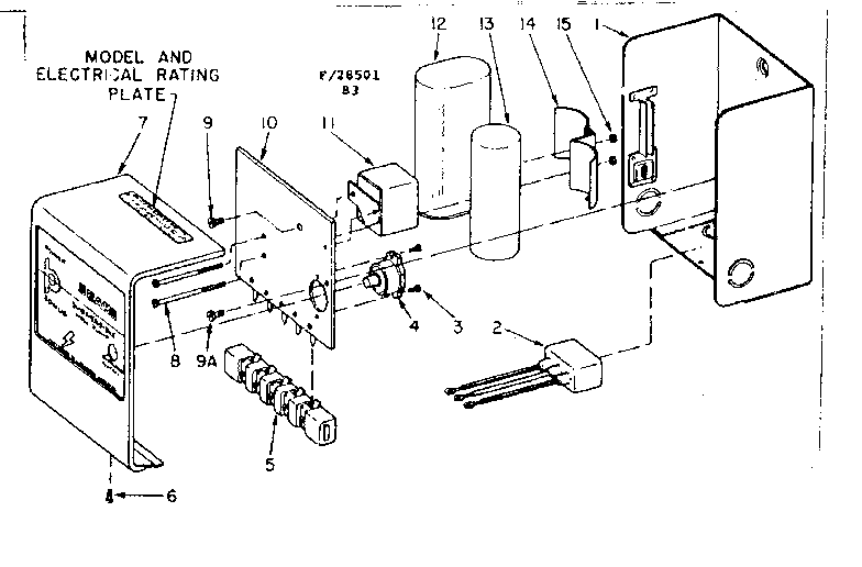
Panel#3

Control box Diagram

Panel

Part #P17-57
In Stock
$32.27
Set Screw#9

Control box Diagram

Set screw

Part #U30-388

The manufacturer no longer makes this part, and there's no substitute part

Run Cap#6

Control box Diagram

Run cap

Part #U18-840

The manufacturer no longer makes this part, and there's no substitute part

Pump Pressure Gauge#22

Submersible pump Diagram

Gauge

Part #U239-13
Replaced by #TC104-P2
?
Manufacturer substitution
This part replaces U239-13. Substitute parts can look different from the original.
In Stock
$27.99 | 
15% OFF 
Phone Price: $32.99
Hex Nut#15

Control box Diagram

Hex nut

Part #U36-50C

The manufacturer no longer makes this part, and there's no substitute part

Screw#6

Control box Diagram

Screw

Part #U30-457

The manufacturer no longer makes this part, and there's no substitute part

Motor Kit#3

Submersible pump Diagram

Nut

Part #U36-41SS
Replaced by #B76087
?
Manufacturer substitution
This part replaces U36-41SS. Substitute parts can look different from the original.
In Stock
$53.74