Amana
Air Handler

Model #CCA36FDC/P1203911C Official Amana air handler coil

Here are the diagrams and repair parts for Amana CCA36FDC-P1203911C air handler coil, as well as links to manuals and error code tables, if available.

There are a couple of ways to find the part or diagram you need:

  • Click a diagram to see the parts shown on that diagram.
  • In the search box below, enter all or part of the part number or the part’s name.

Not all parts are shown on the diagrams—those parts are labeled NI, for “not illustrated”.

We encourage you to save the model to your profile, so it’s easy to access parts and manuals for your appliance whenever you log in.

For DIY troubleshooting advice and repair guides, visit our repair help section.

Showing 10 of 99 parts

Screw#14

Cabinet assembly (cca18fcc/p1203901c) (cca24fcc/p1203902c) (cca30fcc/p1203903c) (cca30fdc/p1203910c) (cca36fcc/p1203904c) (cca36fdc/p1203911c) (cca42fcc/p1203905c) (cca42fdc/p1203912c) (cca48fcc/p1203906c) (cca48fdc/p1203913c) (cca54fcc/p1203907c) (cca57f Diagram

Screw

Part #M0211016
Replaced by #M0211016
?
Manufacturer substitution
This part replaces M0211016. Substitute parts can look different from the original.
This item is not returnable
In Stock
$3.40
Refrigerator Screw

See All Related Diagrams

Screw

Part #M0211017
Replaced by #67006425
?
Manufacturer substitution
This part replaces M0211017. Substitute parts can look different from the original.
This item is not returnable
In Stock
$4.39 | 
19% OFF 
Phone Price: $5.39
Appliance Cable Tie

See All Related Diagrams

Tie

Part #M0321202
Replaced by #WPW10339879
?
Manufacturer substitution
This part replaces M0321202. Substitute parts can look different from the original.
This item is not returnable
In Stock
$4.37 | 
19% OFF 
Phone Price: $5.37
FLANGE-DUCT#15

Cabinet assembly (cca18fcc/p1203901c) (cca24fcc/p1203902c) (cca30fcc/p1203903c) (cca30fdc/p1203910c) (cca36fcc/p1203904c) (cca36fdc/p1203911c) (cca42fcc/p1203905c) (cca42fdc/p1203912c) (cca48fcc/p1203906c) (cca48fdc/p1203913c) (cca54fcc/p1203907c) (cca57f Diagram

Flange-duct

Part #10801106

The manufacturer no longer makes this part, and there's no substitute part

PLUG-CAP#2

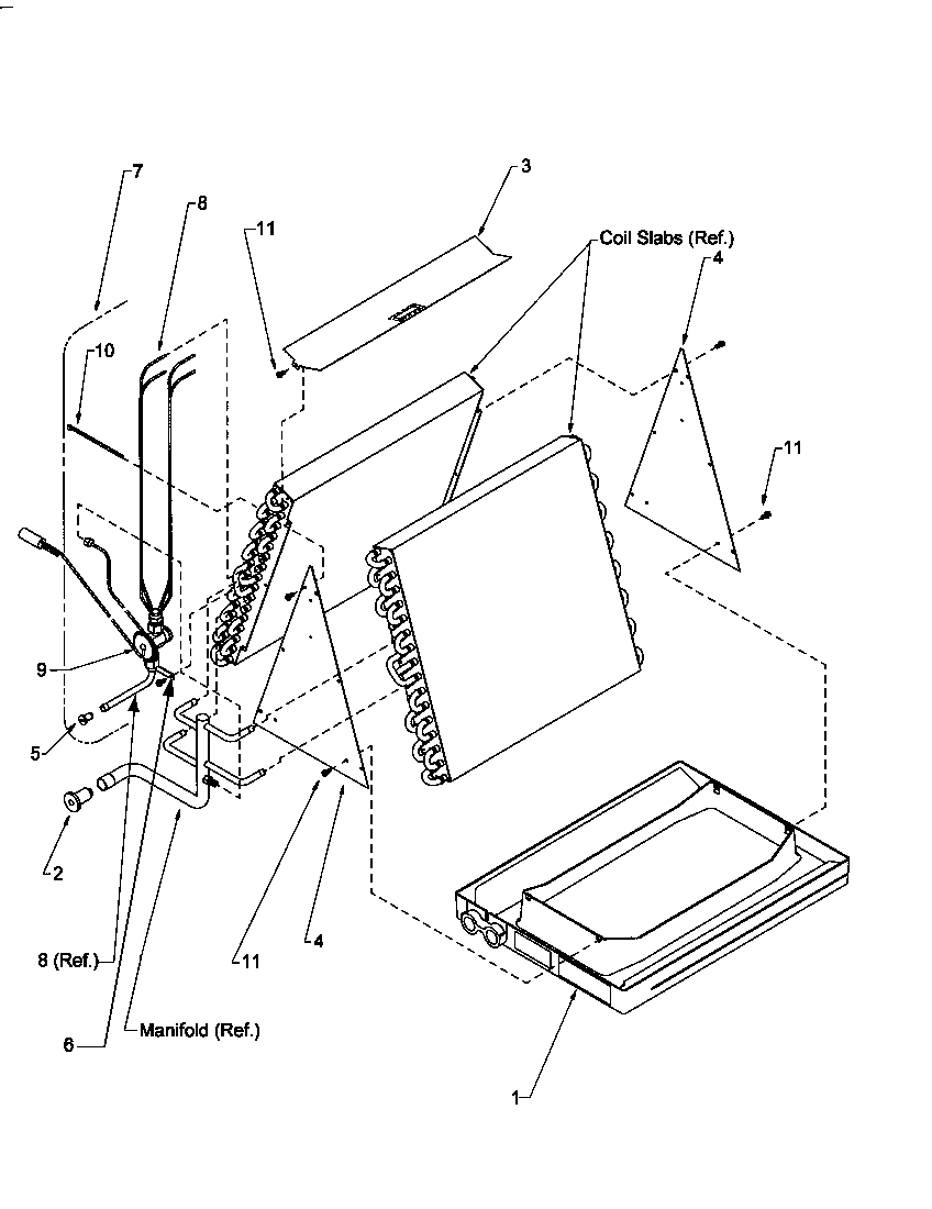
"a" coil assembly ~ models with flow control valves (cca18fcc/p1203901c) (cca18fsc/p1204001c) (cca24fcc/p1203902c) (cca24fsc/p1204002c) (cca30fcc/p1203903c) (cca30fdc/p1203910c) (cca30fsc/p1204003c) (cca36fcc/p1203904c) (cca36fdc/p1203911c) (cca36fsc/p120 Diagram

Plug-cap

Part #M0326807

The manufacturer no longer makes this part, and there's no substitute part

PLATE-END#4

"a" coil assembly ~ models with flow control valves (cca18fcc/p1203901c) (cca18fsc/p1204001c) (cca24fcc/p1203902c) (cca24fsc/p1204002c) (cca30fcc/p1203903c) (cca30fdc/p1203910c) (cca30fsc/p1204003c) (cca36fcc/p1203904c) (cca36fdc/p1203911c) (cca36fsc/p120 Diagram

Plate-end

Part #10615201

The manufacturer no longer makes this part, and there's no substitute part

DISTRIBUTOR ASSEMBLY (INCLUDES ITEMS 8 & 13)#7

"a" coil assembly ~ models with flow control valves (cca18fcc/p1203901c) (cca18fsc/p1204001c) (cca24fcc/p1203902c) (cca24fsc/p1204002c) (cca30fcc/p1203903c) (cca30fdc/p1203910c) (cca30fsc/p1204003c) (cca36fcc/p1203904c) (cca36fdc/p1203911c) (cca36fsc/p120 Diagram

Distributor assembly (includes items 8 & 13)

Part #11076203

The manufacturer no longer makes this part, and there's no substitute part

CABINET DOOR ASSY#6

Cabinet assembly (cca18fcc/p1203901c) (cca24fcc/p1203902c) (cca30fcc/p1203903c) (cca30fdc/p1203910c) (cca36fcc/p1203904c) (cca36fdc/p1203911c) (cca42fcc/p1203905c) (cca42fdc/p1203912c) (cca48fcc/p1203906c) (cca48fdc/p1203913c) (cca54fcc/p1203907c) (cca57f Diagram

Cabinet door assy

Part #11081402

The manufacturer no longer makes this part, and there's no substitute part

Pop Rivet#12

Cabinet assembly (cca18fcc/p1203901c) (cca24fcc/p1203902c) (cca30fcc/p1203903c) (cca30fdc/p1203910c) (cca36fcc/p1203904c) (cca36fdc/p1203911c) (cca42fcc/p1203905c) (cca42fdc/p1203912c) (cca48fcc/p1203906c) (cca48fdc/p1203913c) (cca54fcc/p1203907c) (cca57f Diagram

Pop rivet

Part #A4539611

The manufacturer no longer makes this part, and there's no substitute part

INSULATION-CABINET#1

Cabinet assembly (cca18fcc/p1203901c) (cca24fcc/p1203902c) (cca30fcc/p1203903c) (cca30fdc/p1203910c) (cca36fcc/p1203904c) (cca36fdc/p1203911c) (cca42fcc/p1203905c) (cca42fdc/p1203912c) (cca48fcc/p1203906c) (cca48fdc/p1203913c) (cca54fcc/p1203907c) (cca57f Diagram

Insulation-cabinet

Part #11080111

The manufacturer no longer makes this part, and there's no substitute part

Articles and videos common to all air handlers

August 5, 2022

Introducing new technical repair content that we’re developing for the Sears Technical Institute

By Lyle Weischwill

Learn about Sears Technical Institute and the advanced technical content being developed for aspiring appliance techs.