KitchenAid
Electric Range

Model #KEMS377XWH1 Official KitchenAid electric range

Here are the diagrams and repair parts for KitchenAid KEMS377XWH1 electric range, as well as links to manuals and error code tables, if available.

There are a couple of ways to find the part or diagram you need:

  • Click a diagram to see the parts shown on that diagram.
  • In the search box below, enter all or part of the part number or the part’s name.

Not all parts are shown on the diagrams—those parts are labeled NI, for “not illustrated”.

We encourage you to save the model to your profile, so it’s easy to access parts and manuals for your appliance whenever you log in.

For DIY troubleshooting advice and repair guides, visit our repair help section.

Error Codes

Showing 10 of 330 parts

Appliance Light Bulb, 40-watt (replaces 40A15-2PK, 60A, 60A15RVL, STD398091, WR02X12328, WX12X1510)#12

Oven Diagram

Light bulb

Part #311255
Replaced by #40A15
?
Manufacturer substitution
This part replaces 311255. Substitute parts can look different from the original.
BEST SELLER
In Stock
$7.52 | 
12% OFF 
Phone Price: $8.52
Appliance Touch-Up Paint, 0.6-oz (White) (replaces 21020, 72017R, 8006, W10813125, Y058028)

#NI

All parts Diagram

Appliance touch-up paint

Part #72017
Replaced by #72017
?
Manufacturer substitution
This part replaces 72017. Substitute parts can look different from the original.
BEST SELLER
In Stock
$8.29 | 
11% OFF 
Phone Price: $9.29
Range Drip Pan (replaces 8008, WB31M2, WB32K10035, WB32X0106, WB32X5063, WB32X5073)

#NI

All parts Diagram

Touchup al

Part #72107
Replaced by #WB32X106
?
Manufacturer substitution
This part replaces 72107. Substitute parts can look different from the original.
BEST SELLER
In Stock
$17.38 | 
10% OFF 
Phone Price: $19.38
Appliance Touch-Up Paint, 0.6-oz (Black) (replaces 20001009, 72032P, 72032R, W10831982)

#NI

All parts Diagram

Touch-up paint (black)

Part #72032
Replaced by #72032
?
Manufacturer substitution
This part replaces 72032. Substitute parts can look different from the original.
BEST SELLER
This item is not returnable
In Stock
$4.89 | 
38% OFF 
MSRP: $7.90
Dryer Drum Light Bulb (replaces 3395618)#6

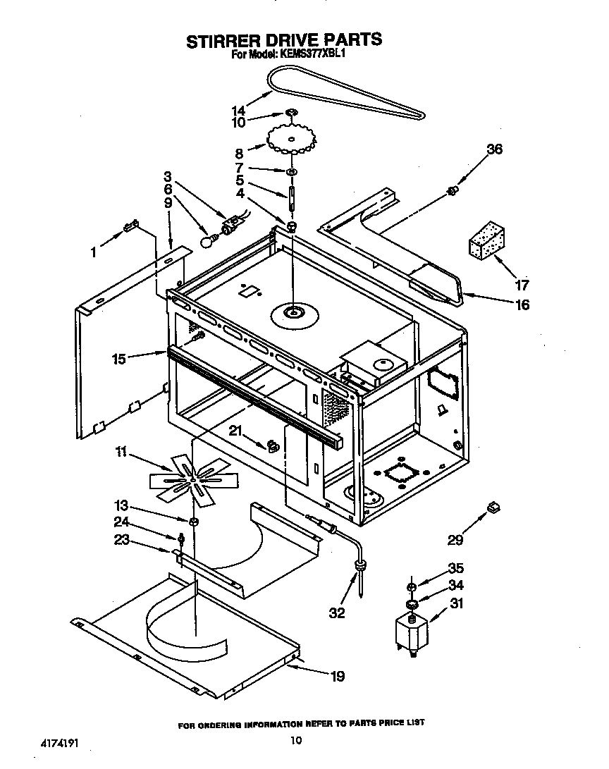
Stirrer drive Diagram

Light bulb

Part #313969
Replaced by #WP3395618
?
Manufacturer substitution
This part replaces 313969. Substitute parts can look different from the original.
BEST SELLER
In Stock
$29.89 | 
14% OFF 
Phone Price: $34.89
Appliance Touch-Up Paint, 0.6-oz (Golden Harvest) (replaces R0197048, Y058029)

#NI

All parts Diagram

Touchup ng

Part #72110
Replaced by #72110
?
Manufacturer substitution
This part replaces 72110. Substitute parts can look different from the original.
This item is not returnable
In Stock
$7.99 | 
11% OFF 
Phone Price: $8.99
Range Bake Element (replaces 661416)#7

Internal convection oven Diagram

Range bake element

Part #661416
Replaced by #WP661416
?
Manufacturer substitution
This part replaces 661416. Substitute parts can look different from the original.
Back Order
$71.90 | 
10% OFF 
Was: $79.89
Range Broil Pan#4

Internal convection oven Diagram

Broiler pan

Part #3147845
Replaced by #4396923
?
Manufacturer substitution
This part replaces 3147845. Substitute parts can look different from the original.
In Stock
$25.33 | 
35% OFF 
MSRP: $39.00
Range Broil Pan#3

Internal convection oven Diagram

Grid pan

Part #3147563
Replaced by #4396923
?
Manufacturer substitution
This part replaces 3147563. Substitute parts can look different from the original.
In Stock
$25.33 | 
35% OFF 
MSRP: $39.00
Appliance Spray Paint (Black) (replaces 10952, 830864)

#NI

All parts Diagram

Spray bl

Part #830864
Replaced by #285006
?
Manufacturer substitution
This part replaces 830864. Substitute parts can look different from the original.
This item is not returnable
In Stock
$28.89 | 
15% OFF 
Phone Price: $33.89

Symptoms common to all ranges

Choose a symptom to see related range repairs.

Main causes: food splatters, spilling food on the oven door, allowing liquid to drip through oven door vent when cleaning the door
Main causes: power supply failure, blown thermal fuse, bad relay control board, damaged terminal block, wiring failure
Main causes: broken oven door lock assembly, wiring failure, electronic control board problem
Main causes: faulty temperature sensor, electronic control board problem, control thermostat failure, weak burner igniter, oven door problem
Main causes: broken broiler element, weak or broken broil burner igniter, control system failure, faulty temperature sensor, wiring failure
Main causes: power supply problem, control thermostat or electronic control board failure, broken element, bad burner igniter
Main causes: bad bake element, broken burner igniter, control system failure, blown thermal fuse, faulty temperature sensor, wiring failure

Repair guides common to all ranges

These step-by-step repair guides will help you safely fix what’s broken on your range.

July 20, 2018
Lyle Weischwill
How to replace a range oven door switch

The oven door switch detects whether the oven door is closed and helps control the oven light. Replace the switch if it doesn’t control the oven light properly.

Repair difficulty
Time required
 30 minutes or less
February 20, 2015
Lyle Weischwill
How to replace a range oven door lock assembly

Oven door not locking? You can replace the lock assembly in less than 30 minutes. Here's how.

Repair difficulty
Time required
 15 minutes or less

Articles and videos common to all ranges

Use the advice and tips in these articles and videos to get the most out of your range.

December 27, 2021

How does a self-cleaning oven work?

Lyle Weischwill

Learn how the self-clean cycle works in an oven.

May 23, 2018

F90 error code troubleshooting for ranges video

Wayne Archer

Troubleshoot the door lock system to find and fix the problem.

May 31, 2016

Oven door won't open: troubleshooting door lock problems on a range video

Lyle R. Weischwill

Troubleshoot and repair problems with your range when your oven door locks shut and you can't get it open.