LG
Washer

Model #WT7600HWA Official LG washer

Here are the diagrams and repair parts for LG WT7600HWA washer, as well as links to manuals and error code tables, if available.

There are a couple of ways to find the part or diagram you need:

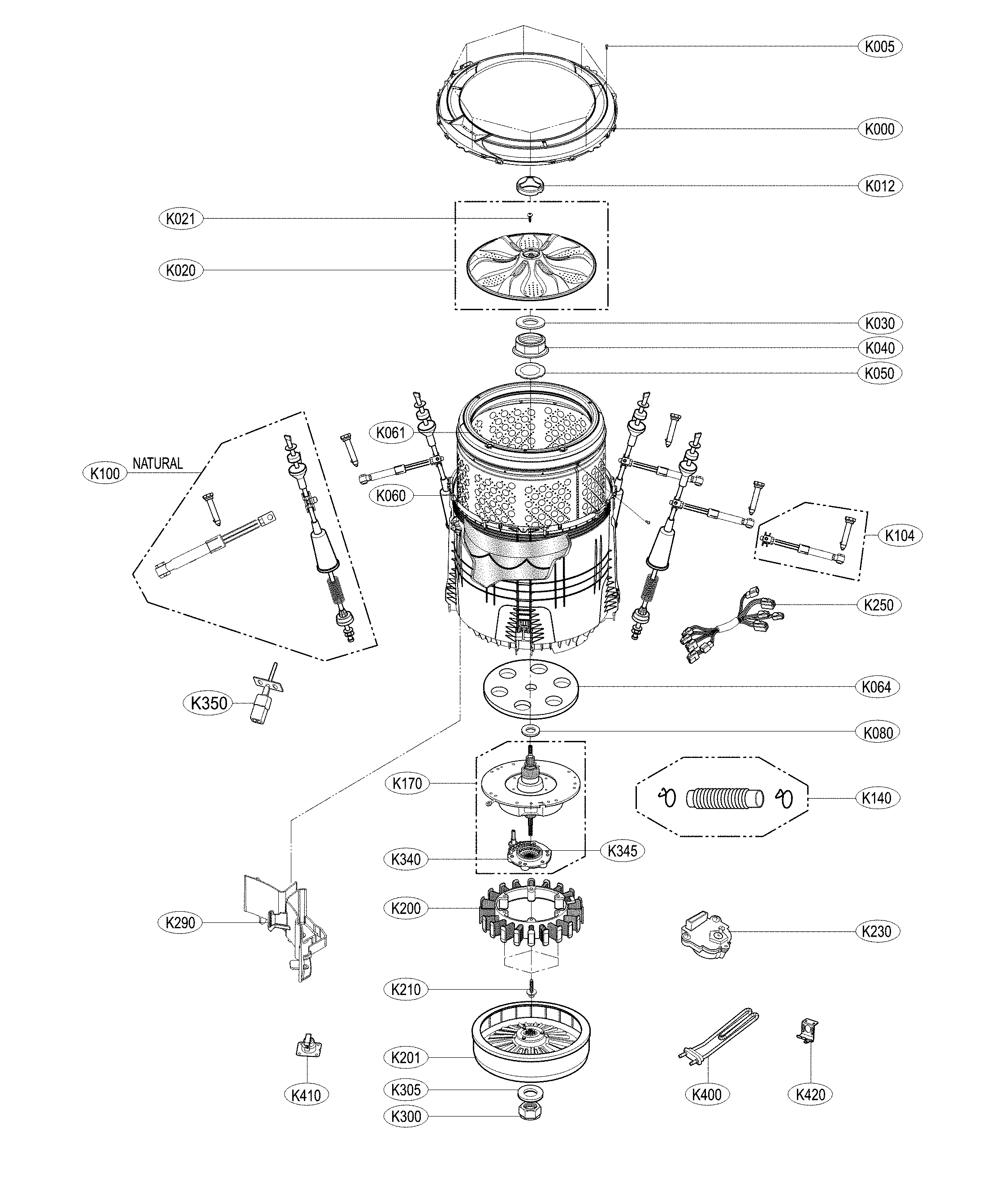
  • Click a diagram to see the parts shown on that diagram.
  • In the search box below, enter all or part of the part number or the part’s name.

Not all parts are shown on the diagrams—those parts are labeled NI, for “not illustrated”.

We encourage you to save the model to your profile, so it’s easy to access parts and manuals for your appliance whenever you log in.

For DIY troubleshooting advice and repair guides, visit our repair help section.

Owner’s manual

Showing 10 of 78 parts

Washer Drive Shaft and Shifter Assembly (replaces AEN73131403)

#K170

All parts Diagram

Washer drive shaft and shifter assembly

Part #AEN73131403
Replaced by #AEN73131406
?
Manufacturer substitution
This part replaces AEN73131403. Substitute parts can look different from the original.
BEST SELLER
In Stock
$146.40 | 
6% OFF 
Phone Price: $156.40
Washer Washplate Cap

#K012

All parts Diagram

Washer washplate cap

Part #MBL65219301
Replaced by #5006EA3009B
?
Manufacturer substitution
This part replaces MBL65219301. Substitute parts can look different from the original.
BEST SELLER
In Stock
$19.08 | 
9% OFF 
Phone Price: $21.08
Washer Shifter Coupling (replaces MCJ61941202)

#K345

All parts Diagram

Washer clutch band

Part #MCJ61941202
Replaced by #MCJ61861201
?
Manufacturer substitution
This part replaces MCJ61941202. Substitute parts can look different from the original.
BEST SELLER
In Stock
$16.22 | 
11% OFF 
Phone Price: $18.22
Washer Drain Pump (replaces AHA74333302)

#F080

All parts Diagram

Washer drain pump assembly

Part #AHA74333302
Replaced by #5859EA1004G
?
Manufacturer substitution
This part replaces AHA74333302. Substitute parts can look different from the original.
BEST SELLER
In Stock
$126.08 | 
7% OFF 
Phone Price: $136.08
Washer Water-Level Pressure Switch

#A200

All parts Diagram

Washer water-level pressure switch

Part #6501EA1001R
BEST SELLER
In Stock
$39.05 | 
11% OFF 
Phone Price: $44.05
Washing Machine Washer

#K030

All parts Diagram

Washing machine washer

Part #FAF30369201
BEST SELLER
In Stock
$12.90 | 
13% OFF 
Phone Price: $14.90
Washer Tub Support

#K064

All parts Diagram

Hub tub

Part #MEL62141601
Replaced by #MEL61841406
?
Manufacturer substitution
This part replaces MEL62141601. Substitute parts can look different from the original.
BEST SELLER
In Stock
$152.07 | 
6% OFF 
Phone Price: $162.07
Washer Motor Stator (replaces AGF77725080)

#K200

All parts Diagram

Washer motor stator (replaces agf77725080)

Part #AJB73816004
BEST SELLER
In Stock
$145.40 | 
6% OFF 
Phone Price: $155.40
Washer Shifter Assembly

#K340

All parts Diagram

Washer drive hub coupling

Part #ACP72929002
Replaced by #4323EA2001C
?
Manufacturer substitution
This part replaces ACP72929002. Substitute parts can look different from the original.
BEST SELLER
In Stock
$24.47 | 
17% OFF 
Phone Price: $29.47
Washer Tub Fill Nozzle

#A157

All parts Diagram

Washer tub fill nozzle

Part #AGB72932401
BEST SELLER
This item is not returnable
In Stock
$8.56 | 
10% OFF 
Phone Price: $9.56

Symptoms common to all washers

Choose a symptom to see related washer repairs.

Main causes: leaky water inlet valve, faulty water-level pressure switch, bad electronic control board
Main causes: lack of electrical power, wiring failure, bad power cord, electronic control board failure, bad user interface board
Main causes: water heater failure, bad water temperature switch, faulty control board, bad water valve, faulty water temperature sensor
Main causes: unbalanced load, loose spanner nut, worn drive block, broken shock absorber or suspension spring, debris in drain pump
Main causes: broken lid switch or lid lock, bad pressure switch, broken shifter assembly, faulty control system
Main causes: clogged drain hose, house drain clogged, bad drain pump, water-level pressure switch failure, bad control board or timer
Main causes: worn agitator dogs, bad clutch, broken motor coupler, shifter assembly failure, broken door lock, suspension component failure
Main causes: no water supply, bad water valves, water-level pressure switch failure, control system failure, bad door lock or lid switch
Main causes: bad lid switch or door lock, bad timer or electronic control board, wiring failure, bad water inlet valve assembly

Articles and videos common to all washers

Use the advice and tips in these articles and videos to get the most out of your washer.

January 3, 2022

Why is my washing machine leaking when not in use?

By Lyle Weischwill

Learn how to fix a washing machine leak

December 30, 2021

How to fix a washing machine

By Lyle Weischwill

Learn how to fix your broken washing machine

April 10, 2020

Cleaning your appliances after a drinking water advisory

By Julie Riebe

Find out how to clean and flush household appliances once a boil water advisory is lifted.