Craftsman
Aerator Attachment

Model #75724150 Official Craftsman aereator attachment

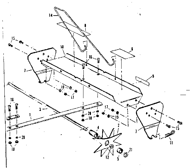
Here are the diagrams and repair parts for Craftsman 75724150 aereator attachment, as well as links to manuals and error code tables, if available.

There are a couple of ways to find the part or diagram you need:

  • Click a diagram to see the parts shown on that diagram.
  • In the search box below, enter all or part of the part number or the part’s name.

Not all parts are shown on the diagrams—those parts are labeled NI, for “not illustrated”.

We encourage you to save the model to your profile, so it’s easy to access parts and manuals for your appliance whenever you log in.

For DIY troubleshooting advice and repair guides, visit our repair help section.

Showing 10 of 22 parts

Bolt#16

Replacement parts Diagram

Bolt

Part #21M1012P

The manufacturer no longer makes this part, and there's no substitute part

Washer#19

Replacement parts Diagram

Washer

Part #40M0800P

The manufacturer no longer makes this part, and there's no substitute part

Nut#18

Replacement parts Diagram

Nut

Part #30M1000P

The manufacturer no longer makes this part, and there's no substitute part

Bolt#15

Replacement parts Diagram

Bolt

Part #1M0808P

The manufacturer no longer makes this part, and there's no substitute part

Washer#20

Replacement parts Diagram

Washer

Part #40M1000P

The manufacturer no longer makes this part, and there's no substitute part

Nut#17

Replacement parts Diagram

Nut

Part #30M0800P

The manufacturer no longer makes this part, and there's no substitute part

Washer#21

Replacement parts Diagram

Washer

Part #45M2121P

The manufacturer no longer makes this part, and there's no substitute part

Pin#11

Replacement parts Diagram

Pin

Part #D-146P

The manufacturer no longer makes this part, and there's no substitute part

Decal#9

Replacement parts Diagram

Decal

Part #B-3228

The manufacturer no longer makes this part, and there's no substitute part

Spacer#4

Replacement parts Diagram

Spacer

Part #B-3022

The manufacturer no longer makes this part, and there's no substitute part