Sony
DVD Player

Model #HBD-T57 Official Sony dvd receiver

Here are the diagrams and repair parts for Sony HBD-T57 dvd receiver, as well as links to manuals and error code tables, if available.

There are a couple of ways to find the part or diagram you need:

  • Click a diagram to see the parts shown on that diagram.
  • In the search box below, enter all or part of the part number or the part’s name.

Not all parts are shown on the diagrams—those parts are labeled NI, for “not illustrated”.

We encourage you to save the model to your profile, so it’s easy to access parts and manuals for your appliance whenever you log in.

For DIY troubleshooting advice and repair guides, visit our repair help section.

Owner’s manual

Showing 10 of 157 parts

Escutcheon#4

Front panel Diagram

Escutcheon

Part #416164761

The manufacturer no longer makes this part, and there's no substitute part

Home Theater System FM Antenna#NI

Front panel Diagram

Home theater system fm antenna

Part #179318441

The manufacturer no longer makes this part, and there's no substitute part

+b3.0x5.0#S3

Mb-134 board Diagram

+b3.0x5.0

Part #768254609

The manufacturer no longer makes this part, and there's no substitute part

Filter,emi#NI

Front panel Diagram

Filter,emi

Part #123493921

The manufacturer no longer makes this part, and there's no substitute part

Device,opt#206

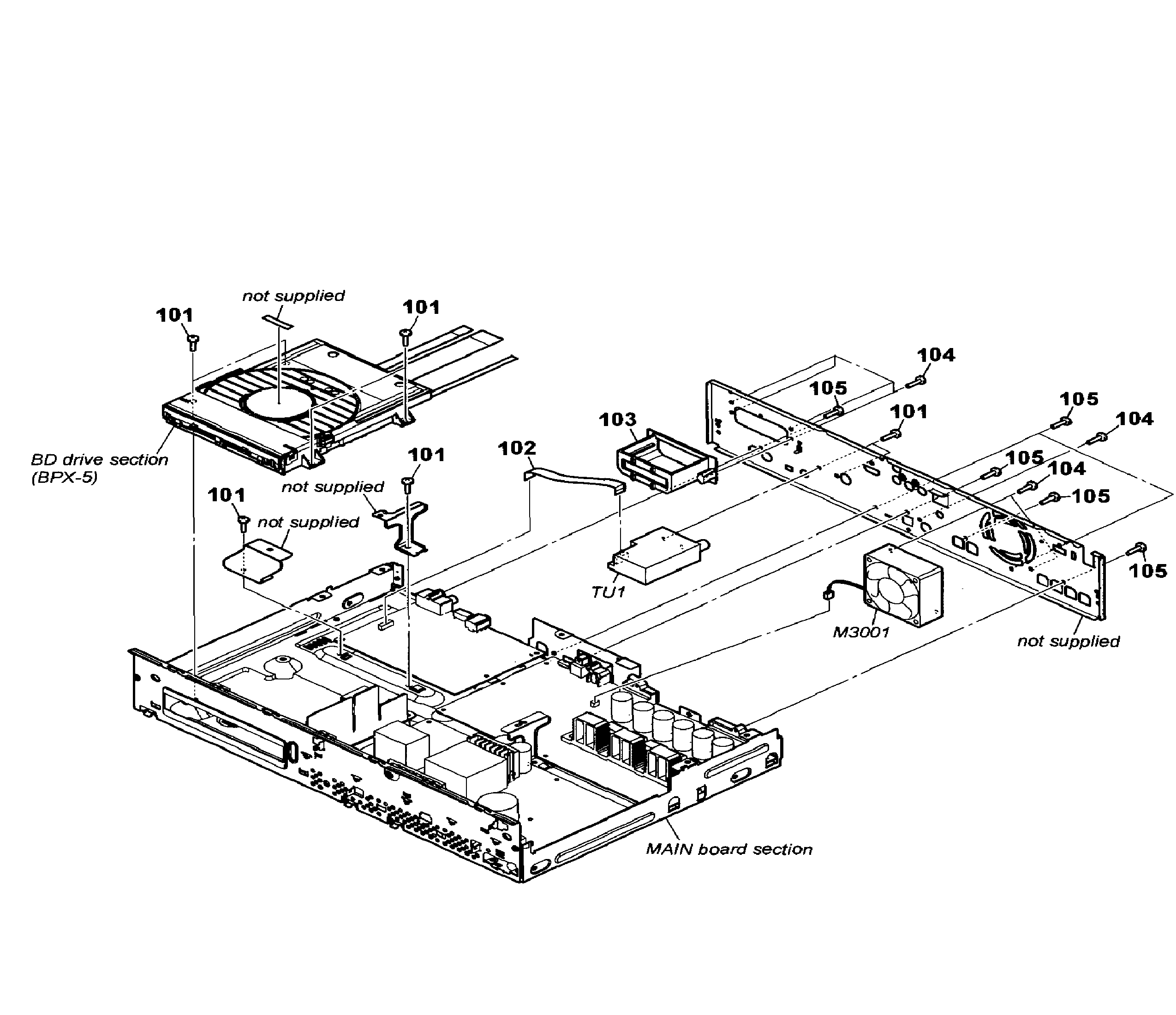
Bd drive Diagram

Device,opt

Part #882043002

The manufacturer no longer makes this part, and there's no substitute part

Wire27core#155

Main board Diagram

Wire27core

Part #182840051

The manufacturer no longer makes this part, and there's no substitute part

Integrated Circuit#NI

Front panel Diagram

Integrated circuit

Part #670785301

The manufacturer no longer makes this part, and there's no substitute part

Resistor#NI

Front panel Diagram

Resistor

Part #121683391

The manufacturer no longer makes this part, and there's no substitute part

Integrated Circuit#NI

Front panel Diagram

Integrated circuit

Part #670993201

The manufacturer no longer makes this part, and there's no substitute part

Diode#NI

Front panel Diagram

Diode

Part #650176001

The manufacturer no longer makes this part, and there's no substitute part