Canon
Digital Camcorder

Model #HV20A Official Canon digital camcorder

Here are the diagrams and repair parts for Canon HV20A digital camcorder, as well as links to manuals and error code tables, if available.

There are a couple of ways to find the part or diagram you need:

  • Click a diagram to see the parts shown on that diagram.
  • In the search box below, enter all or part of the part number or the part’s name.

Not all parts are shown on the diagrams—those parts are labeled NI, for “not illustrated”.

We encourage you to save the model to your profile, so it’s easy to access parts and manuals for your appliance whenever you log in.

For DIY troubleshooting advice and repair guides, visit our repair help section.

Showing 10 of 67 parts

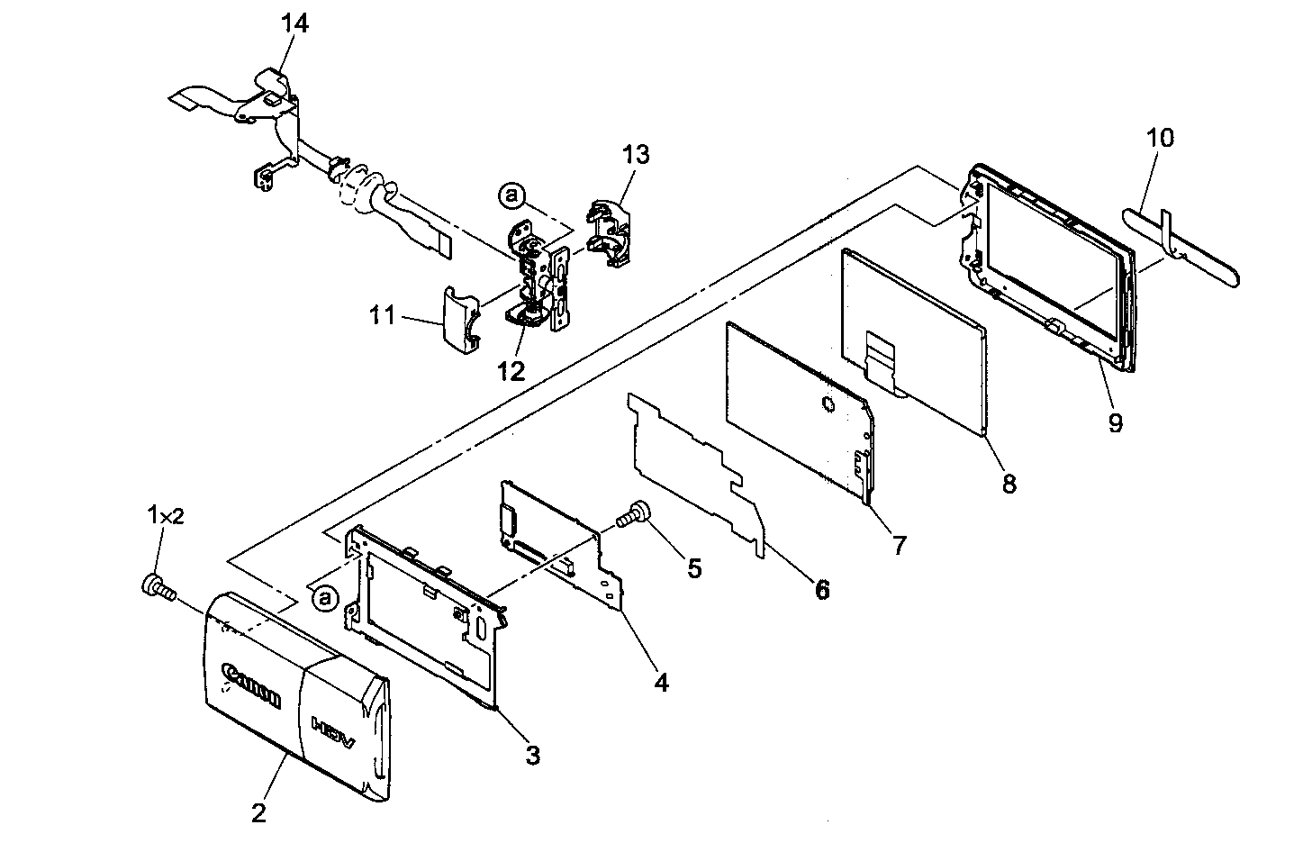
Insulator#6

Lcd unit Diagram

Insulator

Part #DA3-5767-000

The manufacturer no longer makes this part, and there's no substitute part

Card Lid#13

R-lcd unit Diagram

Card lid

Part #DA3-5773-000

The manufacturer no longer makes this part, and there's no substitute part

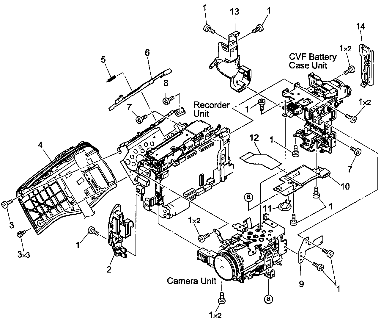
Jack Cover#4

Casing parts 1 Diagram

Jack cover

Part #DA3-5743-000

The manufacturer no longer makes this part, and there's no substitute part

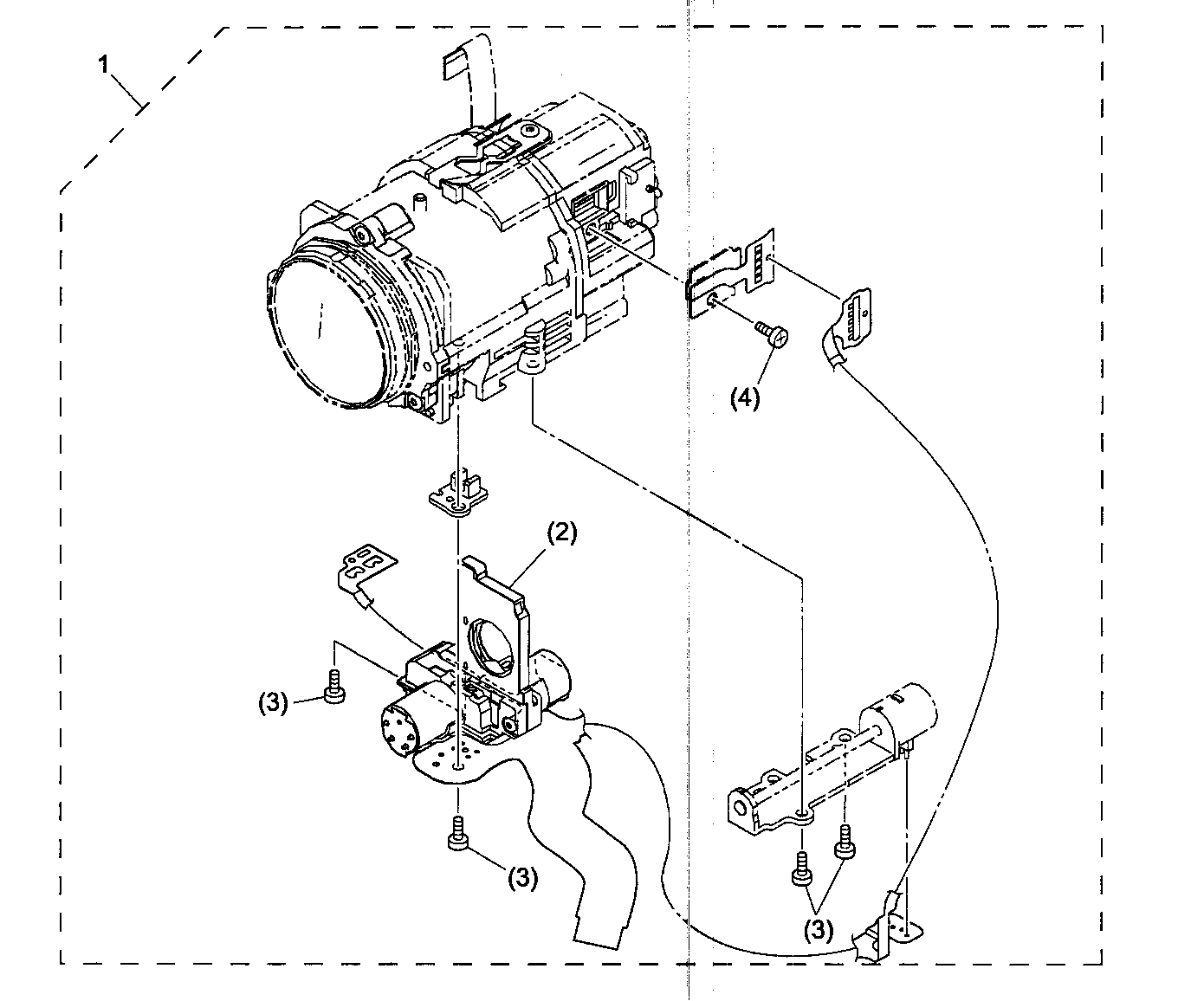
Auto Focus#1

Camera unit Diagram

Auto focus

Part #DY1-9112-000

The manufacturer no longer makes this part, and there's no substitute part

Cover#6

Casing parts 1 Diagram

Cover

Part #DA3-5736-000

The manufacturer no longer makes this part, and there's no substitute part

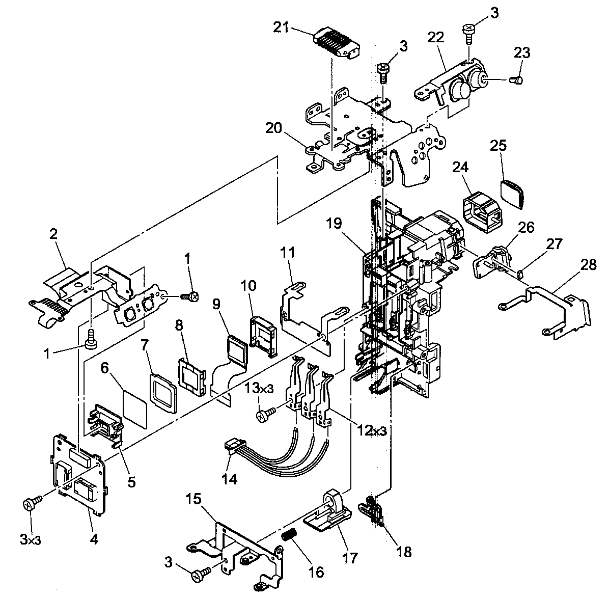
Lcd Camera View Finder#9

Cvf unit Diagram

Lcd camera view finder

Part #WG2-5297-000

The manufacturer no longer makes this part, and there's no substitute part

Lcd Cover#2

Lcd unit Diagram

Lcd cover

Part #DY1-9108-000

The manufacturer no longer makes this part, and there's no substitute part

Pcb,cvf#4

Cvf unit Diagram

Pcb,cvf

Part #DG3-1837-000

The manufacturer no longer makes this part, and there's no substitute part

Lcd Plate#3

Lcd unit Diagram

Lcd plate

Part #DA3-5766-000

The manufacturer no longer makes this part, and there's no substitute part

LCD#8A

Lcd unit Diagram

Lcd

Part #WG2-5301-000

The manufacturer no longer makes this part, and there's no substitute part