Craftsman
Drill Press

Model #11324520 Official Craftsman heavy-duty drill press

Here are the diagrams and repair parts for Craftsman 11324520 heavy-duty drill press, as well as links to manuals and error code tables, if available.

There are a couple of ways to find the part or diagram you need:

  • Click a diagram to see the parts shown on that diagram.
  • In the search box below, enter all or part of the part number or the part’s name.

Not all parts are shown on the diagrams—those parts are labeled NI, for “not illustrated”.

We encourage you to save the model to your profile, so it’s easy to access parts and manuals for your appliance whenever you log in.

For DIY troubleshooting advice and repair guides, visit our repair help section.

Showing 10 of 109 parts

Plain Washer#25

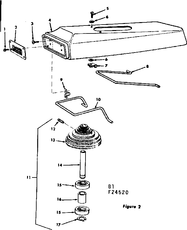
Unit breakdown Diagram

Plain washer

Part #STD551031

The manufacturer no longer makes this part, and there's no substitute part

Power Tool Knob#47

Unit breakdown Diagram

Power tool knob

Part #38546

The manufacturer no longer makes this part, and there's no substitute part

Screw#12

Spindle pulley assembly and guard Diagram

Screw

Part #60227

The manufacturer no longer makes this part, and there's no substitute part

Thumb Screw#63

Unit breakdown Diagram

Thumb screw

Part #60191

The manufacturer no longer makes this part, and there's no substitute part

Screw#8

Unit breakdown Diagram

Screw

Part #STD600605

The manufacturer no longer makes this part, and there's no substitute part

In Ret Ring#17

Spindle pulley assembly and guard Diagram

In ret ring

Part #18414

The manufacturer no longer makes this part, and there's no substitute part

Hex Nut, 3/8-16, 8-pack#9

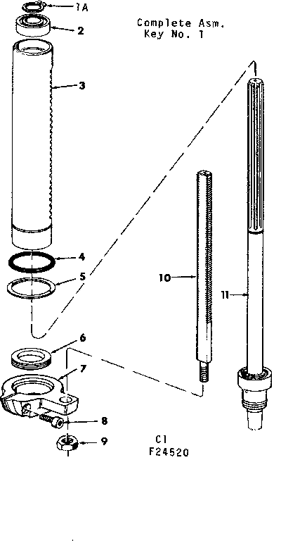
Spindle assembly Diagram

Hex nut, 3/8-16, 8-pack

Part #STD541237

The manufacturer no longer makes this part, and there's no substitute part

Ball Bearing#2

Spindle assembly Diagram

Ball bearing

Part #71127

The manufacturer no longer makes this part, and there's no substitute part

Washer#6

Spindle pulley assembly and guard Diagram

Washer

Part #60158

The manufacturer no longer makes this part, and there's no substitute part

Chuck Key#59

Unit breakdown Diagram

Chuck key

Part #71157

The manufacturer no longer makes this part, and there's no substitute part