ICP
Central Air Conditioner

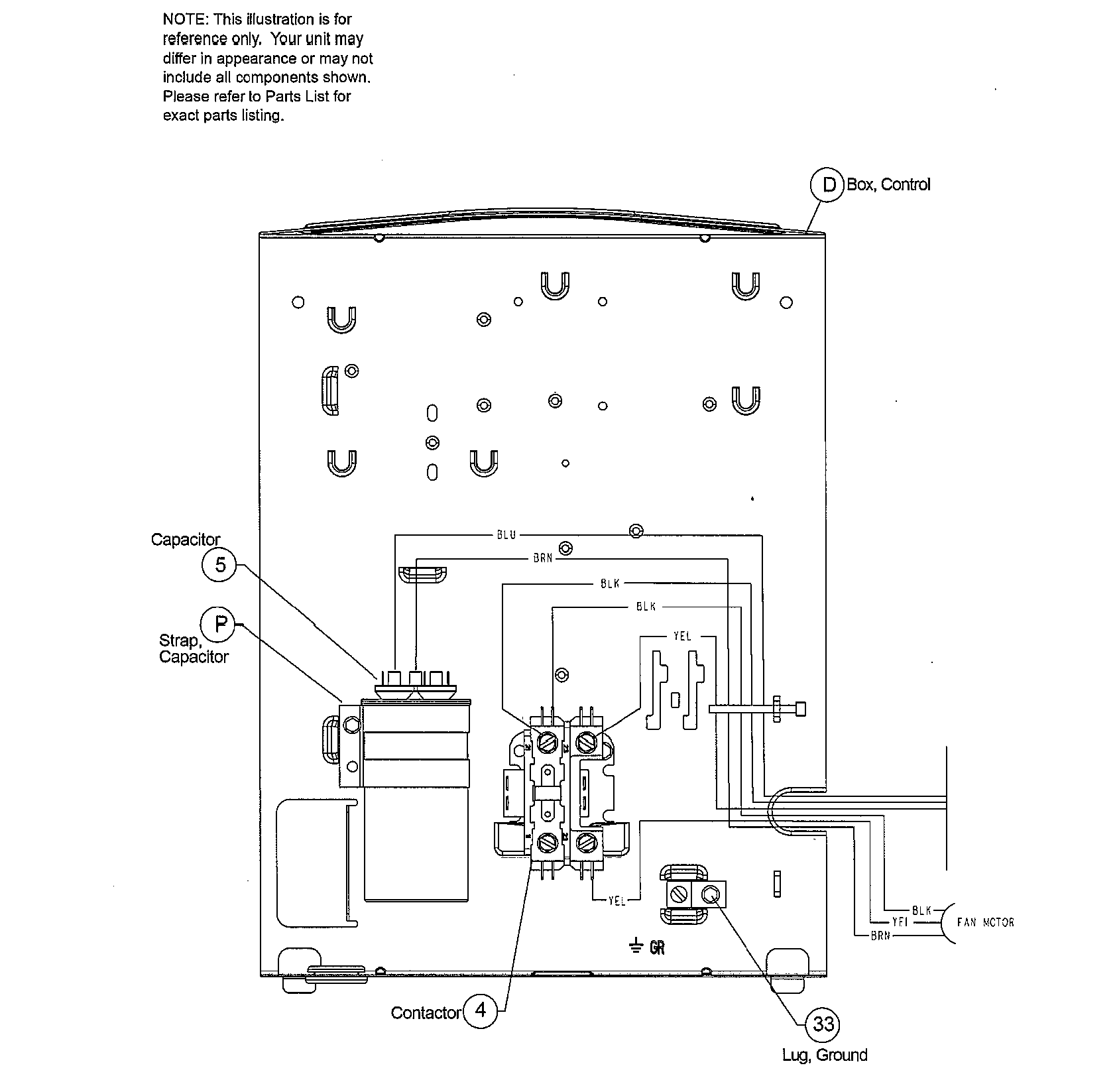
Model #N2A430AKA200 Official ICP air conditioner

Here are the diagrams and repair parts for ICP N2A430AKA200 air conditioner, as well as links to manuals and error code tables, if available.

There are a couple of ways to find the part or diagram you need:

  • Click a diagram to see the parts shown on that diagram.
  • In the search box below, enter all or part of the part number or the part’s name.

Not all parts are shown on the diagrams—those parts are labeled NI, for “not illustrated”.

We encourage you to save the model to your profile, so it’s easy to access parts and manuals for your appliance whenever you log in.

For DIY troubleshooting advice and repair guides, visit our repair help section.

Owner’s manual

Showing 10 of 38 parts

Central Air Conditioner Contactor#4

Control panel Diagram

In Stock
$57.79 | 
8% OFF 
Phone Price: $62.79
Clamp#P

Inner partd Diagram

Clamp

Part #1172734
This item is not returnable
In Stock
$2.37
Bolt#11

Inner partd Diagram

Bolt

Part #1173630
This item is not returnable
In Stock
$2.37
Lug Ground#33

Control panel Diagram

Lug ground

Part #1172300
This item is not returnable
In Stock
$2.34
Svce Panel#F

Outer parts Diagram

Svce panel

Part #1174080
In Stock
$28.12
Drier#NI

Outer parts Diagram

Drier

Part #1172794
In Stock
$33.23
Central Air Conditioner Condenser Fan Motor#2

Outer parts Diagram

In Stock
$210.66 | 
5% OFF 
Phone Price: $220.66
Cap Nut#B

Outer parts Diagram

Cap nut

Part #1172740
This item is not returnable
In Stock
$2.16
Paint#NI

Outer parts Diagram

Paint

Part #1174415
In Stock
$18.92
Grommet#NI

Outer parts Diagram

Grommet

Part #1171737
This item is not returnable
In Stock
$2.16

Articles and videos common to all central air conditioners

November 30, 2022

2023 HVAC regulation changes and how they may affect you

By Lyle Weischwill

Find out how new DOE standards going into effect in 2023 can affect you and what you need to do.

October 24, 2022

Easy DIY appliance repairs that anyone can do

By Lyle Weischwill

Get advice on simple DIY fixes for appliances that you can safely do on your own.

August 5, 2022

Introducing new technical repair content that we’re developing for the Sears Technical Institute

By Lyle Weischwill

Learn about Sears Technical Institute and the advanced technical content being developed for aspiring appliance techs.