Memorex
Televisions with VCR or DVD

Model #MVDT2402 Official Memorex tv/vcr combination

Here are the diagrams and repair parts for Memorex MVDT2402 tv/vcr combination, as well as links to manuals and error code tables, if available.

There are a couple of ways to find the part or diagram you need:

  • Click a diagram to see the parts shown on that diagram.
  • In the search box below, enter all or part of the part number or the part’s name.

Not all parts are shown on the diagrams—those parts are labeled NI, for “not illustrated”.

We encourage you to save the model to your profile, so it’s easy to access parts and manuals for your appliance whenever you log in.

For DIY troubleshooting advice and repair guides, visit our repair help section.

Owner’s manual

Showing 10 of 112 parts

Transistor#NI

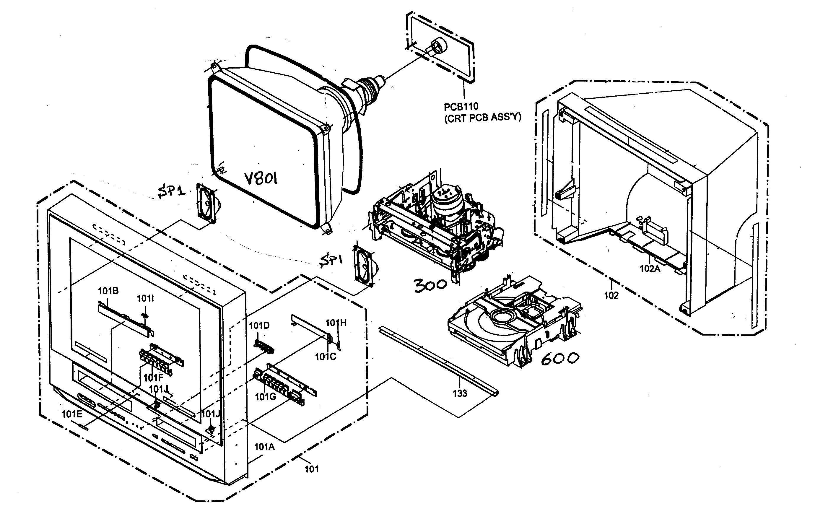
Cabinet parts Diagram

Transistor

Part #TCATC3199Y

The manufacturer no longer makes this part, and there's no substitute part

Tuner#NI

Cabinet parts Diagram

Tuner

Part #0163300005

The manufacturer no longer makes this part, and there's no substitute part

Connector#NI

Cabinet parts Diagram

Connector

Part #069S460089

The manufacturer no longer makes this part, and there's no substitute part

Angle#133

Cabinet parts Diagram

Angle

Part #752WSA0288

The manufacturer no longer makes this part, and there's no substitute part

Micromotor#NI

Cabinet parts Diagram

Micromotor

Part #1589S11020

The manufacturer no longer makes this part, and there's no substitute part

Television VCR Flap#101B

Cabinet parts Diagram

Television vcr flap

Part #712WPJC036

The manufacturer no longer makes this part, and there's no substitute part

Capacitor#NI

Cabinet parts Diagram

Capacitor

Part #P2122B224M

The manufacturer no longer makes this part, and there's no substitute part

Q502,tr 2sk332#NI

Cabinet parts Diagram

Q502,tr 2sk332

Part #T220033260

The manufacturer no longer makes this part, and there's no substitute part

Coil#NI

Cabinet parts Diagram

Coil

Part #028R250014

The manufacturer no longer makes this part, and there's no substitute part

Jack#NI

Cabinet parts Diagram

Jack

Part #060J131016

The manufacturer no longer makes this part, and there's no substitute part