Powerwinch
Boating

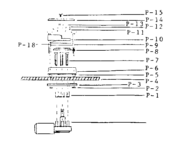
Model #P-250 Official Powerwinch boat winch

Here are the diagrams and repair parts for Powerwinch P-250 boat winch, as well as links to manuals and error code tables, if available.

There are a couple of ways to find the part or diagram you need:

  • Click a diagram to see the parts shown on that diagram.
  • In the search box below, enter all or part of the part number or the part’s name.

Not all parts are shown on the diagrams—those parts are labeled NI, for “not illustrated”.

We encourage you to save the model to your profile, so it’s easy to access parts and manuals for your appliance whenever you log in.

For DIY troubleshooting advice and repair guides, visit our repair help section.

Showing 10 of 25 parts

Hex Nut#14

Power winch Diagram

Hex nut

Part #P-13

The manufacturer no longer makes this part, and there's no substitute part

Nut#3

Power winch Diagram

Nut

Part #P-3

The manufacturer no longer makes this part, and there's no substitute part

Davit

#NI

All parts Diagram

Davit

Part #P-22

The manufacturer no longer makes this part, and there's no substitute part

50ft 1/4 In

#NI

All parts Diagram

50ft 1/4 in

Part #P-45

The manufacturer no longer makes this part, and there's no substitute part

Bu Plate#5

Power winch Diagram

Bu plate

Part #P-4

The manufacturer no longer makes this part, and there's no substitute part

Screw#10

Power winch Diagram

Screw

Part #P-9

The manufacturer no longer makes this part, and there's no substitute part

SWITCH DECAL

#NI

All parts Diagram

Switch decal

Part #P-16D

The manufacturer no longer makes this part, and there's no substitute part

Gasket#6

Power winch Diagram

Gasket

Part #P-5

The manufacturer no longer makes this part, and there's no substitute part

Stripper#17

Power winch Diagram

Stripper

Part #P-18

The manufacturer no longer makes this part, and there's no substitute part

Dr Plate T#12

Power winch Diagram

Dr plate t

Part #P-11

The manufacturer no longer makes this part, and there's no substitute part