GE
Electric Cooktop

Model #JP333L2 Official GE cooktop

Here are the diagrams and repair parts for GE JP333L2 cooktop, as well as links to manuals and error code tables, if available.

There are a couple of ways to find the part or diagram you need:

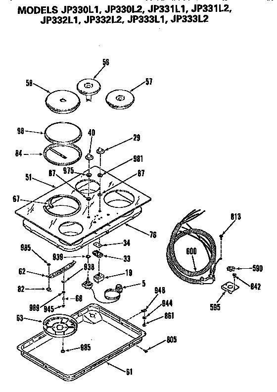
  • Click a diagram to see the parts shown on that diagram.
  • In the search box below, enter all or part of the part number or the part’s name.

Not all parts are shown on the diagrams—those parts are labeled NI, for “not illustrated”.

We encourage you to save the model to your profile, so it’s easy to access parts and manuals for your appliance whenever you log in.

For DIY troubleshooting advice and repair guides, visit our repair help section.

Error Codes

Showing 10 of 70 parts

Condenser Plate

#595

All parts Diagram

Condenser plate

Part #WB2X9867
In Stock
$18.59 | 
10% OFF 
Phone Price: $20.59
Use and Care Guide

Use and care guide

Part #49-8086
In Stock
$17.99
Range Screw

#813

All parts Diagram

Range screw

Part #WB1X1261
In Stock
$7.69 | 
12% OFF 
Phone Price: $8.69
Screw

#842

All parts Diagram

Screw

Part #WB1X1297
This item is not returnable
In Stock
$7.09 | 
12% OFF 
Phone Price: $8.09
Use and Care Guide

#999

All parts Diagram

Use and care guide

Part #49-4958
Replaced by #49-8086
?
Manufacturer substitution
This part replaces 49-4958. Substitute parts can look different from the original.
In Stock
$17.99
Range Solid Surface Element, Large

#57

All parts Diagram

Range solid surface element, large

Part #WB30X260

The manufacturer no longer makes this part, and there's no substitute part

Element

#7

All parts Diagram

Element

Part #WB2X9862

The manufacturer no longer makes this part, and there's no substitute part

Thermostat Knob

#88

All parts Diagram

Thermostat knob

Part #WB3M09

The manufacturer no longer makes this part, and there's no substitute part

Thermostat Knob

#29

All parts Diagram

Thermostat knob

Part #WB3X827

The manufacturer no longer makes this part, and there's no substitute part

Switch

#19

All parts Diagram

Switch

Part #WB23M22

The manufacturer no longer makes this part, and there's no substitute part

Symptoms common to all cooktops

Choose a symptom to see related cooktop repairs.

Main causes: lack of electrical power, gas supply failure, bad pressure regulator, control system failure

Repair guides for electric cooktops

How to replace a coil surface element on an electric cooktop

Easily replace a coil surface element in 15 minutes or less by following these step-by-step instructions.

Repair difficulty
Time required
 15 minutes or less
November 20, 2014
By Lyle Weischwill
How to replace the glass top on an electric cooktop

Don't use a cracked or damage glass cooktop—replace it, using these instructions to guide you.

Repair difficulty
Time required
 30 minutes or less
How to replace a radiant element on an electric cooktop

Follow these step-by-step instructions to replace a damaged radiant element on your electric cooktop when the element won’t heat when it receives voltage from the control.

Repair difficulty
Time required
 45 minutes or less

Articles and videos common to all cooktops

Use the advice and tips in these articles and videos to get the most out of your cooktop.

November 12, 2022

5 Holiday Cleaning Tasks Essential to Boosting Your Home’s Image

By Lyle Weischwill

Get tips on completing essential holiday cleaning tasks to brighten your home.

August 19, 2022

Are DIY appliance repairs safe?

By Lyle Weischwill

Find out how to stay safe when repairing your appliances.

July 9, 2021

How to clean stainless steel appliances video

By Lyle Weischwill

Learn how to keep the stainless-steel appliances in your home clean and shining bright.