Century
Welder

Model #117-084-002 Official Century wire feed welder

Here are the diagrams and repair parts for Century 117-084-002 wire feed welder, as well as links to manuals and error code tables, if available.

There are a couple of ways to find the part or diagram you need:

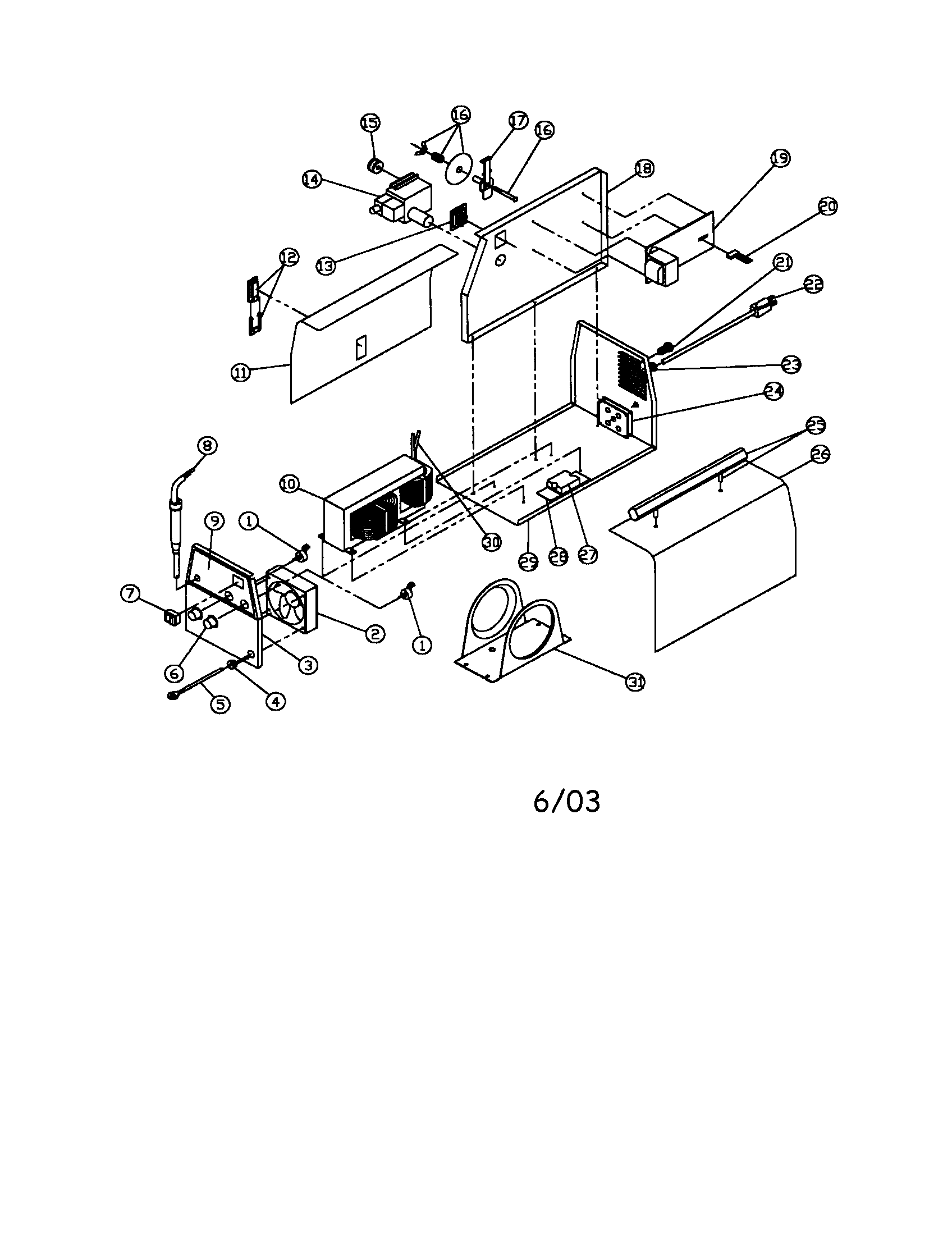
  • Click a diagram to see the parts shown on that diagram.
  • In the search box below, enter all or part of the part number or the part’s name.

Not all parts are shown on the diagrams—those parts are labeled NI, for “not illustrated”.

We encourage you to save the model to your profile, so it’s easy to access parts and manuals for your appliance whenever you log in.

For DIY troubleshooting advice and repair guides, visit our repair help section.

Owner’s manual

Showing 10 of 41 parts

Gun Clamp#15

Wire feed welder Diagram

Gun clamp

Part #310-187-666

The manufacturer no longer makes this part, and there's no substitute part

Reg Adaptor

#NI02

All parts Diagram

Reg adaptor

Part #253-406-666

The manufacturer no longer makes this part, and there's no substitute part

Harness#20

Wire feed welder Diagram

Harness

Part #880-425-000

The manufacturer no longer makes this part, and there's no substitute part

Gas Hose

#NI09

All parts Diagram

Gas hose

Part #059-217-040

The manufacturer no longer makes this part, and there's no substitute part

CENTER PANEL#18

Wire feed welder Diagram

Center panel

Part #410-960-XXX

The manufacturer no longer makes this part, and there's no substitute part

Handle#25

Wire feed welder Diagram

Handle

Part #312-296-666

The manufacturer no longer makes this part, and there's no substitute part

Welder Wire Spindle#17

Wire feed welder Diagram

Welder wire spindle

Part #312-076-666

The manufacturer no longer makes this part, and there's no substitute part

Base#29

Wire feed welder Diagram

Base

Part #880-431-000

The manufacturer no longer makes this part, and there's no substitute part

Terminal#13

Wire feed welder Diagram

Terminal

Part #246-414-000

The manufacturer no longer makes this part, and there's no substitute part

Tip .030

#NI04

All parts Diagram

Tip .030

Part #43100

The manufacturer no longer makes this part, and there's no substitute part